TOP
|
特許
|
意匠
|
商標
特許ウォッチ
Twitter
他の特許を見る
公開番号
2025167102
公報種別
公開特許公報(A)
公開日
2025-11-07
出願番号
2024071401
出願日
2024-04-25
発明の名称
自動操船システム及び方法
出願人
ヤマハ発動機株式会社
代理人
弁理士法人新樹グローバル・アイピー
,
個人
主分類
B63H
25/00 20060101AFI20251030BHJP(船舶またはその他の水上浮揚構造物;関連艤装品)
要約
【課題】船舶の船舶推進装置が故障した場合において、船舶推進装置の故障に対して適切な処置を船舶に施すことができる自動操船システム及び方法の提供。
【解決手段】自動操船システム1は、操船コントローラ4と、障害物センサ5とを備える。操船コントローラ4は、船舶10に配置され、船舶推進装置15を制御する。障害物センサ15は、船舶10の周囲の障害物を検知する。操船コントローラ4は、船舶推進装置15のシフト状態を切り替えることができないと判断した場合、障害物センサ15の検知結果に応じて駆動ユニット22を停止させる。
【選択図】図3
特許請求の範囲
【請求項1】
駆動ユニットを含む船舶推進装置を備える船舶の自動操船システムであって、
前記船舶に配置され、前記船舶推進装置を制御するコントローラと、
前記船舶の周囲の障害物を検知する障害物検知部と、
を備え、
前記コントローラは、前記船舶推進装置のシフト状態を切り替えることができないと判断した場合、前記障害物検知部の検知結果に応じて前記駆動ユニットを停止させる、
自動操船システム。
続きを表示(約 1,200 文字)
【請求項2】
前記コントローラは、前記船舶の自動操船の実行中において、前記船舶推進装置の前記シフト状態をシフトオン状態からニュートラル状態に定期的に切り替える、
請求項1に記載の自動操船システム。
【請求項3】
前記コントローラは、前記船舶推進装置の前記シフト状態をシフトオン状態からニュートラル状態に切り替えることができないと判断し、且つ前記障害物検知部の検知結果に基づいて前記障害物があると判断した場合、前記船舶が前記障害物から離れるまで前記駆動ユニットを駆動させる、
請求項1に記載の自動操船システム。
【請求項4】
前記船舶は、アンカーを含むアンカー装置をさらに備え、
前記コントローラは、前記駆動ユニットを停止させた後で、前記アンカー装置を駆動させて前記アンカーを下ろす、
請求項1に記載の自動操船システム。
【請求項5】
内燃機関を含む船舶推進装置を備える船舶の自動操船システムであって、
前記船舶に配置され、前記船舶推進装置を制御するコントローラと、
前記内燃機関の電子スロットルバルブの開度を検出するスロットルセンサと、
前記コントローラからの制御信号に応じて前記内燃機関の前記電子スロットルバルブの開度を調整するアクチュエータと、
を備え、
前記コントローラは、前記スロットルセンサが検出した前記電子スロットルバルブの開度が前記制御信号に対応する前記電子スロットルバルブの開度よりも大きいと判断した場合、前記船舶の船速を制限する、
自動操船システム。
【請求項6】
前記コントローラは、前記船舶推進装置のシフト状態をシフトオン状態とニュートラル状態とに交互に切り替えることで前記船舶の前記船速を制限する、
請求項5に記載の自動操船システム。
【請求項7】
前記コントローラは、前記内燃機関の燃料噴射量を制限することで前記船舶の前記船速を制限する、
請求項5に記載の自動操船システム。
【請求項8】
前記コントローラは、前記内燃機関の点火をカットすることで前記船舶の前記船速を制限する、
請求項5に記載の自動操船システム。
【請求項9】
前記コントローラは、前記船舶の前記船速を制限する際に、前記船舶が辿る目標航路に応じて定められている目標速度となるように前記船舶の前記船速を御限する、
請求項5に記載の自動操船システム。
【請求項10】
駆動ユニットを含む船舶推進装置を備える船舶を自動操船するための方法であって、
前記船舶の周囲の障害物を検知することと、
前記船舶推進装置のシフト状態を切り替えることができないと判断し、且つ前記障害物が前記船舶の周囲にないと判断した場合、前記障害物の検知結果に応じて前記駆動ユニットを停止させること、
を備える、方法。
(【請求項11】以降は省略されています)
発明の詳細な説明
【技術分野】
【0001】
本発明は、自動操船システム及び方法に関する。
続きを表示(約 1,300 文字)
【背景技術】
【0002】
特許文献1には、船舶の自動操船に関する技術が開示されている。
【先行技術文献】
【特許文献】
【0003】
特開昭61-163409号公報
【発明の概要】
【発明が解決しようとする課題】
【0004】
例えば、船舶が無人で自動操船される自動操船システムでは、船舶の船舶推進装置が故障した場合において、船舶推進装置の故障に対して適切な処置を船舶に施すことが望まれる。
【0005】
本開示の目的は、船舶の船舶推進装置が故障した場合において、船舶推進装置の故障に対して適切な処置を船舶に施すことができる自動操船システム及び方法を提供することにある。
【課題を解決するための手段】
【0006】
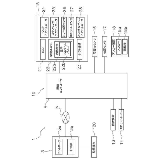
一態様に係る自動操船システムは、駆動ユニットを含む船舶推進装置を備える船舶の自動操船システムである。自動操船システムは、コントローラと、障害物検知部とを備える。コントローラは、船舶に配置され、船舶推進装置を制御する。障害物検知部は、船舶の周囲の障害物を検知する。コントローラは、船舶推進装置のシフト状態を切り替えることができないと判断した場合、障害物検知部の検知結果に応じて駆動ユニットを停止させる。
【0007】
一態様に係る自動操船システムでは、船舶推進装置のシフト状態を切り替えるためのシフト機構が固着などの原因で故障した場合に、障害物検知部の検知結果に応じて駆動ユニットを停止させる。これにより、船舶の船舶推進装置のシフト機構が故障した場合において、シフト機構の故障に対して適切な処置を船舶に施すことができる。
【0008】
他の態様に係る自動操船システムは、内燃機関を含む船舶推進装置を備える船舶の自動操船システムである。自動操船システムは、コントローラと、スロットルセンサと、アクチュエータとを備える。コントローラは、船舶に配置され、船舶推進装置を制御する。スロットルセンサは、内燃機関の電子スロットルバルブの開度を検出する。アクチュエータは、コントローラからの制御信号に応じて内燃機関の電子スロットルバルブの開度を調整する。コントローラは、スロットルセンサが検出した電子スロットルバルブの開度が制御信号に対応する電子スロットルバルブの開度よりも大きいと判断した場合、船舶の船速を制限する。
【0009】
他の態様に係る自動操船システムでは、電子スロットルバルブの開度をコントローラからの制御信号に応じた開度に調整できない場合に、コントローラは、船舶の船速を制限する。これにより、例えば、アクチュエータが故障した場合において、適切な処置を船舶に施すことができる。
【0010】
他の態様に係る駆動ユニットを含む船舶推進装置を備える船舶を自動操船するための方法は、船舶の周囲の障害物を検知することと、船舶推進装置のシフト状態を切り替えることができないと判断し、且つ障害物が船舶の周囲にないと判断した場合、障害物の検知結果に応じて駆動ユニットを停止させることを備える。
(【0011】以降は省略されています)
この特許をJ-PlatPat(特許庁公式サイト)で参照する
関連特許
ヤマハ発動機株式会社
リーン車両
1か月前
ヤマハ発動機株式会社
鞍乗型車両
23日前
ヤマハ発動機株式会社
鞍乗型車両
23日前
ヤマハ発動機株式会社
生産システム
26日前
ヤマハ発動機株式会社
ワーク搭載装置
23日前
ヤマハ発動機株式会社
ワーク計測装置
10日前
ヤマハ発動機株式会社
テープフィーダ
26日前
ヤマハ発動機株式会社
自動操船システム及び方法
23日前
ヤマハ発動機株式会社
ノズル収容構造体および部品実装機
10日前
ヤマハ発動機株式会社
船舶を制御するためのシステム及び方法
10日前
ヤマハ発動機株式会社
駆動ユニットおよび電動アシスト自転車
1か月前
ヤマハ発動機株式会社
基板の生産システム、及び画像解析装置
2日前
ヤマハ発動機株式会社
船舶を制御するためのシステムおよび方法
23日前
ヤマハ発動機株式会社
船舶を遠隔操船するためのシステム及び方法
23日前
ヤマハ発動機株式会社
操船システム、操船システムの制御方法及び船舶
2日前
ヤマハ発動機株式会社
テープ回収装置および同装置を備えた部品実装装置
1か月前
ヤマハ発動機株式会社
オペレータ検出システム
18日前
エンシュウコネクティッド株式会社
タップ加工装置およびタップ工具のチッピング検出用コンピュータプログラム
10日前
ヤマハ発動機株式会社
真空浸炭処理が施された歯車、真空浸炭処理が施された歯車を有するエンジンユニット、及び真空浸炭処理が施された歯車を有する鞍乗型車両
1か月前
個人
水上遊具
6か月前
個人
洋上研究所
4か月前
個人
補助機構
8か月前
個人
津波防災ウエア
3か月前
個人
船用横揺防止具
9か月前
個人
コンパクトシティ船
8か月前
個人
渦流動力推進構造
8か月前
石田造船株式会社
内航船
23日前
個人
セールのバテンガイド装置
4か月前
個人
水質浄化・集熱昇温システム
5か月前
炎重工株式会社
浮標
10か月前
炎重工株式会社
浮標
10か月前
住友重機械工業株式会社
船舶
5か月前
株式会社フルトン
水中捕捉装置
8か月前
個人
船舶
10か月前
株式会社ラフティ
サーフボード
5か月前
個人
スクリュープロペラ
8か月前
続きを見る
他の特許を見る