TOP
|
特許
|
意匠
|
商標
特許ウォッチ
Twitter
他の特許を見る
10個以上の画像は省略されています。
公開番号
2025158456
公報種別
公開特許公報(A)
公開日
2025-10-17
出願番号
2024061013
出願日
2024-04-04
発明の名称
無段変速機、及び無段変速機を備える鞍乗型車両
出願人
ヤマハ発動機株式会社
代理人
弁理士法人新樹グローバル・アイピー
,
個人
主分類
F16H
9/18 20060101AFI20251009BHJP(機械要素または単位;機械または装置の効果的機能を生じ維持するための一般的手段)
要約
【課題】可動シーブの位置を簡単な構成で検出できる無段変速機の提供。
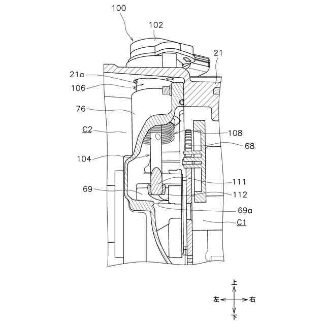
【解決手段】無段変速機15は、回転軸22と、可動シーブ57と、位置検出機構100とを備える。可動シーブ57は、回転軸22の軸方向に移動可能に回転軸22に支持される。位置検出機構100は、可動シーブ57の移動に応じて回転するシャフト104と、シャフト104の回転角を検出する回転センサ102とを含む。位置検出機構100は、回転センサ102が検出するシャフト104の回転角に基づいて可動シーブ57の位置を検出する。
【選択図】図8
特許請求の範囲
【請求項1】
電子制御式の無段変速機であって、
回転軸と、
前記回転軸の軸方向に移動可能に前記回転軸に支持される可動シーブと、
前記可動シーブの移動に応じて回転するシャフトと、前記シャフトの回転角を検出する回転センサとを含み、前記回転センサが検出する前記シャフトの回転角に基づいて前記可動シーブの位置を検出する位置検出機構と、
を備える、無段変速機。
続きを表示(約 1,100 文字)
【請求項2】
前記シャフトは、前記可動シーブの前記軸方向の直線運動を前記シャフトの回転運動に変換するカムを含む、
請求項1に記載の無段変速機。
【請求項3】
前記可動シーブを前記軸方向に移動させるシーブ駆動機構をさらに備え、
前記可動シーブは、前記軸方向に延びるボス部を含み、
前記シーブ駆動機構は、前記ボス部に回転可能かつ前記軸方向に移動不能に支持される駆動部材を含み、
前記シャフトの前記カムは、前記駆動部材に係止されている、
請求項2に記載の無段変速機。
【請求項4】
前記位置検出機構は、前記シャフトの回転方向の一方に向けて前記シャフトを付勢する付勢部材をさらに含む、
請求項1に記載の無段変速機。
【請求項5】
前記回転軸が収容されるケースをさらに備え、
前記位置検出機構は、前記シャフトを支持する支持部材をさらに含み、
前記ケースは、前記無段変速機が車両に搭載された状態における鉛直方向を上下方向とした場合に上方に向かって開口し、前記支持部材が配置される開口を含む、
請求項1に記載の無段変速機。
【請求項6】
前記シャフトは、第1端と、前記第1端よりも下方に位置する第2端とを含み、前記第1端において前記支持部材に片持ち支持されている、
請求項5に記載の無段変速機。
【請求項7】
前記支持部材は、前記シャフトの前記第1端に配置されるブッシュを含み、
前記ブッシュは、前記シャフトに沿って延びている、
請求項6に記載の無段変速機。
【請求項8】
前記位置検出機構は、前記シャフトの回転方向の一方に向けて前記シャフトを付勢するトーションばねと、前記シャフトを支持する支持部材とをさらに含み、
前記トーションばねは、直線状に延び前記支持部材に連結される第1直線部と、直線状に延び前記シャフトに連結される第2直線部とを含み、
前記第2直線部は、前記トーションばねの中心軸線方向から見て、前記第1直線部と同じ方向に向かって延びるとともに、前記第1直線部と同一直線上に配置されている、
請求項1に記載の無段変速機。
【請求項9】
前記トーションばねは、前記第2直線部に隣接するフック部をさらに含み、
前記フック部は、フック状に形成され、前記シャフトの外周面に係合する、
請求項8に記載の無段変速機。
【請求項10】
請求項1から9のいずれか1項に記載の無段変速機を備える、鞍乗型車両。
発明の詳細な説明
【技術分野】
【0001】
本発明は、無段変速機、及び無段変速機を備える鞍乗型車両に関する。
続きを表示(約 1,200 文字)
【背景技術】
【0002】
従来、電動アクチュエータを用いて可動シーブを移動させる無段変速機が知られている。特許文献1の無段変速機は、可動シーブの軸方向位置を検出する非接触式の位置検出センサを備えている。
【先行技術文献】
【特許文献】
【0003】
特開2018-066434号公報
【発明の概要】
【発明が解決しようとする課題】
【0004】
特許文献1の位置検出センサは、永久磁石の磁界に基づいて可動シーブの軸方向位置を検出するように構成されており、位置検出センサの構造が複雑になっている。
【0005】
本発明の目的は、可動シーブの位置を簡単な構成で検出できる無段変速機を提供することにある。
【課題を解決するための手段】
【0006】
本発明の一態様に係る無段変速機は、回転軸と、可動シーブと、位置検出機構とを備える。可動シーブは、回転軸の軸方向に移動可能に回転軸に支持される。位置検出機構は、可動シーブの移動に応じて回転するシャフトと、シャフトの回転角を検出する回転センサとを含む。位置検出機構は、回転センサが検出するシャフトの回転角に基づいて可動シーブの位置を検出する。
【0007】
本態様に係る無段変速機では、回転センサが検出するシャフトの回転角に基づいて可動シーブの位置を検出するので、可動シーブの位置を検出する位置検出機構を簡単な構成で実現できる。その結果、可動シーブの位置を簡単な構成で検出できる無段変速機を提供することができる。また、シャフトは、可動シーブの移動に応じて回転するように構成されるので、可動シーブが支持される回転軸に近い位置にシャフトを配置することが可能となり、位置検出機構による可動シーブの位置検出精度の向上が期待できる。
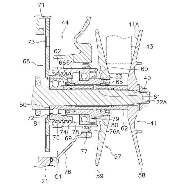
【0008】
シャフトは、可動シーブの軸方向の直線運動をシャフトの回転運動に変換するカムを含んでもよい。この場合は、カムを用いることによって、さらに簡単かつ安価な構成で位置検出機構を実現できる。
【0009】
無段変速機は、可動シーブを前記軸方向に移動させるシーブ駆動機構をさらに備えてもよい。可動シーブは、軸方向に延びるボス部を含んでもよい。シーブ駆動機構は、ボス部に回転可能かつ軸方向に移動不能に支持される駆動部材を含んでもよい。シャフトのカムは、駆動部材に係止されてもよい。この場合は、回転軸に近い位置に配置される駆動部材にカムが係止されるので、可動シーブの位置検出精度の向上が期待できる。
【0010】
位置検出機構は、シャフトの回転方向の一方に向けてシャフトを付勢する付勢部材をさらに含んでもよい。この場合は、簡単かつ安価な構成で位置検出機構を実現できる。
(【0011】以降は省略されています)
この特許をJ-PlatPat(特許庁公式サイト)で参照する
関連特許
ヤマハ発動機株式会社
鞍乗型車両
1か月前
ヤマハ発動機株式会社
鞍乗型車両
1か月前
ヤマハ発動機株式会社
船舶推進機
1か月前
ヤマハ発動機株式会社
船舶推進機
1か月前
ヤマハ発動機株式会社
船舶推進機
1か月前
ヤマハ発動機株式会社
船舶推進機
1か月前
ヤマハ発動機株式会社
船舶推進機
1か月前
ヤマハ発動機株式会社
リーン車両
1か月前
ヤマハ発動機株式会社
鞍乗型車両
1か月前
ヤマハ発動機株式会社
生産システム
1か月前
ヤマハ発動機株式会社
ワーク計測装置
18日前
ヤマハ発動機株式会社
テープフィーダ
1か月前
ヤマハ発動機株式会社
ワーク搭載装置
1か月前
ヤマハ発動機株式会社
自動操船システム及び方法
1か月前
ヤマハ発動機株式会社
挿抜装置および部品実装システム
3日前
ヤマハ発動機株式会社
部品実装装置およびテープフィーダ
4日前
ヤマハ発動機株式会社
ノズル収容構造体および部品実装機
18日前
ヤマハ発動機株式会社
船舶を制御するためのシステム及び方法
18日前
ヤマハ発動機株式会社
駆動ユニットおよび電動アシスト自転車
1か月前
ヤマハ発動機株式会社
基板の生産システム、及び画像解析装置
10日前
ヤマハ発動機株式会社
船舶を制御するためのシステムおよび方法
1か月前
ヤマハ発動機株式会社
船舶を遠隔操船するためのシステム及び方法
1か月前
ヤマハ発動機株式会社
印刷機、表面実装機及び基板の反り測定方法
3日前
ヤマハ発動機株式会社
操船システム、操船システムの制御方法及び船舶
10日前
ヤマハ発動機株式会社
テープ回収装置および同装置を備えた部品実装装置
1か月前
ヤマハ発動機株式会社
無段変速機、及び、無段変速機を有する鞍乗型車両
1か月前
ヤマハ発動機株式会社
無段変速機、及び、無段変速機を有する鞍乗型車両
1か月前
ヤマハ発動機株式会社
駆動システム、電動車椅子、制御方法およびコンピュータプログラム
5日前
ヤマハ発動機株式会社
オペレータ検出システム
26日前
ヤマハ発動機株式会社
ワーク面取得装置、ワーク面取得方法、ワーク面取得プログラムおよび記録媒体
5日前
エンシュウコネクティッド株式会社
タップ加工装置およびタップ工具のチッピング検出用コンピュータプログラム
18日前
ヤマハ発動機株式会社
真空浸炭処理が施された歯車、真空浸炭処理が施された歯車を有するエンジンユニット、及び真空浸炭処理が施された歯車を有する鞍乗型車両
1か月前
個人
留め具
1か月前
個人
鍋虫ねじ
3か月前
個人
紛体用仕切弁
3か月前
個人
ホース保持具
7か月前
続きを見る
他の特許を見る