TOP
|
特許
|
意匠
|
商標
特許ウォッチ
Twitter
他の特許を見る
10個以上の画像は省略されています。
公開番号
2025147206
公報種別
公開特許公報(A)
公開日
2025-10-06
出願番号
2025132018,2021202510
出願日
2025-08-07,2021-12-14
発明の名称
支持部材配置決定装置、支持部材配置決定方法、支持部材配置決定プログラムおよび記録媒体
出願人
ヤマハ発動機株式会社
代理人
個人
,
個人
主分類
H05K
13/02 20060101AFI20250926BHJP(他に分類されない電気技術)
要約
【課題】基板の部品実装領域に部品を実装する際に基板に加わる力に抗して基板をしっかりと支持できる支持部材の配置を作業者の負担を要さずに決定可能とする。
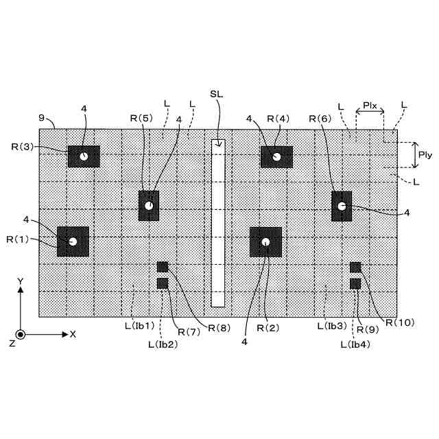
【解決手段】基板9の作業対象面91のうち、部品Eを実装する領域として設けられた部品実装領域Rを示す基板構成情報82が演算部71によって取得される。さらに、作業対象面91が上側を向いた状態で非作業対象面92に下側から当接することで基板9を支持するバックアップピン4の配置が、部品実装領域Rに基づき演算部71により決定される。つまり、基板9の作業対象面91のうち部品Eが実装される予定の部品実装領域Rに基づき、基板9を支持するバックアップピン4の配置が作業者によらず決定される。
【選択図】図5
特許請求の範囲
【請求項1】
第1面と前記第1面と逆側の第2面とを有する基板の前記第1面のうち、部品を実装する領域として設けられた部品実装領域を示す基板構成情報を取得するデータ取得部と、
前記第1面が上側を向いた状態で前記第2面に下側から当接することで前記基板を支持する支持部材の配置を、前記部品実装領域に基づき決定する配置決定部と
を備え、
前記基板構成情報は、前記基板に設けられたスリットあるいは前記基板を分割するための分割ラインを含む境界領域を示し、
前記配置決定部は、前記境界領域に基づき前記第2面を複数の範囲に仮想的に分割し、前記複数の範囲のうちの一の対象範囲に対向する位置で前記第2面に当接する前記支持部材の配置を前記対象範囲内における前記部品実装領域に応じて決定する配置決定処理を、前記複数の範囲のそれぞれについて実行す
る支
持部材配置決定装置。
続きを表示(約 620 文字)
【請求項2】
前記配置決定部は、前記対象範囲内の前記部品実装領域それぞれの位置を代表する代表位置を決定し、前記代表位置に対向する代表支持位置で前記支持部材が前記第2面に当接するように、前記支持部材を配置すると決定する請求項
1
に記載の支持部材配置決定装置。
【請求項3】
前記基板構成情報は、前記部品実装領域に実装予定の前記部品の体積である部品体積を含み、
前記配置決定部は、前記部品実装領域と前記部品体積とに基づき前記代表支持位置を決定する請求項
2
に記載の支持部材配置決定装置。
【請求項4】
前記基板構成情報は、前記部品実装領域に実装予定の前記部品の重量である部品重量を含み、
前記配置決定部は、前記部品実装領域と前記部品重量とに基づき前記代表支持位置を決定する請求項
2
に記載の支持部材配置決定装置。
【請求項5】
前記配置決定部は、二次元的に配列された複数の候補位置を前記第2面に対して設定し、前記候補位置で前記第2面に当接する前記支持部材が、前記代表支持位置で前記第2面に当接する前記支持部材から離間する対象位置を前記複数の候補位置から選択して、前記対象位置で前記第2面に当接するように、前記支持部材を配置すると決定する請求項
2ないし4
のいずれか一項に記載の支持部材配置決定装置。
発明の詳細な説明
【技術分野】
【0001】
この発明は、部品実装機において部品が実装される基板を支持する支持部材の配置を決定する技術に関する。
続きを表示(約 1,800 文字)
【背景技術】
【0002】
従来、フィーダによって供給された部品を実装ヘッドによって基板に移載することで、基板に部品を実装する部品実装機が知られている。このような部品実装機では、基板の下側にバックアップピンが配置され、このバックアップピンが基板を支持する。また、特許文献1、2では、バックアップピンの配置を決定する技術が提案されている。特に特許文献1では、基板の裏面(下面)に実装された部品を避けつつ、バックアップピンの配置が決定される。また、特許文献2では、基板の表面(上面)の画像と裏面(下面)の画像とを重ね合わせた重合画像が表示され、作業者は、この重合画像を確認しつつバックアップピンの位置を指定することで、バックアップピンの配置を決定する。
【先行技術文献】
【特許文献】
【0003】
特開2017-216415号公報
WO2004/103054
【発明の概要】
【発明が解決しようとする課題】
【0004】
ところで、上記のような部品実装機では、実装ヘッドが部品を基板表面の部品実装領域に実装する際に基板に加わる力に抗して基板をしっかりと支持する必要がある。これに対して、特許文献1では、基板裏面に実装された部品を考慮して支持部材の配置を決定するに過ぎないため、この点において改良の余地があった。また、特許文献2では、基板の表面および裏面の両方の画像に基づき支持部材の配置を決定できるため、この点に対応できる一方、作業者が画像を確認しつつ支持部材の配置を決定する必要があり、作業者の負担が大きかった。
【0005】
この発明は上記課題に鑑みなされたものであり、基板の部品実装領域に部品を実装する際に基板に加わる力に抗して基板をしっかりと支持できる支持部材の配置を作業者の負担を要さずに決定可能とすることを目的とする。
【課題を解決するための手段】
【0006】
本発明に係る支持部材配置決定装置は、第1面と第1面と逆側の第2面とを有する基板の第1面のうち、部品を実装する領域として設けられた部品実装領域を示す基板構成情報を取得するデータ取得部と、第1面が上側を向いた状態で第2面に下側から当接することで基板を支持する支持部材の配置を、部品実装領域に基づき決定する配置決定部とを備える。
【0007】
本発明に係る支持部材配置決定方法は、第1面と第1面と逆側の第2面とを有する基板の第1面のうち、部品を実装する領域として設けられた部品実装領域を示す基板構成情報をデータ取得部が取得する工程と、第1面が上側を向いた状態で第2面に下側から当接することで基板を支持する支持部材の配置を、配置決定部が部品実装領域に基づき決定する工程とを備える。
【0008】
本発明に係る支持部材配置決定プログラムは、第1面と第1面と逆側の第2面とを有する基板の第1面のうち、部品を実装する領域として設けられた部品実装領域を示す基板構成情報を取得するデータ取得部と、第1面が上側を向いた状態で第2面に下側から当接することで基板を支持する支持部材の配置を、部品実装領域に基づき決定する配置決定部と
を備える支持部材配置決定装置としてコンピュータを機能させる。
【0009】
本発明に係る記録媒体は、上記の支持部材配置決定部ログラムをコンピュータによって読み出し可能に記録する。
【0010】
このように構成された発明(支持部材配置決定装置、支持部材配置決定方法、支持部材配置決定プログラムおよび記録媒体)では、基板は、第1面と第1面と逆側の第2面とを有する。そして、基板の第1面のうち、部品を実装する領域として設けられた部品実装領域を示す基板構成情報がデータ取得部によって取得される。さらに、第1面が上側を向いた状態で第2面に下側から当接することで基板を支持する支持部材の配置が、部品実装領域に基づき配置決定部により決定される。つまり、基板の第1面のうち部品が実装される予定の部品実装領域に基づき、基板を支持する支持部材の配置が作業者によらず決定される。したがって、基板の部品実装領域に部品を実装する際に基板に加わる力に抗して基板をしっかりと支持できる支持部材の配置を作業者の負担を要さずに決定することが可能となっている。
(【0011】以降は省略されています)
この特許をJ-PlatPat(特許庁公式サイト)で参照する
関連特許
ヤマハ発動機株式会社
鞍乗型車両
1か月前
ヤマハ発動機株式会社
船舶推進機
1か月前
ヤマハ発動機株式会社
船舶推進機
1か月前
ヤマハ発動機株式会社
船舶推進機
1か月前
ヤマハ発動機株式会社
船舶推進機
1か月前
ヤマハ発動機株式会社
鞍乗型車両
26日前
ヤマハ発動機株式会社
鞍乗型車両
26日前
ヤマハ発動機株式会社
船舶推進機
1か月前
ヤマハ発動機株式会社
リーン車両
1か月前
ヤマハ発動機株式会社
生産システム
29日前
ヤマハ発動機株式会社
テープフィーダ
29日前
ヤマハ発動機株式会社
ワーク計測装置
13日前
ヤマハ発動機株式会社
ワーク搭載装置
26日前
ヤマハ発動機株式会社
自動操船システム及び方法
26日前
ヤマハ発動機株式会社
ノズル収容構造体および部品実装機
13日前
ヤマハ発動機株式会社
駆動ユニットおよび電動アシスト自転車
1か月前
三井化学株式会社
ドローン用ブレード
1か月前
ヤマハ発動機株式会社
船舶を制御するためのシステム及び方法
13日前
ヤマハ発動機株式会社
基板の生産システム、及び画像解析装置
5日前
ヤマハ発動機株式会社
船舶を制御するためのシステムおよび方法
26日前
ヤマハ発動機株式会社
船舶を遠隔操船するためのシステム及び方法
26日前
ヤマハ発動機株式会社
操船システム、操船システムの制御方法及び船舶
5日前
ヤマハ発動機株式会社
無段変速機、及び無段変速機を備える鞍乗型車両
1か月前
ヤマハ発動機株式会社
無段変速機、及び無段変速機を備える鞍乗型車両
1か月前
ヤマハ発動機株式会社
テープ回収装置および同装置を備えた部品実装装置
1か月前
ヤマハ発動機株式会社
無段変速機、及び、無段変速機を有する鞍乗型車両
1か月前
ヤマハ発動機株式会社
無段変速機、及び、無段変速機を有する鞍乗型車両
1か月前
ヤマハ発動機株式会社
エンジンユニット、及びエンジンユニットを備える鞍乗型車両
1か月前
ヤマハ発動機株式会社
駆動システム、電動車椅子、制御方法およびコンピュータプログラム
今日
ヤマハ発動機株式会社
オペレータ検出システム
21日前
ヤマハ発動機株式会社
ワーク面取得装置、ワーク面取得方法、ワーク面取得プログラムおよび記録媒体
今日
ヤマハ発動機株式会社
バッテリ制御システム、バッテリパック、小型電動車両、バッテリ制御方法およびコンピュータプログラム
1か月前
エンシュウコネクティッド株式会社
タップ加工装置およびタップ工具のチッピング検出用コンピュータプログラム
13日前
ヤマハ発動機株式会社
真空浸炭処理が施された歯車、真空浸炭処理が施された歯車を有するエンジンユニット、及び真空浸炭処理が施された歯車を有する鞍乗型車両
1か月前
ヤマハ発動機株式会社
支持部材配置決定装置、支持部材配置決定方法、支持部材配置決定プログラムおよび記録媒体
1か月前
個人
電子部品の実装方法
2か月前
続きを見る
他の特許を見る