TOP
|
特許
|
意匠
|
商標
特許ウォッチ
Twitter
他の特許を見る
10個以上の画像は省略されています。
公開番号
2025158457
公報種別
公開特許公報(A)
公開日
2025-10-17
出願番号
2024061014
出願日
2024-04-04
発明の名称
エンジンユニット、及びエンジンユニットを備える鞍乗型車両
出願人
ヤマハ発動機株式会社
代理人
弁理士法人新樹グローバル・アイピー
,
個人
主分類
F16H
9/18 20060101AFI20251009BHJP(機械要素または単位;機械または装置の効果的機能を生じ維持するための一般的手段)
要約
【課題】可動シーブの位置を検出する位置検出機構に接続されるハーネスの接続性の向上。
【解決手段】エンジンユニット8は、クランク軸22と、ケース2と、無段変速機15とを備える。ケース2は、クランク軸22を支持するクランクケース21を含む。無段変速機15は、電子制御式であり、ケース2に収容される。無段変速機15は、クランク軸22の軸方向に移動可能な可動シーブ57と、可動シーブ57の位置を検出する位置検出機構100とを含む。位置検出機構100は、ケース2を貫通するように配置され可動シーブ57の移動に応じて回転するシャフト104と、ケース2の外側に配置されシャフト104の回転角を検出する回転センサ102とを含む。位置検出機構100は、回転センサ102が検出するシャフト104の回転角に基づいて可動シーブ57の位置を検出する。
【選択図】図8
特許請求の範囲
【請求項1】
クランク軸と、
前記クランク軸を支持するクランクケースを含むケースと、
前記ケースに収容される電子制御式の無段変速機と、
を備え、
前記無段変速機は、前記クランク軸の軸方向に移動可能な可動シーブと、前記可動シーブの位置を検出する位置検出機構とを含み、
前記位置検出機構は、前記ケースを貫通するように配置され前記可動シーブの移動に応じて回転するシャフトと、前記ケースの外側に配置され前記シャフトの回転角を検出する回転センサとを含み、前記回転センサが検出する前記シャフトの回転角に基づいて前記可動シーブの位置を検出する、
エンジンユニット。
続きを表示(約 1,000 文字)
【請求項2】
前記ケースは、前記無段変速機のベルトを収容するベルト室を含み、
前記クランクケースは、クランク室を含み、
前記シャフトは、前記ベルト室と前記クランク室とを通るように配置されている、
請求項1に記載のエンジンユニット。
【請求項3】
前記ケースは、前記クランクケース内で前記クランクケースに取り付けられ、前記クランク室と、前記ベルト室とを区画するクランクケースカバーをさらに含み、
前記可動シーブの一部及び前記シャフトは、前記クランクケースカバーの内部に配置されている、
請求項2に記載のエンジンユニット。
【請求項4】
前記シャフトは、前記可動シーブの前記軸方向の直線運動を前記シャフトの回転運動に変換するカムを含む、請求項1に記載のエンジンユニット。
【請求項5】
前記無段変速機は、前記可動シーブを前記軸方向に移動させるシーブ駆動機構をさら含み、
前記可動シーブは、前記軸方向に延びるボス部を含み、
前記シーブ駆動機構は、前記ボス部に回転可能かつ前記軸方向に移動不能に支持される駆動部材を含み、
前記シャフトの前記カムは、前記駆動部材に係止されている、
請求項4に記載のエンジンユニット。
【請求項6】
前記位置検出機構は、前記シャフトの回転方向の一方に向けて前記シャフトを付勢する付勢部材をさらに含む、
請求項1に記載のエンジンユニット。
【請求項7】
前記位置検出機構は、前記シャフトを支持する支持部材をさらに含み、
前記ケースは、前記無段変速機が車両に搭載された状態における鉛直方向を上下方向とした場合に上方に向かって開口し、前記支持部材が配置される開口を含む、
請求項1に記載のエンジンユニット。
【請求項8】
前記シャフトは、第1端と、前記第1端よりも下方に位置する第2端とを含み、前記第1端において前記支持部材に片持ち支持されている、
請求項7に記載のエンジンユニット。
【請求項9】
前記支持部材は、前記シャフトの前記第1端に配置されるブッシュを含み、
前記ブッシュは、前記シャフトに沿って延びている、
請求項8に記載のエンジンユニット。
【請求項10】
請求項1から9のいずれか1項に記載のエンジンユニットを備える、鞍乗型車両。
発明の詳細な説明
【技術分野】
【0001】
本発明は、エンジンユニット、及びエンジンユニットを備える鞍乗型車両に関する。
続きを表示(約 1,400 文字)
【背景技術】
【0002】
従来、電動アクチュエータを用いて可動シーブを移動させる無段変速機が知られている。特許文献1の無段変速機は、可動シーブの軸方向位置を検出する非接触式の位置検出センサを備えている。
【先行技術文献】
【特許文献】
【0003】
特開2018-066434号公報
【発明の概要】
【発明が解決しようとする課題】
【0004】
特許文献1では、可動シーブの軸方向位置を検出する位置検出センサは、エンジンユニットの内部に配置されている。位置検出センサをエンジンユニットの内部に配置した場合、位置検出センサに接続されるハーネスをエンジンユニットの内部から外部に取り出す必要があり、ハーネスの接続性が低下する。
【0005】
発明の課題は、可動シーブの位置を検出する位置検出機構に接続されるハーネスの接続性の向上を図ることにある。
【課題を解決するための手段】
【0006】
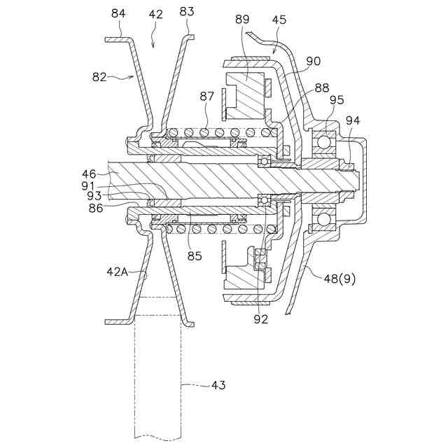
本発明の一態様に係るエンジンユニットは、クランク軸と、ケースと、無段変速機とを備える。ケースは、クランク軸を支持するクランクケースを含む。無段変速機は、電子制御式であり、ケースに収容される。無段変速機は、クランク軸の軸方向に移動可能な可動シーブと、可動シーブの位置を検出する位置検出機構とを含む。位置検出機構は、ケースを貫通するように配置され可動シーブの移動に応じて回転するシャフトと、ケースの外側に配置されシャフトの回転角を検出する回転センサとを含む。位置検出機構は、回転センサが検出するシャフトの回転角に基づいて可動シーブの位置を検出する。
【0007】
本態様に係るエンジンユニットでは、位置検出機構は、ケースを貫通し可動シーブの移動に応じて回転するシャフトの回転角をケースの外側に配置される回転センサで検出することで可動シーブの位置を検出する。これにより。回転センサがケースの内部に配置されている場合と比べて、位置検出機構に接続されるハーネスの接続性の向上を図るこができるとともに、エンジンからの発熱の影響を受けにくくなる。
【0008】
ケースは、無段変速機のベルトを収容するベルト室を含んでもよい。クランクケースは、クランク室を含んでもよい。シャフトは、ベルト室とクランク室とを通るように配置されてもよい。この場合は、クランク軸に近い位置にシャフトを配置することが可能になるので、可動シーブの位置検出精度の向上が期待できる。可動シーブまで最短距離でシャフトを配置することが可能になるので、シャフトの寸法を抑制できる。
【0009】
ケースは、クランクケース内でクランクケースに取り付けられ、クランク室とベルト室とを区画するクランクケースカバーをさらに含んでもよい。可動シーブの一部及びシャフトは、クランクケースカバーの内部に配置されてもよい。この場合は、位置検出機構の一部をクランクケースカバーによって保護することができる。
【0010】
シャフトは、可動シーブの軸方向の直線運動をシャフトの回転運動に変換するカムを含んでもよい。この場合は、カムを用いることによって、さらに簡単かつ安価な構成で位置検出機構を実現できる。
(【0011】以降は省略されています)
この特許をJ-PlatPat(特許庁公式サイト)で参照する
関連特許
ヤマハ発動機株式会社
船舶推進機
1か月前
ヤマハ発動機株式会社
鞍乗型車両
1か月前
ヤマハ発動機株式会社
船舶推進機
1か月前
ヤマハ発動機株式会社
船舶推進機
1か月前
ヤマハ発動機株式会社
リーン車両
1か月前
ヤマハ発動機株式会社
鞍乗型車両
1か月前
ヤマハ発動機株式会社
生産システム
1か月前
ヤマハ発動機株式会社
テープフィーダ
1か月前
ヤマハ発動機株式会社
ワーク搭載装置
1か月前
ヤマハ発動機株式会社
ワーク計測装置
19日前
ヤマハ発動機株式会社
自動操船システム及び方法
1か月前
ヤマハ発動機株式会社
挿抜装置および部品実装システム
4日前
ヤマハ発動機株式会社
ノズル収容構造体および部品実装機
19日前
ヤマハ発動機株式会社
部品実装装置およびテープフィーダ
5日前
ヤマハ発動機株式会社
船舶を制御するためのシステム及び方法
19日前
ヤマハ発動機株式会社
基板の生産システム、及び画像解析装置
11日前
ヤマハ発動機株式会社
駆動ユニットおよび電動アシスト自転車
1か月前
ヤマハ発動機株式会社
船舶を制御するためのシステムおよび方法
1か月前
ヤマハ発動機株式会社
印刷機、表面実装機及び基板の反り測定方法
4日前
ヤマハ発動機株式会社
船舶を遠隔操船するためのシステム及び方法
1か月前
ヤマハ発動機株式会社
操船システム、操船システムの制御方法及び船舶
11日前
ヤマハ発動機株式会社
テープ回収装置および同装置を備えた部品実装装置
1か月前
ヤマハ発動機株式会社
駆動システム、電動車椅子、制御方法およびコンピュータプログラム
6日前
ヤマハ発動機株式会社
オペレータ検出システム
27日前
ヤマハ発動機株式会社
ワーク面取得装置、ワーク面取得方法、ワーク面取得プログラムおよび記録媒体
6日前
エンシュウコネクティッド株式会社
タップ加工装置およびタップ工具のチッピング検出用コンピュータプログラム
19日前
ヤマハ発動機株式会社
真空浸炭処理が施された歯車、真空浸炭処理が施された歯車を有するエンジンユニット、及び真空浸炭処理が施された歯車を有する鞍乗型車両
1か月前
個人
留め具
1か月前
個人
鍋虫ねじ
3か月前
個人
紛体用仕切弁
3か月前
個人
回転伝達機構
4か月前
個人
差動歯車用歯形
5か月前
個人
給排気装置
2か月前
個人
ジョイント
2か月前
株式会社不二工機
電磁弁
5か月前
個人
ナット
2か月前
続きを見る
他の特許を見る