TOP
|
特許
|
意匠
|
商標
特許ウォッチ
Twitter
他の特許を見る
公開番号
2025177762
公報種別
公開特許公報(A)
公開日
2025-12-05
出願番号
2024084842
出願日
2024-05-24
発明の名称
挿抜装置および部品実装システム
出願人
ヤマハ発動機株式会社
代理人
弁理士法人三協国際特許事務所
主分類
H05K
13/02 20060101AFI20251128BHJP(他に分類されない電気技術)
要約
【課題】実装機に対して複数の部品供給部材を適切に挿抜することが可能な挿抜装置、およびそれを備えた部品実装システムを提供する。
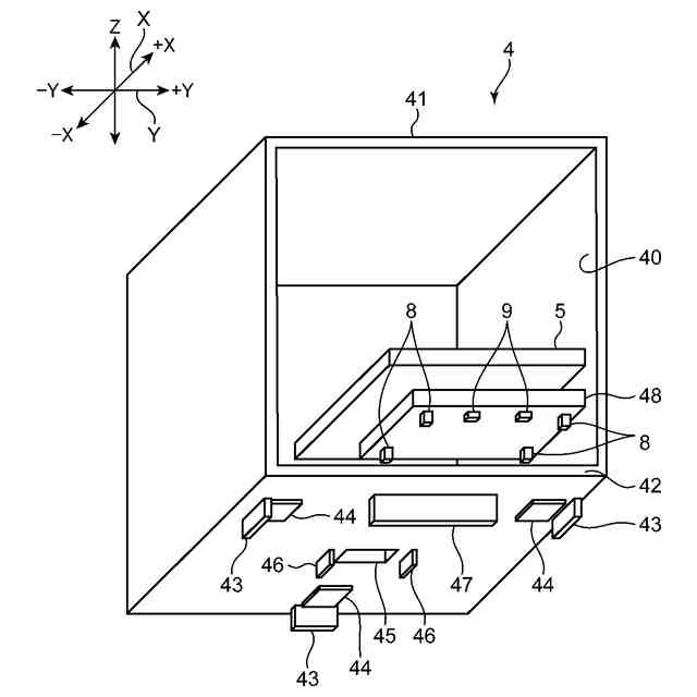
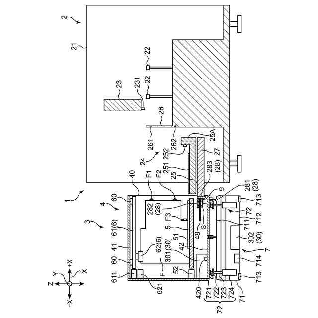
【解決手段】挿抜装置は、フィーダを支持する支持ユニットを有する支持体と、支持体を搬送する搬送体と、実装機に対してフィーダを挿抜する挿抜作業を行う挿抜ユニットと、制御ユニットと、を備える。搬送体は、支持体に下方から当接する複数の当接部と、複数の当接部をそれぞれ独立に昇降させる複数の昇降部と、を含む。制御ユニットは、挿抜準備期間に、姿勢調整制御および距離調整制御の少なくとも一方の制御を行うことが可能に構成される。制御ユニットは、姿勢調整制御では、複数の昇降部により複数の当接部をそれぞれ昇降させることで支持体の姿勢を調整し、距離調整制御では、挿抜ユニットが挿抜作業を行う際のフィーダの移動距離を調整する。
【選択図】図1
特許請求の範囲
【請求項1】
基板に部品を実装する実装機に対して部品供給部材を挿抜する挿抜装置であって、
複数の前記部品供給部材を支持する支持ユニットを有する支持体と、
前記支持体を搬送する搬送体と、
前記搬送体により搬送された前記支持体が前記実装機の側方に配置された状態で、前記支持ユニットと前記実装機との間で前記部品供給部材を移動させることで前記実装機に対して前記部品供給部材を挿抜する挿抜作業を行う挿抜ユニットと、
前記搬送体および前記挿抜ユニットを制御する制御ユニットと、を備え、
前記搬送体は、前記支持体に下方から当接する複数の当接部と、複数の前記当接部をそれぞれ独立に昇降させる複数の昇降部と、を含み、
前記制御ユニットは、
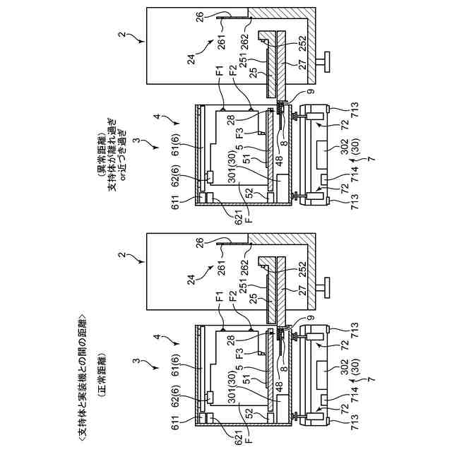
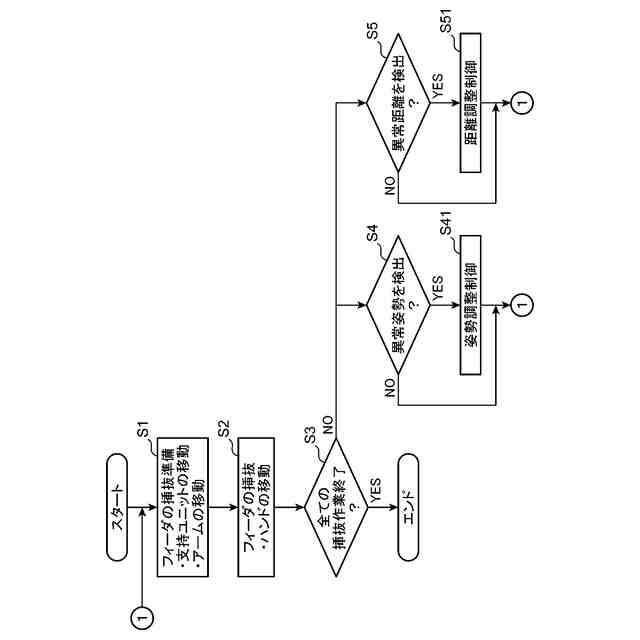
前記実装機に対する前記挿抜ユニットの前記挿抜作業において、一の前記部品供給部材を対象とした前記挿抜作業が終了してから他の前記部品供給部材を対象とした前記挿抜作業が開始されるまでの間の挿抜準備期間に、姿勢調整制御および距離調整制御の少なくとも一方の制御を行うことが可能に構成され、
前記姿勢調整制御では、複数の前記昇降部により複数の前記当接部をそれぞれ昇降させることで、複数の前記当接部が当接した前記支持体の姿勢を調整し、
前記距離調整制御では、前記挿抜ユニットが他の前記部品供給部材の前記挿抜作業を行う際の、他の前記部品供給部材を移動させる移動距離を調整する、挿抜装置。
続きを表示(約 910 文字)
【請求項2】
前記制御ユニットは、前記挿抜準備期間において、前記姿勢調整制御および前記距離調整制御の各々の制御を行う、請求項1に記載の挿抜装置。
【請求項3】
前記支持体の姿勢に関する姿勢指標値を検出する姿勢検出部を更に備え、
前記制御ユニットは、前記姿勢指標値が所定の姿勢許容範囲から外れる場合に前記姿勢調整制御を行う、請求項1に記載の挿抜装置。
【請求項4】
前記姿勢検出部は、前記挿抜ユニットが前記挿抜作業を行うごとに、前記姿勢指標値を検出する、請求項3に記載の挿抜装置。
【請求項5】
前記姿勢検出部は、前記挿抜ユニットが前記挿抜作業を行っている間において連続的に、前記姿勢指標値を検出する、請求項3に記載の挿抜装置。
【請求項6】
前記支持体と前記実装機との間の距離に関する距離指標値を検出する距離検出部を更に備え、
前記制御ユニットは、前記距離指標値が所定の距離許容範囲から外れる場合に前記距離調整制御を行う、請求項1に記載の挿抜装置。
【請求項7】
前記距離検出部は、前記挿抜ユニットが前記挿抜作業を行うごとに、前記距離指標値を検出する、請求項6に記載の挿抜装置。
【請求項8】
前記距離検出部は、前記挿抜ユニットが前記挿抜作業を行っている間において連続的に、前記距離指標値を検出する、請求項6に記載の挿抜装置。
【請求項9】
前記支持体の姿勢に関する姿勢指標値を検出する姿勢検出部と、
前記支持体と前記実装機との間の距離に関する距離指標値を検出する距離検出部と、を更に備え、
前記制御ユニットは、前記姿勢指標値が所定の姿勢許容範囲から外れる場合に前記姿勢調整制御を行い、前記距離指標値が所定の距離許容範囲から外れる場合に前記距離調整制御を行う、請求項1に記載の挿抜装置。
【請求項10】
基板に部品を実装する実装機と、
前記実装機に対して部品供給部材を挿抜する、請求項1~9のいずれか1項に記載の挿抜装置と、を備える、部品実装システム。
発明の詳細な説明
【技術分野】
【0001】
本発明は、実装機に対して部品供給部材を挿抜する挿抜装置、およびそれを備えた部品実装システムに関する。
続きを表示(約 2,100 文字)
【背景技術】
【0002】
実装機は、複数の部品供給部材により供給された部品を基板に実装することで実装基板を生産する。このような実装機では、部品切れ等の生じた部品供給部材が実装機から抜出されることで回収されるとともに、当該抜出に応じて新たな部品供給部材が実装機に挿入されることで補給される。すなわち、実装機では、部品供給部材の抜出と挿入とを含む、部品供給部材の挿抜が行われる。
【0003】
特許文献1には、実装機に備えられた部品供給部材としてのフィーダにキャリアテープを補給するキャリアテープ補給装置が開示されている。キャリアテープ補給装置は、キャリアテープ移送機構を保持する基台と、基台と実装機との位置関係を規制する位置決め部と、を備える。キャリアテープ補給装置は、位置決め部によって実装機に対して位置決めされる。
【先行技術文献】
【特許文献】
【0004】
特開2021-64678号公報
【発明の概要】
【発明が解決しようとする課題】
【0005】
特許文献1に開示されるキャリアテープ補給装置に関する技術を、実装機に対して部品供給部材を挿抜する挿抜装置に適用することを想定する。この場合、挿抜装置は、位置決め部によって実装機に対して位置決めされる。しかし、実装機に対して位置決めされた挿抜装置が複数の部品供給部材の挿抜作業を行う場合、挿抜作業により生じる振動等に起因して、実装機に対する姿勢の変化や位置ずれが発生することがある。この場合、実装機に対して複数の部品供給部材を適切に挿抜することが困難になる。
【0006】
本発明の目的は、実装機に対して複数の部品供給部材を適切に挿抜することが可能な挿抜装置、およびそれを備えた部品実装システムを提供することである。
【課題を解決するための手段】
【0007】
本発明の一の局面に係る挿抜装置は、基板に部品を実装する実装機に対して部品供給部材を挿抜する装置である。この挿抜装置は、複数の前記部品供給部材を支持する支持ユニットを有する支持体と、前記支持体を搬送する搬送体と、前記搬送体により搬送された前記支持体が前記実装機の側方に配置された状態で、前記支持ユニットと前記実装機との間で前記部品供給部材を移動させることで前記実装機に対して前記部品供給部材を挿抜する挿抜作業を行う挿抜ユニットと、前記搬送体および前記挿抜ユニットを制御する制御ユニットと、を備える。前記搬送体は、前記支持体に下方から当接する複数の当接部と、複数の前記当接部をそれぞれ独立に昇降させる複数の昇降部と、を含む。前記制御ユニットは、前記実装機に対する前記挿抜ユニットの前記挿抜作業において、一の前記部品供給部材を対象とした前記挿抜作業が終了してから他の前記部品供給部材を対象とした前記挿抜作業が開始されるまでの間の挿抜準備期間に、姿勢調整制御および距離調整制御の少なくとも一方の制御を行うことが可能に構成される。前記制御ユニットは、前記姿勢調整制御では、複数の前記昇降部により複数の前記当接部をそれぞれ昇降させることで、複数の前記当接部が当接した前記支持体の姿勢を調整し、前記距離調整制御では、前記挿抜ユニットが他の前記部品供給部材の前記挿抜作業を行う際の、他の前記部品供給部材を移動させる移動距離を調整する。
【0008】
この挿抜装置によれば、搬送体により搬送された支持体が実装機の側方に配置された状態で、挿抜ユニットが支持ユニットと実装機との間で部品供給部材を移動させることで、実装機に対して複数の部品供給部材を挿抜することができる。この際、制御ユニットは、複数の部品供給部材を対象とした挿抜ユニットの挿抜作業ごとの挿抜準備期間に、姿勢調整制御および距離調整制御の少なくとも一方の制御を行うことが可能に構成される。
【0009】
制御ユニットは、姿勢調整制御において、支持体の姿勢を調整する。これにより、一の部品供給部材を対象とした挿抜ユニットの挿抜作業の終了後に、支持体の姿勢が正常姿勢から変化した異常姿勢となっていたとしても、他の部品供給部材を対象とした挿抜作業の開始前に、支持体の姿勢を正常姿勢に調整することができる。このため、挿抜ユニットは、実装機に対して複数の部品供給部材を適切に挿抜することができる。
【0010】
また、制御ユニットは、距離調整制御において、挿抜ユニットの挿抜作業における部品供給部材の移動距離を調整する。これにより、一の部品供給部材を対象とした挿抜ユニットの挿抜作業の終了後に、実装機に対する支持体の位置ずれが生じて支持体と実装機との間の距離が正常距離から変化した異常距離となっていたとしても、他の部品供給部材を対象とした挿抜作業の開始前に、他の部品供給部材の挿抜時の移動距離を調整することができる。このため、挿抜ユニットは、実装機に対して複数の部品供給部材を適切に挿抜することができる。
(【0011】以降は省略されています)
この特許をJ-PlatPat(特許庁公式サイト)で参照する
関連特許
ヤマハ発動機株式会社
ワーク搭載装置
1か月前
ヤマハ発動機株式会社
ワーク計測装置
17日前
ヤマハ発動機株式会社
挿抜装置および部品実装システム
2日前
ヤマハ発動機株式会社
部品実装装置およびテープフィーダ
3日前
ヤマハ発動機株式会社
ノズル収容構造体および部品実装機
17日前
ヤマハ発動機株式会社
基板の生産システム、及び画像解析装置
9日前
ヤマハ発動機株式会社
船舶を制御するためのシステム及び方法
17日前
ヤマハ発動機株式会社
印刷機、表面実装機及び基板の反り測定方法
2日前
ヤマハ発動機株式会社
操船システム、操船システムの制御方法及び船舶
9日前
ヤマハ発動機株式会社
駆動システム、電動車椅子、制御方法およびコンピュータプログラム
4日前
ヤマハ発動機株式会社
オペレータ検出システム
25日前
ヤマハ発動機株式会社
ワーク面取得装置、ワーク面取得方法、ワーク面取得プログラムおよび記録媒体
4日前
エンシュウコネクティッド株式会社
タップ加工装置およびタップ工具のチッピング検出用コンピュータプログラム
17日前
個人
電子部品の実装方法
2か月前
愛知電機株式会社
装柱金具
1か月前
個人
電気式バーナー
1か月前
日星電気株式会社
面状ヒータ
23日前
イビデン株式会社
配線基板
2か月前
個人
静電気中和除去装置
1か月前
株式会社デンソー
電子装置
9日前
株式会社レクザム
剥離装置
1か月前
株式会社デンソー
電子装置
1か月前
株式会社デンソー
電子装置
2か月前
FDK株式会社
基板
2か月前
シャープ株式会社
加熱機器
1か月前
サクサ株式会社
開き角度規制構造
1か月前
株式会社レゾナック
冷却装置
2か月前
富士フイルム株式会社
積層体
2か月前
オムロン株式会社
端子折り曲げ治具
2か月前
日産自動車株式会社
電子機器
17日前
日本精機株式会社
車両表示装置用回路基板
2日前
株式会社デンソー
電子制御装置
1か月前
TDK株式会社
接合構造
9日前
豊田合成株式会社
制御ユニット
9日前
富士電子工業株式会社
誘導加熱コイル
2か月前
富士電子工業株式会社
誘導加熱コイル
2か月前
続きを見る
他の特許を見る