TOP
|
特許
|
意匠
|
商標
特許ウォッチ
Twitter
他の特許を見る
10個以上の画像は省略されています。
公開番号
2025176572
公報種別
公開特許公報(A)
公開日
2025-12-04
出願番号
2024082816
出願日
2024-05-21
発明の名称
部品実装装置およびテープフィーダ
出願人
ヤマハ発動機株式会社
代理人
弁理士法人三協国際特許事務所
主分類
H05K
13/02 20060101AFI20251127BHJP(他に分類されない電気技術)
要約
【課題】部品実装装置の省電力化を図ることが可能となる。
【解決手段】部品実装装置は、テープフィーダ5aと、実装ヘッド7と、フィーダ5aによるテープ送り出し動作の制御用パラメータ情報D21を記憶する記憶装置55と、実装シーケンス情報D13および制御用パラメータ情報D21に基づきフィーダ5aのテープ送り出し動作を制御する部品供給制御部52と、実装シーケンス情報D13に基づき、フィーダ5aによるテープ送り出し動作に関して時間的余裕がある動作ポイントptを抽出し、該動作ポイントptにおける制御用パラメータ情報D21のパラメータの値を更新するデータ調整部53とを備える。データ調整部53は、調整後の制御用パラメータ情報D21に基づくテープ送り出し動作に要する消費電力が調整前に比して低下するようにパラメータの値を調整する。
【選択図】図3
特許請求の範囲
【請求項1】
基板に部品を実装することにより部品実装基板を生産する部品実装装置であって、
部品供給テープを送り出すことにより実装用の部品を供給するテープフィーダと、
前記部品供給テープから部品を取り出して基板に実装する実装ヘッドと、
前記テープフィーダによるテープ送り出し動作の制御用パラメータを記憶する記憶部と、
前記実装ヘッドの部品取り出し動作のシーケンス情報および前記記憶部に記憶された前記制御用パラメータに基づき前記テープフィーダによる前記テープ送り出し動作を制御する制御部と、
前記シーケンス情報に基づき、前記テープフィーダによるテープ送り出し動作に関して時間的余裕がある動作ポイントを抽出する動作ポイント抽出部と、
前記動作ポイント抽出部が抽出した動作ポイントにおける前記制御用パラメータの値を調整して前記記憶部に更新的に記憶するパラメータ調整部と、を備え、
前記パラメータ調整部は、調整後の前記制御用パラメータに基づく前記テープ送り出し動作に要する消費電力が調整前に比して低下するように前記制御用パラメータの値を調整する、ことを特徴とする部品実装装置。
続きを表示(約 1,800 文字)
【請求項2】
請求項1に記載の部品実装装置において、
前記制御用パラメータは、加速度、減速度及び最高速度であり、
前記パラメータ調整部は、加速度、減速度及び最高速度の少なくとも一つのパラメータ値を調整前に比して低くする、ことを特徴とする部品実装装置。
【請求項3】
請求項1又は2に記載の部品実装装置において、
前記パラメータ調整部は、調整度合が互いに異なる複数のモードのうち、前記時間的余裕の程度に応じたモードを選定し、該モードに基づき前記制御用パラメータの値を調整する、ことを特徴とする部品実装装置。
【請求項4】
請求項1又は2に記載の部品実装装置において、
前記動作ポイント抽出部は、前記シーケンス情報に基づき前記部品実装基板の生産開始前に前記動作ポイントを抽出し、
前記パラメータ調整部は、前記動作ポイント抽出部が抽出した前記動作ポイントにおける前記制御用パラメータを前記部品実装基板の生産開始前に事前に調整する、ことを特徴とする部品実装装置。
【請求項5】
請求項1又は2に記載の部品実装装置において、
前記動作ポイント抽出部は、前記部品実装基板の生産開始後に前記シーケンス情報が更新された場合には、更新後の前記シーケンス情報に基づき前記動作ポイントを抽出する、ことを特徴とする部品実装装置。
【請求項6】
請求項1又は2に記載の部品実装装置において、
複数の前記実装ヘッドを有するヘッドユニットをさらに備え、
前記シーケンス情報は、同一の前記テープフィーダから連続的に同一部品を取り出す連続取り出しシーケンスを含み、
前記動作ポイント抽出部は、前記連続取り出しシーケンスのうち初回の部品取り出し動作に対応する前記テープフィーダの前記テープ送り出し動作のみを前記動作ポイントとして抽出する、ことを特徴とする部品実装装置。
【請求項7】
部品実装装置に搭載され、部品供給テープを送り出すことにより実装用の部品を供給するテープフィーダであって、
前記部品供給テープの送り出し動作の制御用パラメータを記憶する記憶部と、
前記記憶部に記憶された前記制御用パラメータに基づき前記部品供給テープの送り出し動作を制御する制御部と、
前記部品供給テープから部品を取り出して基板に実装する実装ヘッドの部品取り出し動作のシーケンス情報を取得し、該シーケンス情報に基づき、前記テープフィーダによるテープ送り出し動作に関して時間的余裕がある動作ポイントを抽出する動作ポイント抽出部と、
前記動作ポイント抽出部が抽出した動作ポイントにおける前記制御用パラメータの値を調整して前記記憶部に更新的に記憶するパラメータ調整部と、を備え、
前記パラメータ調整部は、調整後の前記制御用パラメータに基づく前記テープ送り出し動作に要する消費電力が調整前に比して低下するように前記制御用パラメータの値を調整する、ことを特徴とするテープフィーダ。
【請求項8】
基板に部品を実装することにより部品実装基板を生産する部品実装装置であって、
部品供給テープを送り出すことにより実装用の部品を供給するテープフィーダと、
前記部品供給テープから部品を取り出して基板に実装する実装ヘッドと、
前記テープフィーダによるテープ送り出し動作の制御用パラメータであって、所定の基準モード及び省電力モードのうち、前記省電力モードに基づき設定された制御用パラメータを記憶する記憶部と、
前記実装ヘッドの部品取り出し動作のシーケンス情報および前記記憶部に記憶された前記制御用パラメータに基づき前記テープフィーダによる前記テープ送り出し動作を制御する制御部と、
前記シーケンス情報に基づき、前記テープフィーダによるテープ送り出し動作に関して時間的余裕が無い動作ポイントを抽出する動作ポイント抽出部と、
前記動作ポイント抽出部が抽出した動作ポイントにおける前記制御用パラメータの値を前記省電力モードの値から前記基準モードの値に変更して前記記憶部に更新的に記憶するパラメータ調整部と、を備え、
前記省電力モードは、前記テープ送り出し動作に要する消費電力が、前記基準モードに比して低くいモードである、ことを特徴とする部品実装装置。
発明の詳細な説明
【技術分野】
【0001】
本発明は、部品実装装置およびこの部品実装装置に搭載されるテープフィーダに関する。
続きを表示(約 1,700 文字)
【背景技術】
【0002】
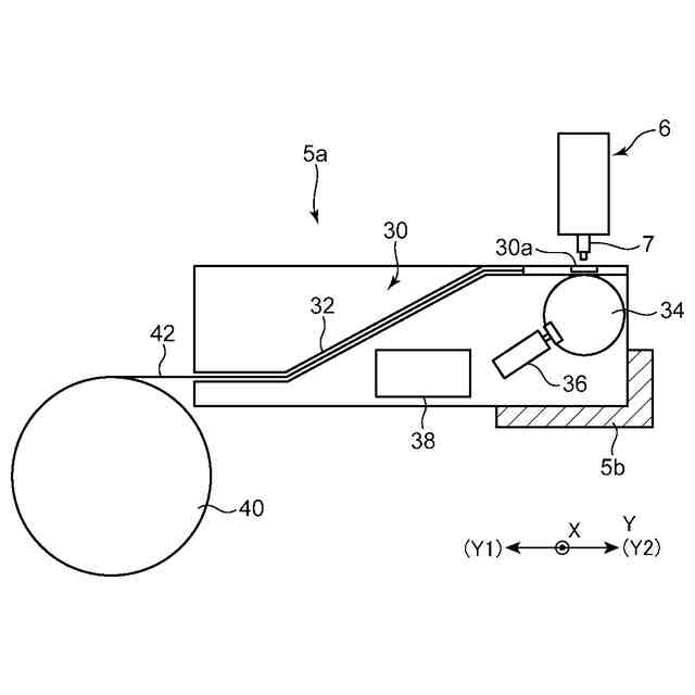
テープフィーダが搭載される部品実装装置が公知である(例えば特許文献1)。テープフィーダは、チップ状部品が収納されたリボン状の部品供給テープを送り出しながら、実装ヘッドによる所定の部品取出位置に部品を供給する部品供給デバイスの一種である。
【0003】
実装ヘッドは、部品吸着位置に供給される部品を吸着することにより部品供給テープから取り出し、この部品を基板上に搬送して実装(搭載)する。そして、テープフィーダは、実装ヘッドにより部品が取り出される毎に、部品供給テープを一定ピッチで送り出す。
【先行技術文献】
【特許文献】
【0004】
特開2017-143225号公報
【発明の概要】
【発明が解決しようとする課題】
【0005】
テープフィーダでは、部品供給テープに噛合するスプロケットが電動モータで駆動されることにより部品供給テープが送り出される。この場合、電動モータによる部品供給テープの送り出し動作は、部品が最短時間で部品取出位置に供給され得るように高速で行われるのが一般的である。これは、実装ヘッドにより連続的に部品を取出すことを想定したもので、ひいてはタクトタイムの短縮化を図ることが狙いである。
【0006】
しかし、実装ヘッドの動作との関係で、実際には時間的余裕があるにも関わらず、部品供給テープの送り出しが常に高速で行われている場合が少なくない。よって省電力化の観点から改善の余地があると言える。
【0007】
本発明は、上記のような事情に鑑みてなされたものであり、テープフィーダにおける部品供給テープの送り出し動作に要する電力消費量を合理化に抑制して、部品実装装置の省電力化を図ることを目的とする。
【課題を解決するための手段】
【0008】
上記課題を解決するために、本発明の一局面に係る部品実装装置は、基板に部品を実装することにより部品実装基板を生産する部品実装装置であって、部品供給テープを送り出すことにより実装用の部品を供給するテープフィーダと、前記部品供給テープから部品を取り出して基板に実装する実装ヘッドと、前記テープフィーダによるテープ送り出し動作の制御用パラメータを記憶する記憶部と、前記実装ヘッドの部品取り出し動作のシーケンス情報および前記記憶部に記憶された前記制御用パラメータに基づき前記テープフィーダによる前記テープ送り出し動作を制御する制御部と、前記シーケンス情報に基づき、前記テープフィーダによるテープ送り出し動作に関して時間的余裕がある動作ポイントを抽出する動作ポイント抽出部と、前記動作ポイント抽出部が抽出した動作ポイントにおける前記制御用パラメータの値を調整して前記記憶部に更新的に記憶するパラメータ調整部と、を備え、前記パラメータ調整部は、調整後の前記制御用パラメータに基づく前記テープ送り出し動作に要する消費電力が調整前に比して低下するように前記制御用パラメータの値を調整する、ことを特徴とする。
【0009】
この部品実装装置によれば、実装ヘッドの部品取り出し動作のシーケンス情報に基づき、テープ送り出し動作に関して時間的余裕がある動作ポイントが抽出され、この動作ポイントにおけるテープ送り出し動作の制御用パラメータが調整されて更新的に記憶される。詳しくは、調整後の制御用パラメータに基づくテープ送り出し動作に要する消費電力が調整前に比して低下するように制御用パラメータが調整されて更新的に記憶される。そして、この調整後の制御用パラメータに基づきテープフィーダのテープ送り出し動作が制御される。このため、タクトタイムに影響を与えない範囲で、テープフィーダの電力消費量を合理的に低減させることが可能となり、ひいては、部品実装装置の省電力化が可能となる。
【0010】
この場合、前記制御用パラメータは、加速度、減速度及び最高速度であり、前記パラメータ調整部は、加速度、減速度及び最高速度の少なくとも一つのパラメータの値を調整前に比して低くするように構成されていてもよい。
(【0011】以降は省略されています)
この特許をJ-PlatPat(特許庁公式サイト)で参照する
関連特許
ヤマハ発動機株式会社
ワーク搭載装置
1か月前
ヤマハ発動機株式会社
ワーク計測装置
18日前
ヤマハ発動機株式会社
挿抜装置および部品実装システム
3日前
ヤマハ発動機株式会社
部品実装装置およびテープフィーダ
4日前
ヤマハ発動機株式会社
ノズル収容構造体および部品実装機
18日前
ヤマハ発動機株式会社
基板の生産システム、及び画像解析装置
10日前
ヤマハ発動機株式会社
船舶を制御するためのシステム及び方法
18日前
ヤマハ発動機株式会社
印刷機、表面実装機及び基板の反り測定方法
3日前
ヤマハ発動機株式会社
操船システム、操船システムの制御方法及び船舶
10日前
ヤマハ発動機株式会社
駆動システム、電動車椅子、制御方法およびコンピュータプログラム
5日前
ヤマハ発動機株式会社
オペレータ検出システム
26日前
ヤマハ発動機株式会社
ワーク面取得装置、ワーク面取得方法、ワーク面取得プログラムおよび記録媒体
5日前
エンシュウコネクティッド株式会社
タップ加工装置およびタップ工具のチッピング検出用コンピュータプログラム
18日前
個人
電子部品の実装方法
2か月前
個人
電気式バーナー
1か月前
日本精機株式会社
回路基板
3か月前
愛知電機株式会社
装柱金具
2か月前
日星電気株式会社
面状ヒータ
24日前
キヤノン株式会社
電子機器
2か月前
日本放送協会
基板固定装置
2か月前
アイホン株式会社
電気機器
2か月前
イビデン株式会社
配線基板
2か月前
メクテック株式会社
配線基板
3か月前
東レ株式会社
霧化状活性液体供給装置
3か月前
個人
静電気中和除去装置
1か月前
イビデン株式会社
配線基板
3か月前
サクサ株式会社
筐体の壁掛け構造
3か月前
株式会社デンソー
電子装置
10日前
シャープ株式会社
加熱機器
1か月前
株式会社デンソー
電子装置
2か月前
サクサ株式会社
開き角度規制構造
1か月前
FDK株式会社
基板
2か月前
株式会社デンソー
電子装置
1か月前
イビデン株式会社
プリント配線板
2か月前
株式会社レクザム
剥離装置
2か月前
株式会社レゾナック
冷却装置
2か月前
続きを見る
他の特許を見る