TOP
|
特許
|
意匠
|
商標
特許ウォッチ
Twitter
他の特許を見る
10個以上の画像は省略されています。
公開番号
2025177320
公報種別
公開特許公報(A)
公開日
2025-12-05
出願番号
2024084031
出願日
2024-05-23
発明の名称
印刷機、表面実装機及び基板の反り測定方法
出願人
ヤマハ発動機株式会社
代理人
弁理士法人暁合同特許事務所
主分類
H05K
13/08 20060101AFI20251128BHJP(他に分類されない電気技術)
要約
【課題】基板の反りの測定時間を短縮する。
【解決手段】
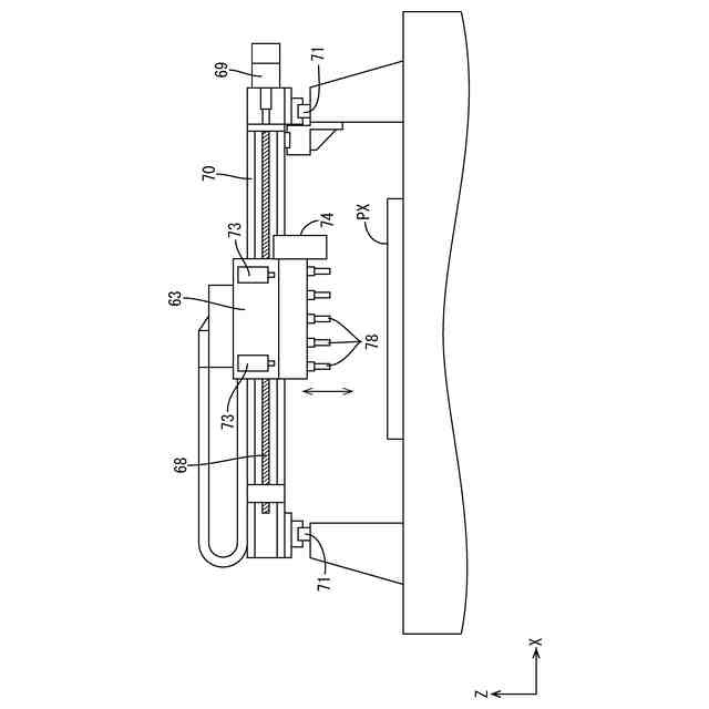
印刷機11であって、Y方向に移動可能なスキージ39と、前記スキージ39を制御する制御装置50と、を備える。前記制御装置50は、前記スキージ39を基板表面又はマスク表面に先端を接触させた状態でY方向に移動させて、基板の反りを測定し、その結果を表面実装機12に出力する。
【選択図】図16
特許請求の範囲
【請求項1】
印刷機であって、
Y方向に移動可能なスキージと、
前記スキージを制御する制御装置と、を備え、
前記制御装置は、前記スキージを基板表面又はマスク表面に先端を接触させた状態で前記Y方向に移動させて、基板の反りを測定し、その結果を表面実装機に出力する、印刷機。
続きを表示(約 1,000 文字)
【請求項2】
請求項1に記載の印刷機であって、
前記制御装置は、1枚の基板に対する印刷サイクル中に、前記基板の反りを測定する、印刷機。
【請求項3】
請求項1に記載の印刷機であって、
前記制御装置は、前記基板の品種切り替えに伴う段取り作業中に、前記基板の反りを測定する、印刷機。
【請求項4】
請求項1に記載の印刷機であって、
前記制御装置は、基板の反りに応じて変化する、前記スキージの測定データに基づいて、基板の反りを測定する、印刷機。
【請求項5】
請求項4に記載の印刷機であって、
前記スキージの測定データは、前記スキージの接圧である、印刷機。
【請求項6】
請求項5に記載の印刷機であって、
前記制御装置は、前記スキージを前記Y方向に移動させる際、前記スキージのZ方向の位置は固定する、印刷機。
【請求項7】
請求項4又は請求項5に記載の印刷機であって、
前記制御装置は、前記スキージを前記Y方向に往復移動させ、往路と復路のそれぞれについて前記スキージの測定データの変化が最大となる最大ポイントを測定し、
往路側と復路側の変位の最大ポイントの中点のY座標を、前記基板の反りが最大となるY方向の座標とする、印刷機。
【請求項8】
請求項4又は請求項5に記載の印刷機であって、
前記制御装置は、前記スキージを前記Y方向の往路側のみ移動させて、前記スキージの測定データの変化が最大となる最大ポイントを測定し、
測定した最大ポイントのY座標に、所定のオフセット値を加えて、前記基板の反りが最大となる前記Y方向の座標を求める、印刷機。
【請求項9】
請求項1又は請求項2の印刷機の下流に位置する表面実装機であって、
ヘッドユニットと、制御装置と、を備え、
前記ヘッドユニットは、
前記基板の測定点の高さを測定するレーザー測定器と、
前記基板に部品を搭載する実装ヘッドと、を備え、
前記制御装置は、前記印刷機で測定した前記基板の反りに基づいて、前記レーザー測定器による前記基板の測定点の一部を削減する、表面実装機。
【請求項10】
請求項9に記載の表面実装機であって、
前記制御装置は、前記印刷機で測定した前記基板の反りのレベルに応じて、削除する測定点の列数を決定する、表面実装機。
(【請求項11】以降は省略されています)
発明の詳細な説明
【技術分野】
【0001】
本発明は、基板の反りを測定する技術に関する。
続きを表示(約 1,200 文字)
【背景技術】
【0002】
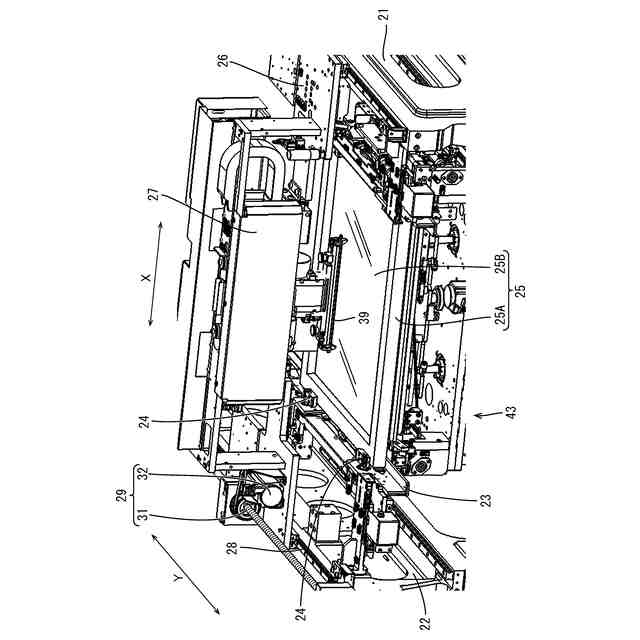
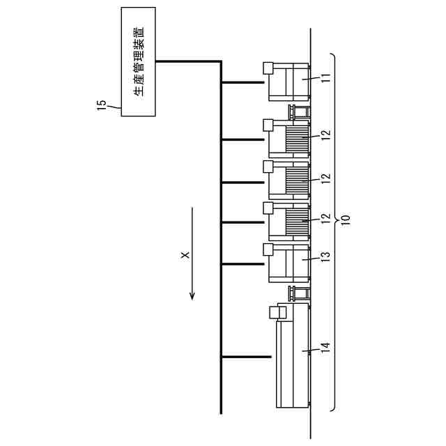
実装ラインは、印刷機にて基板上に半田ペーストを印刷した後、その基板を表面実装機に搬入し、印刷済み基板上に部品を搭載している。この実装ラインに関連する技術を開示する文献として、以下の特許文献1、2がある
特開2014-19132公報
特開平9-70951公報
【発明の開示】
【発明が解決しようとする課題】
【0003】
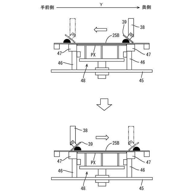
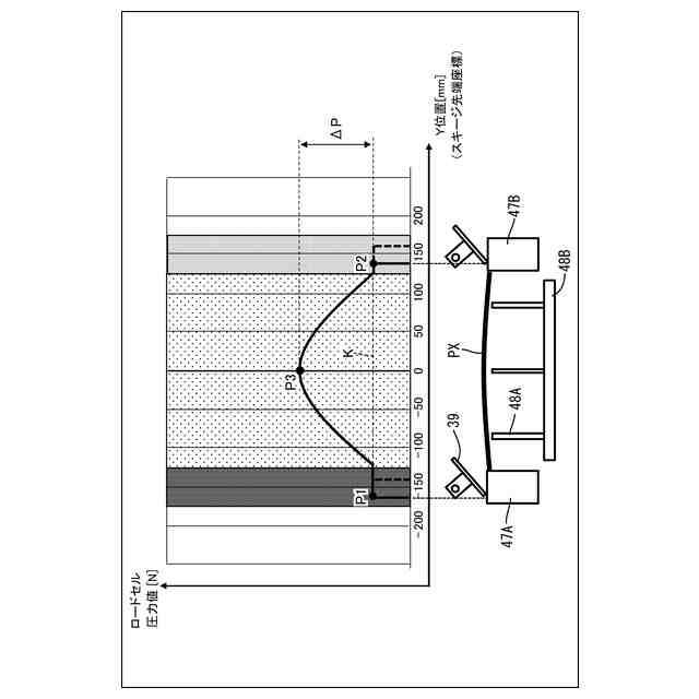
基板が反っている場合、部品の搭載高さが変わるため、部品搭載前に、表面実装機にて基板の反りを測定することが望ましい。また、生産効率の観点から、反りの測定時間を短縮することが求められている。
【0004】
本発明は、印刷機で基板の反りを計測すること、その結果を表面実装機で活用し、反り測定時間を短縮することを課題とする。
【課題を解決するための手段】
【0005】
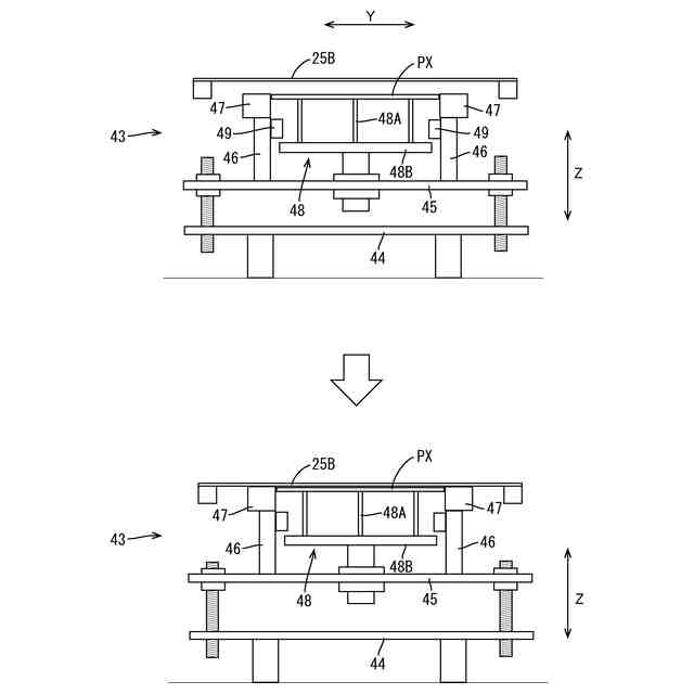
(1)本発明の印刷機は、Y方向に移動可能なスキージと、前記スキージを制御する制御装置と、を備える。前記制御装置は、前記スキージを基板表面又はマスク表面に先端を接触させた状態で前記Y方向に移動させて、基板の反りを測定し、その結果を表面実装機に出力する。(1)に記載の印刷機において、上記構成以外は、任意であり、いかなる構成でもよい。
【0006】
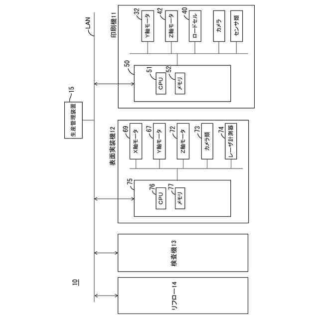
(1)の構成は、印刷機にて基板の反りを測定し、その結果を、表面実装機にて活用するが出来る。これにより、表面実装機の基板の反り測定時間の短縮化に貢献できる。
【0007】
(2)(1)に記載の印刷機において、前記制御装置は、1枚の基板に対する印刷サイクル中に、前記基板の反りを測定してもよい。(2)の構成は、基板ごとに反りを測定できるので、精度の高い結果が得られる。
【0008】
(3)(1)に記載の印刷機において、前記制御装置は、前記基板の品種切り替えに伴う段取り作業中に、前記基板の反りを測定してもよい。(3)の構成は、タクトの影響が小さい。また、マスクが無い状態で測定が可能となり、マスクによる押し付けの影響を受けることなく正確に反りを測定できるメリットがある。
【0009】
(4)(1)から(3)のいずれか一項に記載の印刷機において、前記制御装置は、基板の反りに応じて変化する、前記スキージの測定データに基づいて、基板の反りを測定してもよい。
【0010】
(5)(4)に記載の印刷機において、前記スキージの測定データは、前記スキージの接圧でもよい。スキージの接圧は、ロードセル等の圧力計測装置により測定することができる。また、スキージの接圧を、Z方向の位置を制御するモータのモータ電流により、代用することが可能である。モータ電流は、電流センサ等により計測可能である。
(【0011】以降は省略されています)
この特許をJ-PlatPat(特許庁公式サイト)で参照する
関連特許
ヤマハ発動機株式会社
鞍乗型車両
1か月前
ヤマハ発動機株式会社
鞍乗型車両
1か月前
ヤマハ発動機株式会社
船舶推進機
1か月前
ヤマハ発動機株式会社
船舶推進機
1か月前
ヤマハ発動機株式会社
船舶推進機
1か月前
ヤマハ発動機株式会社
船舶推進機
1か月前
ヤマハ発動機株式会社
船舶推進機
1か月前
ヤマハ発動機株式会社
リーン車両
1か月前
ヤマハ発動機株式会社
鞍乗型車両
1か月前
ヤマハ発動機株式会社
生産システム
1か月前
ヤマハ発動機株式会社
ワーク計測装置
18日前
ヤマハ発動機株式会社
テープフィーダ
1か月前
ヤマハ発動機株式会社
ワーク搭載装置
1か月前
ヤマハ発動機株式会社
自動操船システム及び方法
1か月前
ヤマハ発動機株式会社
挿抜装置および部品実装システム
3日前
ヤマハ発動機株式会社
部品実装装置およびテープフィーダ
4日前
ヤマハ発動機株式会社
ノズル収容構造体および部品実装機
18日前
ヤマハ発動機株式会社
基板の生産システム、及び画像解析装置
10日前
ヤマハ発動機株式会社
駆動ユニットおよび電動アシスト自転車
1か月前
三井化学株式会社
ドローン用ブレード
2か月前
ヤマハ発動機株式会社
船舶を制御するためのシステム及び方法
18日前
ヤマハ発動機株式会社
船舶を制御するためのシステムおよび方法
1か月前
ヤマハ発動機株式会社
印刷機、表面実装機及び基板の反り測定方法
3日前
ヤマハ発動機株式会社
船舶を遠隔操船するためのシステム及び方法
1か月前
ヤマハ発動機株式会社
操船システム、操船システムの制御方法及び船舶
10日前
ヤマハ発動機株式会社
無段変速機、及び無段変速機を備える鞍乗型車両
1か月前
ヤマハ発動機株式会社
無段変速機、及び無段変速機を備える鞍乗型車両
1か月前
ヤマハ発動機株式会社
テープ回収装置および同装置を備えた部品実装装置
1か月前
ヤマハ発動機株式会社
無段変速機、及び、無段変速機を有する鞍乗型車両
1か月前
ヤマハ発動機株式会社
無段変速機、及び、無段変速機を有する鞍乗型車両
1か月前
ヤマハ発動機株式会社
エンジンユニット、及びエンジンユニットを備える鞍乗型車両
1か月前
ヤマハ発動機株式会社
駆動システム、電動車椅子、制御方法およびコンピュータプログラム
5日前
ヤマハ発動機株式会社
オペレータ検出システム
26日前
ヤマハ発動機株式会社
ワーク面取得装置、ワーク面取得方法、ワーク面取得プログラムおよび記録媒体
5日前
ヤマハ発動機株式会社
バッテリ制御システム、バッテリパック、小型電動車両、バッテリ制御方法およびコンピュータプログラム
2か月前
エンシュウコネクティッド株式会社
タップ加工装置およびタップ工具のチッピング検出用コンピュータプログラム
18日前
続きを見る
他の特許を見る