TOP
|
特許
|
意匠
|
商標
特許ウォッチ
Twitter
他の特許を見る
10個以上の画像は省略されています。
公開番号
2025175826
公報種別
公開特許公報(A)
公開日
2025-12-03
出願番号
2024082108
出願日
2024-05-20
発明の名称
駆動システム、電動車椅子、制御方法およびコンピュータプログラム
出願人
ヤマハ発動機株式会社
代理人
個人
,
個人
主分類
A61G
5/04 20130101AFI20251126BHJP(医学または獣医学;衛生学)
要約
【課題】電動車椅子の回生ブレーキにより発生した電流を用いるバッテリの充電をより適切に制御する。
【解決手段】ある実施形態に係る電動車椅子1に用いられる駆動システム10は、少なくとも一つの電動モータ25Lおよび25Rと、少なくとも一つの電動モータ25Lおよび25Rに電力を供給するバッテリ7と、少なくとも一つの電動モータ25Lおよび25Rの動作を制御する制御装置110と、電動車椅子1の走行速度に関する信号を出力する速度センサ26Lおよび26Rと、少なくとも一つの電動モータ25Lおよび25Rとバッテリ7との間の電気経路を流れる電流に関する信号を出力する電流センサ115とを備える。制御装置110は、回生ブレーキにより発生したバッテリ7を充電するための充電電流の電流値を取得し、電流値に基づいて電動車椅子1の走行速度を減速させる。
【選択図】図5
特許請求の範囲
【請求項1】
電動車椅子に用いられる駆動システムであって、
前記電動車椅子を走行させる駆動力を発生させる少なくとも一つの電動モータと、
前記少なくとも一つの電動モータに電力を供給するバッテリと、
前記少なくとも一つの電動モータの動作を制御する制御装置と、
前記電動車椅子の走行速度に関する信号を出力する速度センサと、
前記少なくとも一つの電動モータと前記バッテリとの間の電気経路を流れる電流に関する信号を出力する電流センサと、
を備え、
前記制御装置は、
回生ブレーキにより発生した、前記バッテリを充電するための充電電流の電流値を取得し、
前記電流値に基づいて、前記電動車椅子の走行速度を減速させる、駆動システム。
続きを表示(約 1,100 文字)
【請求項2】
前記制御装置は、
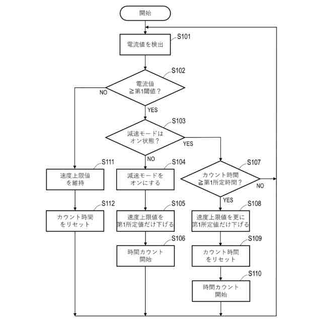
前記電流値が第1閾値以上であるか否か判断し、
前記電流値が前記第1閾値以上であると判断した場合、前記電動車椅子の走行速度を減速させる、請求項1に記載の駆動システム。
【請求項3】
前記制御装置は、
前記電動車椅子の走行速度が、前記走行速度の上限値である速度上限値以下となるように前記電動モータの動作を制御し、
前記電流値に基づいて、前記速度上限値を小さくする、請求項1に記載の駆動システム。
【請求項4】
前記制御装置は、
前記電流値が第1閾値以上であるか否か判断し、
前記電流値が前記第1閾値以上であると判断した場合、前記速度上限値を小さくする、請求項3に記載の駆動システム。
【請求項5】
前記制御装置は、前記電流値が前記第1閾値以上でないと判断した場合、前記速度上限値を小さくしない、請求項4に記載の駆動システム。
【請求項6】
前記制御装置は、前記電流値が前記第1閾値以上であると判断した場合、前記速度上限値を第1所定値小さくする、請求項4または5に記載の駆動システム。
【請求項7】
前記制御装置は、前記電流値が前記第1閾値以上であると判断した場合、前記速度上限値を第1所定時間ごとに第1所定値ずつ小さくする、請求項4または5に記載の駆動システム。
【請求項8】
前記制御装置は、前記電流値が前記第1閾値以上であると判断した場合、
前記速度上限値を第1所定値小さくし、
前記速度上限値を前記第1所定値小さくしてからの時間をカウントし、
カウントした前記時間が第1所定時間となったとき、前記速度上限値をさらに前記第1所定値小さくする、請求項4または5に記載の駆動システム。
【請求項9】
前記制御装置は、前記電流値が前記第1閾値以上であると判断して前記速度上限値を小さくした後、前記電流値が前記第1閾値以上でなくなった場合、前記電流値に基づいて前記速度上限値を小さくする制御を停止する、請求項4または5に記載の駆動システム。
【請求項10】
前記制御装置は、
前記電流値が前記第1閾値よりも大きい第2閾値以上であるか否か判断し、
前記電流値が前記第2閾値以上であると判断した場合、前記速度上限値を第2所定値小さくし、
ここで、前記第2閾値は前記第1閾値よりも大きく、前記第2所定値は前記第1所定値よりも大きい、請求項6に記載の駆動システム。
(【請求項11】以降は省略されています)
発明の詳細な説明
【技術分野】
【0001】
本発明は、駆動システム、電動車椅子、制御方法およびコンピュータプログラムに関する。
続きを表示(約 1,200 文字)
【背景技術】
【0002】
電動モータを駆動源として走行する電動車椅子が知られている(例えば特許文献1参照)。電動車椅子では、例えば操作装置に対するユーザの操作に応じて電動モータに回転を発生させ、電動モータの回転が車輪に伝達されることで電動車椅子は走行することができる。
【先行技術文献】
【特許文献】
【0003】
特開平5-095976号公報
【発明の概要】
【発明が解決しようとする課題】
【0004】
電動車椅子が下り坂等を走行する場合は、回生ブレーキにより制動力を発生させることにより、電動車椅子の走行速度が大きくなりすぎないようにすることができる。また、回生ブレーキにより発生した電流でバッテリを充電することにより、電動車椅子の走行可能距離を大きくすることができる。
【0005】
このような電動車椅子の回生ブレーキにより発生した電流を用いるバッテリの充電をより適切に制御することが求められている。
【課題を解決するための手段】
【0006】
本明細書は、以下の項目に記載の駆動システム、電動車椅子、制御方法およびコンピュータプログラムを開示している。
【0007】
[項目1]
電動車椅子に用いられる駆動システムであって、
前記電動車椅子を走行させる駆動力を発生させる少なくとも一つの電動モータと、
前記少なくとも一つの電動モータに電力を供給するバッテリと、
前記少なくとも一つの電動モータの動作を制御する制御装置と、
前記電動車椅子の走行速度に関する信号を出力する速度センサと、
前記少なくとも一つの電動モータと前記バッテリとの間の電気経路を流れる電流に関する信号を出力する電流センサと、
を備え、
前記制御装置は、
回生ブレーキにより発生した、前記バッテリを充電するための充電電流の電流値を取得し、
前記電流値に基づいて、前記電動車椅子の走行速度を減速させる、駆動システム。
【0008】
本発明のある実施形態によれば、回生ブレーキにより発生した充電電流の電流値に基づいて、電動車椅子の走行速度を減速させる。これにより、下り坂の走行時などにおいて、回生ブレーキにより発生した充電電流が大きくなりすぎることを抑制できる。
【0009】
[項目2]
前記制御装置は、
前記電流値が第1閾値以上であるか否か判断し、
前記電流値が前記第1閾値以上であると判断した場合、前記電動車椅子の走行速度を減速させる、項目1に記載の駆動システム。
【0010】
電流値が第1閾値以上である場合は電動車椅子の走行速度を減速させることで、充電電流が大きくなりすぎることを抑制できる。
(【0011】以降は省略されています)
この特許をJ-PlatPat(特許庁公式サイト)で参照する
関連特許
ヤマハ発動機株式会社
鞍乗型車両
2か月前
ヤマハ発動機株式会社
船舶推進機
1か月前
ヤマハ発動機株式会社
船舶推進機
1か月前
ヤマハ発動機株式会社
船舶推進機
1か月前
ヤマハ発動機株式会社
鞍乗型車両
26日前
ヤマハ発動機株式会社
鞍乗型車両
26日前
ヤマハ発動機株式会社
リーン車両
1か月前
ヤマハ発動機株式会社
船舶推進機
1か月前
ヤマハ発動機株式会社
船舶推進機
1か月前
ヤマハ発動機株式会社
鞍乗型車両
1か月前
ヤマハ発動機株式会社
生産システム
29日前
ヤマハ発動機株式会社
ワーク計測装置
13日前
ヤマハ発動機株式会社
テープフィーダ
29日前
ヤマハ発動機株式会社
ワーク搭載装置
26日前
ヤマハ発動機株式会社
自動操船システム及び方法
26日前
ヤマハ発動機株式会社
ノズル収容構造体および部品実装機
13日前
ヤマハ発動機株式会社
電池パック及び電池パックの製造方法
2か月前
三井化学株式会社
ドローン用ブレード
1か月前
ヤマハ発動機株式会社
駆動ユニットおよび電動アシスト自転車
1か月前
ヤマハ発動機株式会社
船舶を制御するためのシステム及び方法
13日前
ヤマハ発動機株式会社
基板の生産システム、及び画像解析装置
5日前
ヤマハ発動機株式会社
船舶を制御するためのシステムおよび方法
26日前
ヤマハ発動機株式会社
船舶を遠隔操船するためのシステム及び方法
26日前
ヤマハ発動機株式会社
無段変速機、及び無段変速機を備える鞍乗型車両
1か月前
ヤマハ発動機株式会社
操船システム、操船システムの制御方法及び船舶
5日前
ヤマハ発動機株式会社
無段変速機、及び無段変速機を備える鞍乗型車両
1か月前
ヤマハ発動機株式会社
テープ回収装置および同装置を備えた部品実装装置
1か月前
ヤマハ発動機株式会社
無段変速機、及び、無段変速機を有する鞍乗型車両
1か月前
ヤマハ発動機株式会社
無段変速機、及び、無段変速機を有する鞍乗型車両
1か月前
ヤマハ発動機株式会社
エンジンユニット、及びエンジンユニットを備える鞍乗型車両
1か月前
ヤマハ発動機株式会社
駆動システム、電動車椅子、制御方法およびコンピュータプログラム
今日
ヤマハ発動機株式会社
オペレータ検出システム
21日前
ヤマハ発動機株式会社
ワーク面取得装置、ワーク面取得方法、ワーク面取得プログラムおよび記録媒体
今日
ヤマハ発動機株式会社
バッテリ制御システム、バッテリパック、小型電動車両、バッテリ制御方法およびコンピュータプログラム
1か月前
エンシュウコネクティッド株式会社
タップ加工装置およびタップ工具のチッピング検出用コンピュータプログラム
13日前
ヤマハ発動機株式会社
支持部材配置決定装置、支持部材配置決定方法、支持部材配置決定プログラムおよび記録媒体
1か月前
続きを見る
他の特許を見る