TOP
|
特許
|
意匠
|
商標
特許ウォッチ
Twitter
他の特許を見る
公開番号
2025158366
公報種別
公開特許公報(A)
公開日
2025-10-17
出願番号
2024060846
出願日
2024-04-04
発明の名称
磁歪式トルクセンサの組立方法および磁歪式トルクセンサ
出願人
日本精工株式会社
,
株式会社プロテリアル
代理人
弁理士法人貴和特許事務所
主分類
G01L
3/10 20060101AFI20251009BHJP(測定;試験)
要約
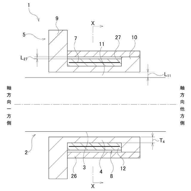
【課題】製造コストの低減を図りやすい組立方法を実現する。
【解決手段】回転軸2の外周面の全周にわたってフレキシブル基板8の本体部12が対向する場合を100%とした場合の、回転軸2の外周面に本体部12が対向する割合が所定の範囲にある場合に、本体部12の円周方向長さが同じである共通のフレキシブル基板8を使用する。
【選択図】図1
特許請求の範囲
【請求項1】
測定対象となる回転軸の周囲に配置されるボビン部を有するホルダと、
前記ボビン部の周囲に配置され、かつ、複数の検出コイルからなる検出部が備えられた本体部を有するフレキシブル基板と
を備える、磁歪式トルクセンサの組立方法であって、
前記回転軸の外周面の全周にわたって前記本体部が対向する場合を100%とした場合の、前記回転軸の外周面に前記本体部が対向する割合が所定の範囲にある場合に、前記本体部の円周方向長さが同じである共通の前記フレキシブル基板を使用する、磁歪式トルクセンサの組立方法。
続きを表示(約 280 文字)
【請求項2】
前記所定の範囲が、75%以上100%未満の範囲である、
請求項1に記載の磁歪式トルクセンサの組立方法。
【請求項3】
回転軸の周囲に配置されるボビン部を有するホルダと、
前記ボビン部の周囲に配置され、かつ、複数の検出コイルからなる検出部が備えられた本体を有する、フレキシブル基板と、
を備え、
前記回転軸の外周面の全周にわたって前記検出部が対向する場合を100%とした場合の、前記回転軸の外周面に前記検出部が対向する割合が、75%以上92%未満である、
磁歪式トルクセンサ。
発明の詳細な説明
【技術分野】
【0001】
本開示は、回転軸に付与されたトルクを測定する、磁歪式トルクセンサに関する。
続きを表示(約 1,400 文字)
【背景技術】
【0002】
回転軸に付与されたトルクを測定するセンサとして、回転軸にトルクを付与した際に、該回転軸に生じる逆磁歪効果を利用して、回転軸に付与されたトルクを測定する磁歪式トルクセンサが、特開2022-74405号公報に記載されるなどにより、従来から知られている。
【0003】
特開2022-74405号公報に記載の従来の磁歪式トルクセンサは、複数の検出コイルからなり、回転軸の周囲に配置された検出部を有するフレキシブル基板を備える。磁歪式トルクセンサは、前記検出コイルのインダクタンスの変化に基づいて、前記回転軸に付与されたトルクを検出する。
【先行技術文献】
【特許文献】
【0004】
特開2022-74405号公報
【発明の概要】
【発明が解決しようとする課題】
【0005】
特開2022-74405号公報に記載の従来の磁歪式トルクセンサは、母材に打ち抜き加工を施すことで、検出部が備えられた略矩形板状の本体部を有するフレキシブル基板を得た後、該本体部を、ホルダ(第1の樹脂部材)のボビン部(内側円筒部)に巻き付けて欠円筒状に成形することにより得られる。
【0006】
ところで、回転軸の外径は、伝達するトルクの大きさ、回転軸を構成する金属材料などに応じて、多くの種類が存在する。そこで、回転軸の外径ごとに、検出部が備えられた本体部の円周方向長さが異なるフレキシブル基板を用意することが行われている。このため、フレキシブル基板の種類数が多くなって、磁歪式トルクセンサの製造コストの低減を図りにくいといった問題が生じている。
【0007】
本開示は、製造コストの低減を図りやすい磁歪式トルクセンサの組立方法を実現することを目的とする。
【課題を解決するための手段】
【0008】
本開示の発明者らは、磁歪式トルクセンサにおいて、回転軸の外周面の全周にわたってフレキシブル基板の本体部が対向する場合を100%とした場合の、前記回転軸の外周面に前記本体部が対向する割合がトルク測定精度に与える影響について、鋭意研究を重ねた結果、前記割合が所定の範囲であれば、トルク測定精度を十分に確保することができるとの知見を得た。本開示の一態様の磁歪式トルクセンサの組立方法、および、本開示の一態様の磁歪式トルクセンサは、このような知見に基づいて完成されたものである。
【0009】
本開示の第1態様の磁歪式トルクセンサの組立方法の対象となる磁歪式トルクセンサは、
測定対象となる回転軸の周囲に配置されるボビン部を有するホルダと、
前記ボビン部の周囲に配置され、かつ、複数の検出コイルからなる検出部が備えられた本体部を有するフレキシブル基板と、
を備える。
【0010】
本開示の第1態様の磁歪式トルクセンサの組立方法は、前記回転軸の外周面の全周にわたって前記本体部が対向する場合を100%とした場合の、前記回転軸の外周面に前記本体部が対向する割合が所定の範囲にある場合に、前記本体部の円周方向長さが同じである共通の前記フレキシブル基板を使用する。
(【0011】以降は省略されています)
この特許をJ-PlatPat(特許庁公式サイト)で参照する
関連特許
日本精工株式会社
温度検出装置
21日前
日本精工株式会社
ボールねじ装置
1か月前
日本精工株式会社
転がり案内装置
1か月前
日本精工株式会社
円すいころ軸受
1か月前
日本精工株式会社
アクチュエータ
27日前
日本精工株式会社
密封型転がり軸受
1か月前
日本精工株式会社
密封型転がり軸受
1か月前
日本精工株式会社
密封型転がり軸受
1か月前
日本精工株式会社
密封型転がり軸受
1か月前
日本精工株式会社
密封型転がり軸受
1か月前
日本精工株式会社
密封型転がり軸受
1か月前
日本精工株式会社
密封型転がり軸受
1か月前
日本精工株式会社
密封型転がり軸受
20日前
日本精工株式会社
逆入力遮断クラッチ
26日前
日本精工株式会社
磁歪式トルクセンサ
1か月前
日本精工株式会社
モータ制御システム
1か月前
日本精工株式会社
環境配慮型機械部品
11日前
日本精工株式会社
磁歪式トルクセンサ
2か月前
日本精工株式会社
直動案内装置の組立方法
1か月前
日本精工株式会社
アクチュエータシステム
1か月前
日本精工株式会社
ラジアルころ軸受用保持器
1か月前
日本精工株式会社
ハブユニット軸受の製造方法
21日前
日本精工株式会社
潤滑機能付き転がり軸受装置
2か月前
日本精工株式会社
直動案内装置及びその製造方法
1か月前
日本精工株式会社
ころ軸受及びころ軸受の設計方法
1か月前
日本精工株式会社
回路放熱機構および回路放熱方法
2か月前
日本精工株式会社
片持ち回転ローラ配置型円形車輪
1か月前
日本精工株式会社
ハブユニット軸受及びその製造方法
1か月前
協同油脂株式会社
グリース組成物
1か月前
日本精工株式会社
含油部材付歯車、直動アクチュエータ
1か月前
日本精工株式会社
深溝玉軸受用保持器、及びその製造方法
12日前
日本精工株式会社
細胞培養成形装置および細胞培養片の製造方法
2か月前
日本精工株式会社
光学式エンコーダユニット及び光学式エンコーダ
11日前
日本精工株式会社
光学式エンコーダユニット及び光学式エンコーダ
11日前
日本精工株式会社
潤滑剤供給体及び潤滑剤供給体を配設した転動装置
1か月前
日本精工株式会社
データ読み取りシステムおよび設備保全管理システム
21日前
続きを見る
他の特許を見る