TOP
|
特許
|
意匠
|
商標
特許ウォッチ
Twitter
他の特許を見る
10個以上の画像は省略されています。
公開番号
2025157262
公報種別
公開特許公報(A)
公開日
2025-10-15
出願番号
2025107406,2023202020
出願日
2025-06-25,2019-08-09
発明の名称
医療用途の加湿器システム内のヒータプレートアセンブリ
出願人
フィッシャー アンド ペイケル ヘルスケア リミテッド
代理人
個人
,
個人
,
個人
,
個人
,
個人
主分類
A61M
16/16 20060101AFI20251007BHJP(医学または獣医学;衛生学)
要約
【課題】呼吸器又は手術用加湿器システムの加湿器チャンバの低水及び/又は水切れ状態を決定する改良されたシステム並びに方法を提供する。
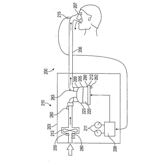
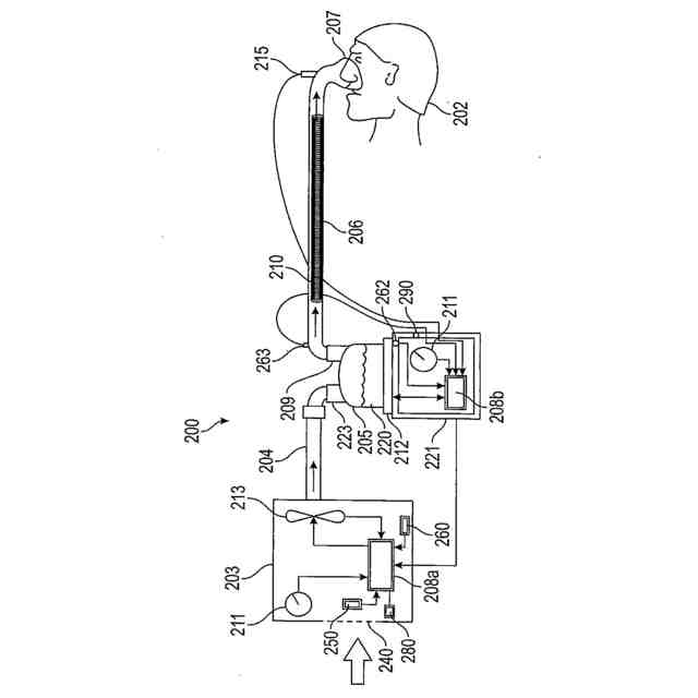
【解決手段】特定の周波数帯域を使用して、ヒータプレート212の温度の変化を検知する。温度変化は、加湿器チャンバ205の比熱容量値に相関し得る。低水及び/又は水切れ検知プロセスは、ガス流量を決定する必要なく実施され得る及び/又は連続的に実行され得る。システムのヒータプレートアセンブリは、ヒータプレートアセンブリの加熱要素と上部加熱プレートとの間の熱的結合を向上させるためのコンプライアント絶縁シートを含むことができ、それにより、低水及び/又は水切れ検知プロセスを向上させる。
【選択図】図2A
特許請求の範囲
【請求項1】
呼吸器加湿器用の複数層ヒータプレートアセンブリであって、
上部加熱プレートと、
熱を発生させるように構成された加熱要素であって、上部加熱プレートより下に位置する加熱要素と、
前記上部加熱プレートと前記加熱要素との間の熱インターフェース層であって、前記上部加熱プレートと前記加熱要素との間のエアギャップを変位させるように構成されたコンプライアント熱インターフェース材料を含む、熱インターフェース層と、
を含む、複数層ヒータプレートアセンブリ。
続きを表示(約 860 文字)
【請求項2】
前記熱インターフェース層は、前記上部加熱プレートと前記加熱要素との間の熱伝導率を向上させるために、前記上部加熱プレートと前記加熱要素との間のエアギャップを変位させるように構成されている、請求項1に記載の複数層ヒータプレートアセンブリ。
【請求項3】
下部プレートを含み、前記加熱要素は、前記上部加熱プレート及び前記下部プレートによって画定される、請求項1又は2に記載の複数層ヒータプレートアセンブリ。
【請求項4】
前記熱インターフェース層は、電気絶縁を提供するのに十分な厚さを含む、請求項1~3のいずれか一項に記載の複数層ヒータプレートアセンブリ。
【請求項5】
1つ以上の締結具によって互いに取り外し可能に結合されている、請求項1~4のいずれか一項に記載の複数層ヒータプレートアセンブリ。
【請求項6】
前記下部プレートと前記上部加熱プレートとの間に前記加熱要素及び前記電気絶縁層がある状態で、前記下部プレートを前記上部加熱プレートにボルト締めすることによって形成されている、請求項1~5のいずれか一項に記載の複数層ヒータプレートアセンブリ。
【請求項7】
前記上部加熱プレートは、少なくとも1つの温度センサを受け入れるように構成されたセンサ取付ブロックを含む、請求項1~6のいずれか一項に記載の複数層ヒータプレートアセンブリ。
【請求項8】
前記センサ取付ブロックは、2つの温度センサを受け入れるように構成されている、請求項7に記載の複数層ヒータプレートアセンブリ。
【請求項9】
前記少なくとも1つの温度センサは、サーミスタを含む、請求項7又は8に記載の複数層ヒータプレートアセンブリ。
【請求項10】
前記下部プレートに結合された安全機能部を更に含む、請求項3~10のいずれか一項に記載の複数層ヒータプレートアセンブリ。
(【請求項11】以降は省略されています)
発明の詳細な説明
【技術分野】
【0001】
本開示の分野
本開示は、呼吸器及び/又は手術用加湿器システム、並びに患者若しくは使用者に供給されるガス用の呼吸器又は呼吸補助システムに関する。
続きを表示(約 4,200 文字)
【背景技術】
【0002】
呼吸器装置は、病院、医療施設、在宅ケア、緩和ケア、又は自宅環境などの様々な環境で使用されている。様々な呼吸器用途において、患者又は使用者に供給されるガスを加湿することは有益である。これらの用途としては、ガスが患者若しくは使用者による呼吸用のものである場合及び/又はガスが患者若しくは使用者の手術中に供給される場合が挙げられる。
【0003】
非侵襲モードにおいてガスを呼吸する場合、吸気ガスが上気道を通過するときに、例えば、ガスがフェイスマスク又は鼻マスクを介して患者又は使用者に送達されるときに、湿度は、患者又は使用者の快適性を高め、非侵襲的換気療法(NIV:noninvasive ventilation)に対する患者又は使用者の耐性を向上させ、加湿されたガスは、患者又は使用者の気道の組織(例えば、鼻粘膜)を乾燥させにくくする。手術用ガス、又は患者に送達されるガスが上気道をバイパスする場合の侵襲モードの場合、ガスの加湿は、患者の快適性を向上させ、且つ粘液輸送の向上などの生理学的利益をもたらすことが判明しており、患者又は使用者の安全のために、例えば、気道分泌物の濃縮による気道閉塞、気道上皮の破壊を防止するために及び/又は術後転帰を向上させるために必要となり得る。高流量療法の場合、加湿されたガスは、非密閉インターフェースを介して高流量で患者又は使用者に送達される。患者又は使用者は、自発的に呼吸してもよく、又は麻酔下など、無呼吸であってもよい。加湿器を備えた流量療法装置を使用して高流量ガスを送達することができ、療法装置は、例えば、流量、温度、圧力、湿度、補助ガス濃度等を含む、ガス流などの特性を制御してもよい。気道陽圧(PAP:positive airway pressure)療法の場合、ブロワと加湿器とを含むPAP療法装置を使用して、使用者に圧力療法、例えば、持続気道陽圧療法(CPAP:continuous positive airway pressure therapy)を提供することができる。
【発明の概要】
【発明が解決しようとする課題】
【0004】
患者又は使用者に供給するためのガスを加湿するための加湿器チャンバを組み込んだ呼吸器又は手術用加湿器システムにおいては、ガスを加湿するために加湿器システムがガス流に水蒸気を供給できるようにするために、ある最低水位を維持することが重要である。したがって、加湿されたガスを患者若しくは使用者に投与する医療関係者又は在宅投与の場合は患者若しくは使用者自身が水位を確認し、必要な場合には加湿器チャンバに更に水を追加することが重要である。この作業は見落とされる場合がある。これにより、気道が乾燥ガスに長期間暴露することによる危険が患者若しくは使用者にもたらされる可能性がある、患者若しくは使用者に不快感を生じさせる可能性がある、及び/又はガスの加湿操作の中断を招くおそれがある、又は幾つかの場合では、呼吸器加湿器システムが破損するおそれがある。水の不足、及びチャンバの水切れなどによるチャンバの乾燥もまた、送達される加湿の量を減少させるので、治療に支障を来す。
【0005】
幾つかの呼吸器加湿器システムは、水切れ状態を検知することができる及び/又は加湿器チャンバの熱伝導率の決定に基づいて水切れ警報を出力することができる。これらのシステムは、加湿器チャンバのヒータプレート、加湿器チャンバ出口、及び/又は呼吸回路の患者若しくは使用者端部などの、デバイスの様々な位置にあるフローセンサ及び/又は温度センサからの入力を必要とする場合がある。その結果、これらのフローセンサ及び/又は温度センサの全てを組み込んでいない呼吸器加湿器システムにはこのような水切れ検知及び/又は警報機能を実装することができない。
【課題を解決するための手段】
【0006】
本開示は、最小限の数のセンサ、例えば、ヒータプレートにある又はその近傍のわずか1つの温度センサからの入力によって水切れ状態を検知することができる及び/又は加湿器チャンバ水切れ警報を出力することができる呼吸器又は手術用加湿器システムの例を提供する。したがって、これらの水切れ検知及び/又は警報方法は、より多くの種類の加湿システム、又は加湿器を含み得る他の呼吸補助デバイス、例えば、高流量システム及び/若しくはCPAPシステムにおいて実施することができる。本明細書に開示される水切れ検知及び/又は警報方法は、補完電力入力波形(本明細書中の開示では、補完信号(supplementary signal)又は特性通電信号(characteristic energization signal)とも呼ばれ得る)を印加し、所定周波数でフィルタリングされたヒータプレート上の又はヒータプレート近傍の温度信号からヒータプレート温度信号及び/又は温度表示値の大きさ及び/又は位相を決定することによる、加湿器チャンバ(水などのその内容物を含む)の比熱容量の決定に基づくものであり得る。補完信号の印加は、補完信号を(例えば、待機モード中の)ヒータプレートの信号として印加することによって、又は補完信号をヒータプレート制御信号に注入することによって(例えば、ヒータプレート制御信号と補完信号とを合計する、調整する、インターリーブする、サイクリングする、又は同じ伝送線上で2つの信号を送信するための任意の他のスキームを使用することによって)実施され得る。この補完波形は、通常制御にバイアスをかけることなく、通常動作するヒータプレート電力信号などの通常のヒータプレート制御信号上に重畳され得る。補完波形は、周期的若しくは循環的であり得る、及び/又はゼロ平均を有し得る。波形は、通常制御にバイアスがかけられないようにすることができる。補完信号の周波数は、所定周波数であり得る。周波数は、周波数領域において、通常制御応答から分離されるように選択され得る。選択された周波数は、ヒータプレートの通常制御との干渉を回避するのに役立ち得る。一例では、補完信号の周波数は、従来の(ヒータプレート上に配置された加湿チャンバを加熱する目的での通常動作など)ヒータプレート制御信号よりも高くすることができ(例えば、その少なくとも1.5倍又は本明細書に開示されるその他の値である)、ヒータプレートを加熱するためのデューティサイクル等を出力することができる。
【0007】
本開示の全体を通して、加湿器チャンバの比熱容量は、特に明示的に記載されない限り、水などのその内容物を含む加湿器チャンバの比熱容量を指す。
【0008】
より少数のセンサを必要とすることに加えて、本明細書に開示される水切れ検知及び/又は警報方法はまた、以下の利点及び/又はその他の利点のいずれかを有し得る。例えば、本明細書に開示される水切れ検知及び/又は警報システムは、比熱容量の原理に基づいており、本質的に水量に関連している。これにより、システムをガスの流量から独立させることが可能になる。流量からの独立により、水切れ検知及び/又は警報方法を、流量に依存する検知方法に比べて、低流量非侵襲療法(例えば、約10L/min未満の小児非侵襲療法の流量)又は極めて低流量の侵襲療法(例えば、約5L/min未満の新生児侵襲療法)により適したものにすることを可能にできる。流量からの独立はまた、水切れ検知及び/又は警報方法が、フローセンサの誤差に影響されないこと又はシステムの流量状態について仮定する必要を回避することを可能にできる。本明細書中に記載される水切れ/警報方法は、様々な異なるプラットフォーム及び/又は様々な異なる種類のチャンバで機能することができるので、比熱容量をパラメータとして使用して水切れを決定することも有利である。記載される水切れ手法は、より柔軟であり且つより融通が利く。更に、本開示の水切れ検知方法は、例えば待機の場合時など、加湿器内にガス流がないときに水切れ状態(水のない又は実質的に水のない状態)を決定することができる。
【0009】
本明細書に開示される水切れ検知及び/又は警報方法はまた、湿度送達から独立させることができる又は湿度送達に対して不変であり得る。その結果、本明細書に開示される方法は、例えば、室内気の同伴及び/又はタービン駆動式フロー供給源を使用する非侵襲療法による、より低い湿度の発生につながる場合のガス送達により適し得る。これらのケースでは、流入湿度が高くなり得る(例えば、約10mg/L超)、流入ガス温度が高くなり得る(例えば、摂氏約30度超)、及び/又は周囲温度条件が高くなり得る(例えば、摂氏約25度超)。これにより、湿度添加要件の低下につながり、従来の水切れ検知方法には不利に影響する可能性がある。本明細書に開示される類似の水切れ方法は、高流量モード又は任意の他の動作モードでも使用することができる。
【0010】
本開示はまた、ヒータプレートの熱的結合を向上させ、モデル化されたヒータプレートのR成分及びC成分により熱伝達非効率性を低下させることができる改良ヒータプレート構造を提供する。特に、弾力性の電気絶縁体を含む改良ヒータプレートアセンブリは、水切れ検知のための補完信号を小さくすることを可能にし、振幅が増大した帰還信号を戻す。帰還信号は、信号対雑音比が向上したものである。弾力性の電気絶縁体は、以下に記載されるように、可撓性及び/又はコンプライアントであり得る。コンプライアント材料とは、材料が柔らかくなり、圧縮可能になる、及び/又は表面の形状に適合することができる能力を意味し得る。例えば、コンプライアント材料は、コンプライアント材料を挟むことができる他の材料の表面間のエアギャップを変位させることができてもよい。本開示の全体を通して、絶縁材料とは、熱伝導性でもあり得る電気絶縁材料を意味し得る。
(【0011】以降は省略されています)
この特許をJ-PlatPat(特許庁公式サイト)で参照する
関連特許
個人
健康器具
8か月前
個人
短下肢装具
3か月前
個人
鼾防止用具
8か月前
個人
洗井間専家。
6か月前
個人
脈波測定方法
8か月前
個人
嚥下鍛錬装置
3か月前
個人
前腕誘導装置
3か月前
個人
白内障治療法
7か月前
個人
脈波測定方法
8か月前
個人
排尿補助器具
6日前
個人
汚れ防止シート
21日前
個人
バッグ式オムツ
4か月前
個人
胸骨圧迫補助具
1か月前
個人
歯の修復用材料
3か月前
個人
ウォート指圧法
4日前
個人
ホバーアイロン
6か月前
個人
矯正椅子
4か月前
個人
アイマスク装置
1か月前
個人
湿布連続貼り機。
2か月前
個人
車椅子持ち上げ器
7か月前
個人
陣痛緩和具
3か月前
個人
口内洗浄具
8か月前
個人
哺乳瓶冷まし容器
2か月前
個人
歯の保護用シール
4か月前
三生医薬株式会社
錠剤
7か月前
個人
シャンプー
5か月前
株式会社結心
手袋
7か月前
株式会社八光
剥離吸引管
4か月前
個人
服薬支援装置
7か月前
個人
エア誘導コルセット
1か月前
個人
性行為補助具
2か月前
個人
治療用酸化防御装置
1か月前
株式会社大野
骨壷
3か月前
株式会社コーセー
化粧料
3日前
株式会社ファンケル
化粧料
7か月前
個人
手指運動ツール
2か月前
続きを見る
他の特許を見る