TOP
|
特許
|
意匠
|
商標
特許ウォッチ
Twitter
他の特許を見る
10個以上の画像は省略されています。
公開番号
2025157243
公報種別
公開特許公報(A)
公開日
2025-10-15
出願番号
2025104656,2022507526
出願日
2025-06-20,2020-08-05
発明の名称
方法、システム及びコンピュータ可読媒体
出願人
ライトラボ・イメージング・インコーポレーテッド
代理人
個人
,
個人
,
個人
,
個人
主分類
A61B
1/00 20060101AFI20251007BHJP(医学または獣医学;衛生学)
要約
【課題】冠動脈プラークの石灰化、拡張不良のステント等のリスクを定量化するための適切なツールを提供する。
【解決手段】本開示は、OCT又はIVUS画像データフレームを受信し、血管セグメントの1つ以上の表現を出力するシステム及び方法を提供する。画像データフレームは、様々なウィンドウ又はビン又は位置合わせの特徴を用いて伸ばされ及び/又は位置合わせされ得る。動脈の特徴、例えばカルシウム負荷が、画像データフレームの各々において検出され得る。動脈の特徴はスコアリングされ得る。スコアは、ステント拡張不良リスクであり得る。表現は、動脈の特徴及びその各スコアの表示を含み得る。表示は、色分け表示であり得る。
【選択図】図9A
特許請求の範囲
【請求項1】
第1のプルバック表現及び第2のプルバック表現に関連する1つ以上の動脈の特徴を表
示する方法であって、
1つ以上のプロセッサが、第1のフレーム群及び第2のフレーム群を受信することと、
前記1つ以上のプロセッサが、前記第1のフレーム群及び前記第2のフレーム群の各フ
レームにおける動脈の特徴を検出することと、
前記1つ以上のプロセッサが、前記第1のフレーム群及び前記第2のフレーム群の各フ
レームにおいて検出された前記動脈の特徴をスコアリングすることと、
前記1つ以上のプロセッサが、前記第1のフレーム群及び前記第2のフレーム群の表現
を出力することと、ここで、前記出力は、前記第1のフレーム群の少なくとも1つのフレ
ーム及び前記第2のフレーム群の少なくとも1つのフレームにおいて検出された前記動脈
の特徴のスコアの間の差、又は前記第1のフレーム群の前記少なくとも1つのフレーム及
び前記第2のフレーム群の前記少なくとも1つのフレームにおいて検出された前記動脈の
特徴における変化の視覚的表示を含む、
を含む方法。
続きを表示(約 1,100 文字)
【請求項2】
前記第1のフレーム群は、第1のプルバックから得られ、前記第2のフレーム群は、前
記第1のプルバックとは異なる第2のプルバックから得られる、請求項1に記載の方法。
【請求項3】
前記1つ以上のプロセッサが、前記第1のフレーム群の前記少なくとも1つのフレーム
において検出された前記動脈の特徴の前記スコア、及び前記第2のフレーム群の前記少な
くとも1つのフレームにおいて検出された前記動脈の特徴の前記スコアに基づいて、前記
第1のフレーム群の前記少なくとも1つのフレームを前記第2のフレーム群の前記少なく
とも1つのフレームと位置合わせすることを更に含む、請求項1に記載の方法。
【請求項4】
表現を出力することは、前記1つ以上のプロセッサが、少なくとも1つの値、印、又は
視覚的合図を出力することを更に含み、
前記少なくとも1つの値、印、又は視覚的合図は、色又はハッシングを含む、請求項1
に記載の方法。
【請求項5】
前記色は、検出された前記動脈の特徴の前記スコアに基づく色分けである、請求項6に
記載の方法。
【請求項6】
検出された前記動脈の特徴は、カルシウム負荷である、請求項1に記載の方法。
【請求項7】
前記カルシウムをスコアリングすることは、決定されたカルシウムアーク又は決定され
たカルシウム量に基づく、請求項6に記載の方法。
【請求項8】
前記1つ以上のプロセッサが、スコアリングされたカルシウム負荷に基づいて、フレー
ム単位でステント拡張を予測することを更に含む、請求項6に記載の方法。
【請求項9】
1つ以上のプロセッサが、血管セグメントの画像データを含む1つ以上のフレームを受
信することと、
前記1つ以上のプロセッサが、前記1つ以上のフレームの各々において動脈の特徴を検
出することと、
前記1つ以上のプロセッサが、前記1つ以上のフレームの各々における前記動脈の特徴
をスコアリングすることと、
前記1つ以上のプロセッサが、前記動脈の特徴のスコアに基づいて、関心領域を識別す
ることと、
前記1つ以上のプロセッサが、前記動脈の特徴のスコアに基づいて、前記関心領域に対
する前記スコアの視覚的表示を含む前記血管セグメントの表現を出力することと
を含む方法。
【請求項10】
検出された前記動脈の特徴は、カルシウム負荷である、請求項9に記載の方法。
(【請求項11】以降は省略されています)
発明の詳細な説明
【技術分野】
【0001】
[関連出願の相互参照]
本願は、2019年8月5日に出願された、冠動脈カルシウム負荷の縦断的表示(LONG
ITUDINAL DISPLAY OF CORONARY ARTERY CALCIUM BURDEN)という名称の米国仮特許出願第
62/883,066号の出願日の利益を主張し、その開示は、引用することにより本明
細書の一部をなすものとする。
続きを表示(約 2,600 文字)
【背景技術】
【0002】
一般に、冠動脈プラークは、線維性、脂質性、石灰化、血栓性、又はこれらのいくつか
の組み合わせである。石灰化プラークは、ステント留置又は血管形成術の間にてバルーン
を完全に拡張させなくすることがあるため、処置成功に対する特定のリスクをもたらし、
したがって、医師がカルシウムを識別してプラークを適切に処置することが極めて重要で
ある。一般に、光干渉断層撮影(OCT)が、各断面フレームにおけるプラーク組成物の
識別に特に有用である。OCT及び他のイメージングモダリティを、様々な動脈の特徴を
評価するために使用することができる。
【0003】
冠動脈プラークの石灰化は、ステントが完全に拡張するのを妨げる可能性がある。拡張
不良のステントは、ステント内再狭窄のリスク及び将来の処置の必要性を増大させる。し
たがって、インターベンションに関わる心臓専門医はこのリスクを認識し、対応して処置
ストラテジを適応させることが非常に重要である。しかし、現在の標準的な診療及び技術
水準では、リスクを定量化するための適切なツールは医師に提供されていない。血管造影
及びOCTはカルシウム沈着を可視化するのに役立つが、拡張不良のリスクを推定するの
に人手による経験則があり、依然として定量化不足かつ評価不足のリスクがある。
【図面の簡単な説明】
【0004】
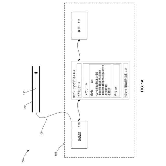
本開示の態様による例示的なシステムである。
本開示の態様による複数のインタフェース構成要素の一例である。
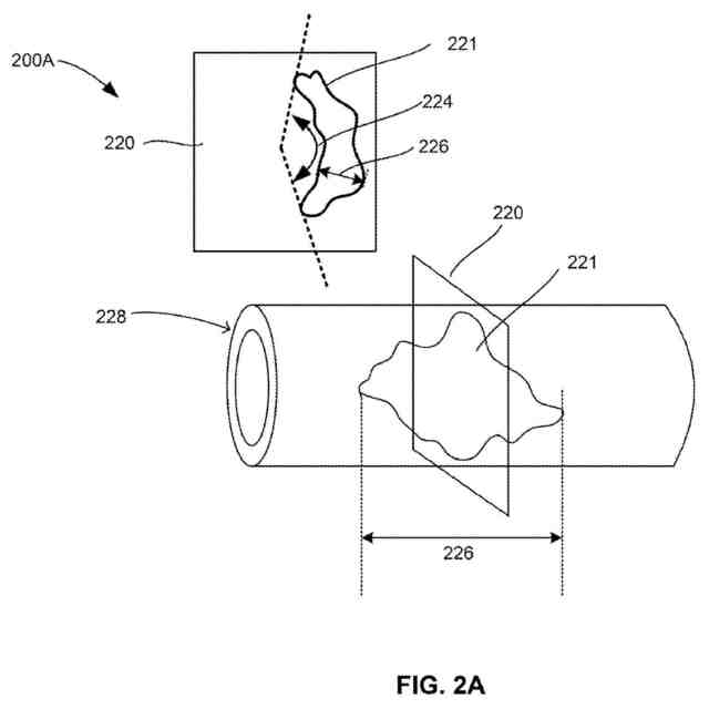
既存の例示的なスコアリング方法論である。
図2Aのスコアリング方法論の例示的なグラフィック表現である。
本開示の態様による図2Bのスコアリング方法論の例示的なグラフィック表現である。
本開示の態様による例示的な表示である。
本開示の態様による例示的な表示である。
本開示の態様による例示的なシステムである。
本開示の態様による例示的な血管である。
本開示の態様による複数のインタフェース構成要素の一例である。
交差検証結果の例示的なグラフィック表現である。
交差検証結果の例示的なグラフィック表現である。
本開示の態様による例示的な表示である。
本開示の態様による例示的なインタフェース構成要素である。
本開示の態様による例示的な表示である。
本開示の態様による血管の表現を出力する方法を示すフロー図である。
【発明を実施するための形態】
【0005】
詳細な説明のいくつかの部分は、方法、例えばコンピュータメモリ内のデータビット上
の動作のアルゴリズム及び記号表現に関して述べられている。これらのアルゴリズムの記
述及び表現は、コンピュータ及びソフトウェア関連分野の当業者によって使用可能である
。1つの実施形態において、アルゴリズムは、ここでは、そして一般的には、所望の結果
をもたらす自己矛盾のない動作シーケンスであると考えられる。本明細書において、方法
停止として実行される又は他の方法で記載される動作は、物理量の物理的操作を必要とす
るものである。必ずしもそうではないが、通常、これらの量は、保存、転送、結合、変換
、比較、及び他の方法で操作可能な電気的又は磁気的信号の形態をとる。
【0006】
本明細書で述べられるアルゴリズム及び表示は、いかなる特定のコンピュータ又は他の
装置にも本質的には関連しない。様々な汎用システムを、本明細書の教示に従ったプログ
ラムと共に使用する場合があり、又は必要な方法ステップを実行するためにより特別な装
置を構築することが便利であることが明らかとなる場合がある。これらの様々なシステム
のために必要な構造は、以下の記載から明らかとなる。
【0007】
本開示の態様、実施形態、特徴、及び例は、全ての点において例示的であるとみなされ
るべきであり、本開示を限定することを意図するものではなく、その範囲は特許請求の範
囲によってのみ定められる。他の実施形態、変形形態、及び使用法は、特許請求される発
明の骨子及び範囲から逸脱することなしに、当業者には明らかであろう。
【0008】
本願における見出し及び節の使用は、本発明を限定することを意味するものではない。
各節は、本発明の任意の態様、実施形態、又は特徴に適用することができる。
【0009】
本願全体において、組成物が、特定の構成要素を有する(having)、含む(including,
or comprising)と記載されている場合、又はプロセスが特定のプロセスステップを有す
る、含むと記載されている場合、本教示の組成物はまた、記載された構成要素から本質的
になる(consist essentially of)、又はこれからなる(consist of)ことが意図され、
本教示のプロセスはまた、記載されたプロセスステップから本質的になる、又はこれから
なることが意図される。
【0010】
本願において、要素又は構成要素が、記載された要素又は構成要素のリストに含まれる
及び/又はそこから選択されると言及されている場合、その要素又は構成要素は、記載さ
れた要素又は構成要素のうちの任意の1つであることが可能であり、記載された要素又は
構成要素のうちの2つ以上からなる群から選択可能であると理解されるべきである。さら
に、本明細書に記載される組成物、装置、又は方法の要素及び/又は特徴は、本明細書に
明示されているか又は暗示されているかにかかわらず、本教示の骨子及び範囲から逸脱す
ることなしに様々な方法で組み合わせることができることが理解されるべきである。
(【0011】以降は省略されています)
この特許をJ-PlatPat(特許庁公式サイト)で参照する
関連特許
個人
短下肢装具
2か月前
個人
嚥下鍛錬装置
3か月前
個人
脈波測定方法
7か月前
個人
排尿補助器具
4日前
個人
前腕誘導装置
3か月前
個人
白内障治療法
7か月前
個人
洗井間専家。
6か月前
個人
ウォート指圧法
2日前
個人
胸骨圧迫補助具
1か月前
個人
矯正椅子
4か月前
個人
バッグ式オムツ
4か月前
個人
汚れ防止シート
19日前
個人
アイマスク装置
1か月前
個人
歯の修復用材料
3か月前
個人
ホバーアイロン
6か月前
個人
湿布連続貼り機。
2か月前
個人
車椅子持ち上げ器
7か月前
個人
陣痛緩和具
3か月前
個人
シャンプー
5か月前
個人
歯の保護用シール
4か月前
三生医薬株式会社
錠剤
7か月前
個人
哺乳瓶冷まし容器
2か月前
個人
性行為補助具
2か月前
株式会社八光
剥離吸引管
4か月前
株式会社コーセー
化粧料
1日前
個人
服薬支援装置
7か月前
株式会社大野
骨壷
3か月前
個人
治療用酸化防御装置
1か月前
株式会社結心
手袋
7か月前
個人
エア誘導コルセット
1か月前
個人
シリンダ式歩行補助具
2か月前
個人
高気圧環境装置
4か月前
株式会社ニデック
眼科装置
8日前
株式会社ニデック
眼科装置
4か月前
個人
歯列矯正用器具
7か月前
株式会社ファンケル
化粧料
7か月前
続きを見る
他の特許を見る