TOP
|
特許
|
意匠
|
商標
特許ウォッチ
Twitter
他の特許を見る
公開番号
2025156925
公報種別
公開特許公報(A)
公開日
2025-10-15
出願番号
2024059695
出願日
2024-04-02
発明の名称
空調空間生成システム
出願人
パナソニックIPマネジメント株式会社
代理人
個人
,
個人
主分類
F24F
5/00 20060101AFI20251007BHJP(加熱;レンジ;換気)
要約
【課題】風の影響を受ける環境においても空調空間を生成する技術を提供する。
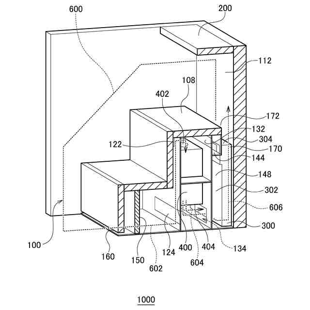
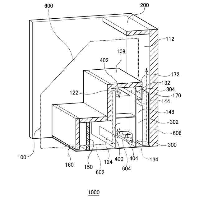
【解決手段】空調機(300)が冷房運転を実行する。第1開口(170、172)は、壁面(112)に沿って上昇するように空気を吹き出す。偏向板(200)は、壁面(112)に沿って上昇した空気を前側に向かわせる。第2開口(160)は、偏向板(200)により前側に向かって下降した空気を吸い込む。第1開口(170、172)から吹き出される空気は、送風機(400)と空調機(300)とを通過した空気と、送風機(400)を通過するが空調機(300)を通過しない空気である。
【選択図】図5
特許請求の範囲
【請求項1】
冷房運転が可能な空調機と、
前記空調機に連通する送風機と、
本体とを備えた空調空間生成システムであって、
前記本体は、
上方に向けて開口した第1開口と、
壁面において、前記第1開口の上側に設置される偏向板と、
前記第1開口よりも下側に配置される第2開口とを備え、
前記空調機が冷房運転を実行する場合、
前記第1開口は、前記壁面に沿って上昇するように空気を吹き出し、
前記偏向板は、前記壁面に沿って上昇した空気を前側に向かわせ、
前記第2開口は、前記偏向板により前側に向かって下降した空気を吸い込み、
前記第1開口から吹き出される空気は、前記送風機と前記空調機とを通過した空気と、前記送風機を通過するが前記空調機を通過しない空気である空調空間生成システム。
続きを表示(約 3,400 文字)
【請求項2】
暖房運転と冷房運転とを切り替えて空調を実行する空調機と、
前記空調機により空調された空気の吹出、または前記空調機に空調させる空気の吸込を実行する送風機と、
前記空調機と前記送風機を内部に格納するとともに、壁面に沿って設置される筐体と、
前記筐体の前側面に配置される前側開口と、
前記筐体の上側面に配置される第1上側開口と第2上側開口と、
前記壁面において、前記第1上側開口と第2上側開口の上側に設置される偏向板とを備え、
前記空調機が暖房運転を実行する場合、
前記前側開口は空気を前側に吹き出し、
前記偏向板は、前記前側開口から前側に吹き出された後、前記壁面側に向かって上昇した空気を前記壁面に沿って下降させ、
前記第1上側開口は、前記偏向板により下降される空気を吸い込み、
前記空調機が冷房運転を実行する場合、
前記第1上側開口と前記第2上側開口は、前記壁面に沿って上昇するように空気を吹き出し、
前記偏向板は、前記壁面に沿って上昇した空気を前側に向かわせ、
前記前側開口は、前記偏向板により前側に向かって下降した空気を吸い込み、
前記第1上側開口は、前記送風機を通過するが前記空調機を通過しない空気を吹き出し、
前記第2上側開口は、前記送風機と前記空調機を通過した空気を吹き出す空調空間生成システム。
【請求項3】
前記筐体の内部において、前記空調機の前側に前記送風機が配置され、
前記空調機は、前下側に配置される空調機吸込口と、上側に配置される空調機吹出口とを有し、
前記送風機は、上側に配置される送風機吸込口と、下側に配置される送風機吹出口とを有し、
前記空調機が暖房運転を実行する場合、
前記第1上側開口から前記空調機吸込口に至る第1暖房経路が形成され、
前記空調機吹出口は前側を向き、
前記空調機吹出口から前記送風機吸込口に至る第2暖房経路が形成され、
前記送風機吹出口から前記前側開口に至る第3暖房経路が形成され、
前記空調機が冷房運転を実行する場合、
前記前側開口から前記送風機吸込口に至る第1冷房経路が形成され、
前記送風機吹出口から前記空調機吸込口に至る第2冷房経路が形成され、
前記送風機吹出口から前記空調機を通過せずに前記第1上側開口に至るバイパス経路が形成され、
前記空調機吹出口は上側を向いて前記第2上側開口となる請求項2に記載の空調空間生成システム。
【請求項4】
前記筐体は、前記第2暖房経路において開閉可能な後上側閉塞板と、前記第3暖房経路において開閉可能な前下側閉塞板と、前記第1冷房経路において開閉可能な前上側閉塞板と、前記第2冷房経路において開閉可能な後下側閉塞板とを備え、
前記空調機が暖房運転を実行する場合、前記後上側閉塞板と前記前下側閉塞板が開けられ、前記前上側閉塞板と前記後下側閉塞板が閉じられ、
前記空調機が冷房運転を実行する場合、前記後上側閉塞板と前記前下側閉塞板が閉じられ、前記前上側閉塞板と前記後下側閉塞板が開けられる請求項3に記載の空調空間生成システム。
【請求項5】
壁面から離間して設置され、かつ第1端側から第2端側まで横方向に延びる上側中空板と、
前記上側中空板の下側において前記壁面から離間して設置され、かつ前記第1端側から前記第2端側まで横方向に延びる下側中空板と、
前記壁面において前記上側中空板の上側に設置される上側偏向板と、
空調機を内蔵する空調ユニットとを備え、
前記上側中空板の前記第1端側には上側開口が設けられ、
前記上側中空板は、前記壁面に対向する上側後面に複数の上側ファンを有し、
前記上側中空板と前記壁面との間には、前記上側後面と前記壁面との間が下向きに封鎖されることによって、上向きに開口する上向き開口が配置され、
前記下側中空板の前記第1端側には下側開口が設けられ、
前記下側中空板は、前記壁面に対向する下側後面に複数の下側ファンを有し、
前記下側中空板と前記壁面との間には、前記下側後面と前記壁面との間が上向きに封鎖されることによって、下向きに開口する下向き開口が配置され、
前記空調ユニットは、前記上側開口と前記下側開口に接続され、
暖房運転の場合、
前記空調機は、空気を前記下側開口に吹き出し、
前記下側開口から前記下側中空板内に空気が吸い込まれ、
前記複数の前記下側ファンが前記下側中空板内の空気を前記下向き開口から下向きに吹き出し、
前記上側偏向板は、前記下向き開口から下側に吹き出された後、前記壁面側に向かって上昇した空気を下降させ、
前記上側偏向板により下降される空気が前記上向き開口から前記上側中空板内に吸い込まれ、
前記空調機は、前記上側中空板内の空気を前記上側開口から吸い込み、
冷房運転の場合、
前記空調機は、空気を前記上側開口に吹き出し、
前記上側開口から前記上側中空板内に空気が吸い込まれ、
前記複数の前記上側ファンが前記上側中空板内の空気を前記上向き開口から上向きに吹き出し、
前記上側偏向板は、上昇した空気を、前記壁面から離れる前側に向かわせ、
前記上側偏向板により前側に向かって下降した空気が前記下向き開口から前記下側中空板内に吸い込まれ、
前記空調機は、前記上側中空板内の空気を前記下側開口から吸い込み、
前記上側開口から前記上側中空板内に吸い込まれる空気は、前記空調機から吹き出された空気と、前記空調機を通過しない空気である空調空間生成システム。
【請求項6】
前記複数の前記上側ファンと前記複数の前記下側ファンは双方向ファンであり、
暖房運転の場合、
前記複数の前記下側ファンは前記下側中空板内の空気を吹き出し、
前記複数の前記上側ファンは前記上側中空板内に空気を吸い込み、
冷房運転の場合、
前記複数の前記上側ファンは前記上側中空板内の空気を吹き出し、
前記複数の前記下側ファンは前記下側中空板内に空気を吸い込む請求項5に記載の空調空間生成システム。
【請求項7】
前記複数の前記上側ファンと前記複数の前記下側ファンは単一方向ファンであり、
暖房運転の場合、
前記複数の前記下側ファンは前記下側中空板内の空気を吹き出し、
前記複数の前記上側ファンは停止し、
冷房運転の場合、
前記複数の前記上側ファンは前記上側中空板内の空気を吹き出し、
前記複数の前記下側ファンは停止する請求項5に記載の空調空間生成システム。
【請求項8】
前記上側偏向板は中空構造を有する請求項5から7のいずれか1項に記載の空調空間生成システム。
【請求項9】
前記上側偏向板の前記第1端側には上側偏向板開口が設けられ、
前記上側偏向板の前記第2端側と前記上側中空板の前記第2端側は連通し、
暖房運転の場合、
前記上側開口と前記上側偏向板開口から前記上側中空板内の空気が吹き出され、
冷房運転の場合、
前記上側開口と前記上側偏向板開口から前記上側中空板内に空気が吸い込まれる請求項8に記載の空調空間生成システム。
【請求項10】
前記壁面において前記下側中空板の下側に設置される下側偏向板をさらに備え、
暖房運転の場合、
前記下側偏向板は、前記下向き開口から下側に吹き出された空気を前記壁面側に向かって上昇させ、
前記冷房運転の場合、
前記下側偏向板は、前記上側偏向板により前側に向かって下降した空気を前記下向き開口に向かって上昇させる請求項5から7のいずれか1項に記載の空調空間生成システム。
(【請求項11】以降は省略されています)
発明の詳細な説明
【技術分野】
【0001】
本開示は、空調空間生成システムに関する。
続きを表示(約 2,400 文字)
【背景技術】
【0002】
工場内の各作業領域を効率的に冷暖房するために、各作業領域に室内機と人感センサを設け、人感センサにより人の存在が検知されると検知順に室内機を運転させる(例えば、特許文献1)。
【先行技術文献】
【特許文献】
【0003】
特開2008-175507号公報
【発明の概要】
【発明が解決しようとする課題】
【0004】
駅の利用者の快適に向上するために、プラットフォームに設置される椅子の近傍を空調することが望まれる。例えば、椅子を囲むような待合室を設置し、待合室内が空調される。しかしながら、プラットフォームのサイズに比較して待合室のサイズが大きい場合、待合室の設置が困難である。また、プラットフォームのような屋外の環境では風の影響を受ける。
【0005】
本開示は、上記課題を解決するためになされたものであり、風の影響を受ける屋外の環境あるいは屋内のオープン空間などにおいて空調空間を生成する技術を提供することを目的とする。
【課題を解決するための手段】
【0006】
上記課題を解決するために、本開示のある態様の空調空間生成システムは、冷房運転が可能な空調機と、空調機に連通する送風機と、本体とを備えた空調空間生成システムであって、本体は、上方に向けて開口した第1開口と、壁面において、第1開口の上側に設置される偏向板と、第1開口よりも下側に配置される第2開口とを備える。空調機が冷房運転を実行する場合、第1開口は、壁面に沿って上昇するように空気を吹き出し、偏向板は、壁面に沿って上昇した空気を前側に向かわせ、第2開口は、偏向板により前側に向かって下降した空気を吸い込み、第1開口から吹き出される空気は、送風機と空調機とを通過した空気と、送風機を通過するが空調機を通過しない空気である。
【0007】
本開示の別の態様もまた、空調空間生成システムである。この空調空間生成システムは、暖房運転と冷房運転とを切り替えて空調を実行する空調機と、空調機により空調された空気の吹出、または空調機に空調させる空気の吸込を実行する送風機と、空調機と送風機を内部に格納するとともに、壁面に沿って設置される筐体と、筐体の前側面に配置される前側開口と、筐体の上側面に配置される第1上側開口と第2上側開口と、壁面において、第1上側開口と第2上側開口の上側に設置される偏向板とを備える。空調機が暖房運転を実行する場合、前側開口は空気を前側に吹き出し、偏向板は、前側開口から前側に吹き出された後、壁面側に向かって上昇した空気を壁面に沿って下降させ、第1上側開口は、偏向板により下降される空気を吸い込み、空調機が冷房運転を実行する場合、第1上側開口と第2上側開口は、壁面に沿って上昇するように空気を吹き出し、偏向板は、壁面に沿って上昇した空気を前側に向かわせ、前側開口は、偏向板により前側に向かって下降した空気を吸い込み、第1上側開口は、送風機を通過するが空調機を通過しない空気を吹き出し、第2上側開口は、送風機と空調機を通過した空気を吹き出す。
【0008】
本開示のさらに別の態様もまた、空調空間生成システムである。この空調空間生成システムは、壁面から離間して設置され、かつ第1端側から第2端側まで横方向に延びる上側中空板と、上側中空板の下側において壁面から離間して設置され、かつ第1端側から第2端側まで横方向に延びる下側中空板と、壁面において上側中空板の上側に設置される上側偏向板と、空調機を内蔵する空調ユニットとを備える。上側中空板の第1端側には上側開口が設けられ、上側中空板は、壁面に対向する上側後面に複数の上側ファンを有する。上側中空板と壁面との間には、上側後面と壁面との間が下向きに封鎖されることによって、上向きに開口する上向き開口が配置され、下側中空板の第1端側には下側開口が設けられ、下側中空板は、壁面に対向する下側後面に複数の下側ファンを有する。下側中空板と壁面との間には、下側後面と壁面との間が上向きに封鎖されることによって、下向きに開口する下向き開口が配置され、空調ユニットは、上側開口と下側開口に接続され、暖房運転の場合、空調機は、空気を下側開口に吹き出し、下側開口から下側中空板内に空気が吸い込まれ、複数の下側ファンが下側中空板内の空気を下向き開口から下向きに吹き出し、上側偏向板は、下向き開口から下側に吹き出された後、壁面側に向かって上昇した空気を下降させ、上側偏向板により下降される空気が上向き開口から上側中空板内に吸い込まれ、空調機は、上側中空板内の空気を上側開口から吸い込み、冷房運転の場合、空調機は、空気を上側開口に吹き出し、上側開口から上側中空板内に空気が吸い込まれ、複数の上側ファンが上側中空板内の空気を上向き開口から上向きに吹き出し、上側偏向板は、上昇した空気を、壁面から離れる前側に向かわせ、上側偏向板により前側に向かって下降した空気が下向き開口から下側中空板内に吸い込まれ、空調機は、上側中空板内の空気を下側開口から吸い込み、上側開口から上側中空板内に吸い込まれる空気は、空調機から吹き出された空気と、空調機を通過しない空気である。
【0009】
なお、以上の構成要素の任意の組合せ、本開示の表現を方法、装置、システム、記録媒体、コンピュータプログラムなどの間で変換したものもまた、本開示の態様として有効である。
【発明の効果】
【0010】
本開示によれば、風の影響を受ける環境においても空調空間を生成できる。
【図面の簡単な説明】
(【0011】以降は省略されています)
この特許をJ-PlatPat(特許庁公式サイト)で参照する
関連特許
株式会社コロナ
空調装置
3か月前
株式会社コロナ
空調装置
8日前
株式会社コロナ
空調装置
18日前
株式会社コロナ
加湿装置
28日前
株式会社コロナ
空調装置
2か月前
株式会社コロナ
給湯装置
2か月前
株式会社コロナ
空調装置
1か月前
個人
住宅換気空調システム
1か月前
株式会社コロナ
空気調和機
2か月前
株式会社コロナ
空気調和機
1か月前
個人
太陽光パネル傾斜装置
3日前
株式会社コロナ
風呂給湯機
1か月前
個人
シンプルクーラー
1日前
株式会社コロナ
直圧式給湯機
1か月前
株式会社コロナ
貯湯式給湯機
22日前
株式会社パロマ
給湯器
3か月前
株式会社コロナ
貯湯式給湯機
14日前
株式会社コロナ
暖房システム
18日前
株式会社コロナ
直圧式給湯機
3か月前
ホーコス株式会社
排気フード
2か月前
株式会社コロナ
貯湯式給湯装置
3か月前
三菱電機株式会社
換気扇
2日前
三菱電機株式会社
換気扇
2日前
三菱電機株式会社
換気扇
2日前
株式会社コロナ
輻射式冷房装置
1か月前
ホーコス株式会社
換気扇取付枠
1か月前
株式会社パロマ
給湯暖房機
3か月前
株式会社パロマ
給湯暖房機
3か月前
株式会社パロマ
給湯暖房機
3か月前
株式会社パロマ
給湯暖房機
3か月前
株式会社パロマ
給湯暖房機
3か月前
株式会社パロマ
給湯暖房機
3か月前
個人
籾殻(そば殻)燃焼ストーブ
1か月前
株式会社パロマ
給湯暖房機
3か月前
株式会社パロマ
給湯暖房機
3か月前
株式会社ツインバード
加熱調理器
28日前
続きを見る
他の特許を見る