TOP
|
特許
|
意匠
|
商標
特許ウォッチ
Twitter
他の特許を見る
公開番号
2025156395
公報種別
公開特許公報(A)
公開日
2025-10-14
出願番号
2025124872,2022542815
出願日
2025-07-25,2021-08-03
発明の名称
IL-8抑制剤、皮膚抗老化剤、およびそれを用いて皮膚老化を抑制する方法
出願人
株式会社 資生堂
代理人
個人
,
個人
,
個人
,
個人
,
個人
,
個人
主分類
A61K
8/9789 20170101AFI20251002BHJP(医学または獣医学;衛生学)
要約
【課題】IL-8抑制剤、皮膚抗老化剤、およびそれを用いて皮膚老化を抑制する方法の提供。
【解決手段】イブキジャコウ抽出物、ウイキョウ抽出物、バラ抽出物、マジョラム抽出物、セイヨウバラ抽出物の少なくともいずれかを有効成分として含む、IL-8抑制剤、IL-8翻訳抑制剤、皮膚抗老化剤を提供する。本願の皮膚抗老化剤は、IL-8抑制を介して皮膚の抗老化を達成される。
【選択図】なし
特許請求の範囲
【請求項1】
イブキジャコウ抽出物、ウイキョウ抽出物、バラ抽出物、マジョラム抽出物、セイヨウバラ抽出物の少なくともいずれかを有効成分として含む、IL-8抑制剤。
続きを表示(約 310 文字)
【請求項2】
イブキジャコウ抽出物、ウイキョウ抽出物、バラ抽出物、マジョラム抽出物、セイヨウバラ抽出物の少なくともいずれかを有効成分として含む、IL-8翻訳抑制剤。
【請求項3】
請求項1又は2に記載の薬剤を含む、皮膚抗老化剤。
【請求項4】
皮膚抗老化は皮膚幹細胞の増殖促進により達成される、請求項3に記載の皮膚抗老化剤。
【請求項5】
皮膚抗老化は皮膚老化細胞の増加抑制により達成される、請求項3又は4に記載の皮膚抗老化剤。
【請求項6】
皮膚抗老化はIL-8による皮膚幹細胞の老化抑制により達成される、請求項3~5のいずれか1項に記載の皮膚抗老化剤。
発明の詳細な説明
【技術分野】
【0001】
本発明は、IL-8抑制剤、皮膚抗老化剤、およびそれを用いて皮膚老化を抑制する方法に関する。
続きを表示(約 1,800 文字)
【背景技術】
【0002】
皮膚老化を抑制するために様々な方策が検討されている。老化にはSASP(senescence-associated secretory phenotype)と称される現象が関与することが報告されており、SASP因子としてIL-8,IL-6といったサイトカインが知られている(非特許文献1-3)。よって、IL-8を抑制する物質により皮膚老化を抑制できることが期待されている。
【0003】
例えば、特許文献1は、表皮細胞に側面方向から圧力負荷を加える工程を含み、該表皮細胞が放出するIL-8といった炎症性因子の活性を指標として、シワ形成抑制剤及び/又は抗炎症剤をスクリーニングする方法を開示する。
【0004】
皮膚細胞のIL-8を抑制する物質として、特許文献2は、プラシノコッカス目由来の微細藻類細胞から得ることができるゲル形成性多糖類を開示する。特許文献3は、IL-8といった炎症促進性遺伝子の発現を低減させるのに使用され、アトピー性皮膚炎等の炎症性障害及び/又は自己免疫障害及び/又はアレルギー障害の治療又は予防に使用するための、バクテロイデス・テタイオタオミクロン又はその生物型を含む組成物を開示する。
【先行技術文献】
【特許文献】
【0005】
特開2014-171441号公報
特許第6270822号公報
特開2018-90591号公報
【非特許文献】
【0006】
Juan C. Acosta, Ana Loghlen, Ana Banito, Selina Raguz & Jesus Gil (2008), "Control of senescence by CXCR2 and its ligands" , Cell Cycle, 7:19, 2956-2959, DOI: 10.4161/cc.7.19.6780
Francis Rodier and Judith Campisi, "Four faces of cellular senescence", J. Cell Biol. Vol. 192 No. 4, 547-556, doi/10.1083/jcb.201009094
原 英二, 「細胞老化の新局面」, 実験医学 Vol.37, No.11 (7月号) 2019, pp1728-1734
【発明の概要】
【発明が解決しようとする課題】
【0007】
本発明の課題は、IL-8抑制剤、皮膚抗老化剤、およびそれを用いて皮膚老化を抑制する方法を提供することにある。
【課題を解決するための手段】
【0008】
本発明者らは、鋭意検討の結果、IL-8を抑制、とりわけIL-8の翻訳を抑制する物質を探索し、IL-8抑制剤の適用により皮膚老化を抑制することに想到し、本発明を為すに至った。
【0009】
本願は下記の発明を包含する:
(1) イブキジャコウ抽出物、ウイキョウ抽出物、バラ抽出物、マジョラム抽出物、セイヨウバラ抽出物の少なくともいずれかを有効成分として含む、IL-8抑制剤。
(2) イブキジャコウ抽出物、ウイキョウ抽出物、バラ抽出物、マジョラム抽出物、セイヨウバラ抽出物の少なくともいずれかを有効成分として含む、IL-8翻訳抑制剤。
(3) (1)又は(2)に記載の薬剤を含む、皮膚抗老化剤。
(4) 皮膚抗老化は皮膚幹細胞の増殖促進により達成される、(3)に記載の皮膚抗老化剤。
(5) 皮膚抗老化は皮膚老化細胞の増加抑制により達成される、(3)又は(4)に記載の皮膚抗老化剤。
(6) 皮膚抗老化はIL-8による皮膚幹細胞の老化抑制により達成される、(3)~(5)のいずれか1項に記載の皮膚抗老化剤。
(7) (1)~(6)のいずれか1項に記載の薬剤の適用により皮膚老化を抑制する美容方法。
【発明の効果】
【0010】
本発明によれば、IL-8抑制剤の適用により皮膚老化の抑制に有効な剤および方法が提供される。
【図面の簡単な説明】
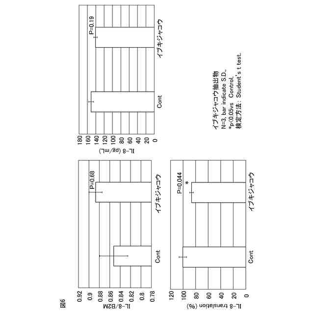
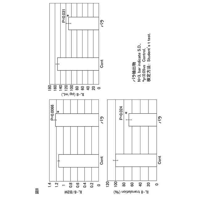
(【0011】以降は省略されています)
この特許をJ-PlatPat(特許庁公式サイト)で参照する
関連特許
資生堂ホネケーキ工業株式会社
粉末造粒物
2か月前
株式会社 資生堂
化粧料組成物
1か月前
株式会社 資生堂
化粧料組成物
11日前
株式会社 資生堂
化粧料組成物
12日前
株式会社 資生堂
化粧料組成物
2か月前
株式会社 資生堂
水中油型乳化化粧料
12日前
株式会社 資生堂
コーヌリン発現促進剤
1か月前
資生堂ホネケーキ工業株式会社
ゲル状洗浄剤及びその製造方法
2か月前
株式会社 資生堂
VI型コラーゲンを評価する方法
2か月前
株式会社 資生堂
植物抽出物組成物およびその用途
4日前
株式会社 資生堂
二重容器およびキャップ付き二重容器
1か月前
株式会社 資生堂
ヒアルロン酸産生促進のための組成物
1か月前
株式会社 資生堂
二重容器およびキャップ付き二重容器
1か月前
株式会社 資生堂
評価方法、評価装置、およびプログラム
6日前
株式会社 資生堂
水中油型乳化化粧料組成物又は水系化粧料組成物
12日前
KDDI株式会社
通知装置、通知方法、通知システム及びプログラム
2か月前
株式会社 資生堂
針状突起付きパーツ
25日前
株式会社 資生堂
RALDH2発現増強剤
1か月前
株式会社 資生堂
グルタチオン産生促進剤
1か月前
株式会社 資生堂
VII型コラーゲン分泌促進剤
2か月前
株式会社 資生堂
油中水型乳化日焼け止め化粧料
2か月前
株式会社 資生堂
IL-8抑制剤、皮膚抗老化剤、およびそれを用いて皮膚老化を抑制する方法
1か月前
株式会社 資生堂
血小板由来成長因子(PDGF)-BB産生亢進剤、及びそれを含む幹細胞安定化剤、並びにそれらを含む皮膚抗老化剤
25日前
株式会社 資生堂
飲食品組成物、抗老化剤、ミトコンドリア機能不全改善剤、ニコチンアミドホスホリボシルトランスフェラーゼ産生促進剤、ニコチンアミドアデニンジヌクレオチド産生促進剤、サーチュイン1産生促進剤、及びメラニン産生抑制剤
1か月前
個人
貼付剤
1か月前
個人
簡易担架
25日前
個人
短下肢装具
4か月前
個人
足踏み器具
1か月前
個人
腋臭防止剤
25日前
個人
前腕誘導装置
4か月前
個人
嚥下鍛錬装置
5か月前
個人
排尿補助器具
1か月前
個人
洗井間専家。
8か月前
個人
白内障治療法
9か月前
個人
水分吸収性物品
4日前
個人
バッグ式オムツ
5か月前
続きを見る
他の特許を見る