TOP
|
特許
|
意匠
|
商標
特許ウォッチ
Twitter
他の特許を見る
10個以上の画像は省略されています。
公開番号
2025155802
公報種別
公開特許公報(A)
公開日
2025-10-14
出願番号
2024231796
出願日
2024-12-27
発明の名称
半導体装置、光電変換システム、半導体装置の製造方法
出願人
キヤノン株式会社
代理人
個人
,
個人
,
個人
,
個人
,
個人
主分類
H10F
39/18 20250101AFI20251002BHJP()
要約
【課題】 本発明の半導体装置は、水分等の侵入によるチップに含まれる半導体層の機能低下を低減することを目的とする。
【解決手段】 半導体装置は、第1配線構造と第1半導体層とを含む第1基板と、第2配線構造と第2半導体層とを含む第2基板と、外部の端子と接続されるパッドと、を有し、前記第1配線構造に含まれる第1金属パターンと前記第2配線構造に含まれる第2金属パターンとを接合して前記第1半導体層と前記第2半導体層とは互いに電気的に接続されており、前記第1半導体層側から視た平面視において、前記第2半導体層は前記第1半導体層より大きく、前記パッドは、平面視において、前記第1半導体層よりも外側に配されており、前記第1半導体層の側面の少なくとも一部及び前記第1配線構造の側面の少なくとも一部に延在して第1保護膜が配置され、前記第1保護膜は、窒素を含む。
【選択図】 図1
特許請求の範囲
【請求項1】
第1配線構造と第1半導体層とを含む第1基板と、
第2配線構造と第2半導体層とを含む第2基板と、
外部の端子と接続されるパッドと、を有し、
前記第1配線構造に含まれる第1金属パターンと前記第2配線構造に含まれる第2金属パターンとを接合して前記第1半導体層と前記第2半導体層とは互いに電気的に接続されており、
前記第1半導体層側から視た平面視において、前記第2半導体層は前記第1半導体層より大きく、
前記パッドは、平面視において、前記第1半導体層よりも外側に配されており、
前記第1半導体層の側面の少なくとも一部及び前記第1配線構造の側面の少なくとも一部に延在して第1保護膜が配置され、
前記第1保護膜は、窒素を含むことを特徴とする半導体装置。
続きを表示(約 740 文字)
【請求項2】
前記第1保護膜は、SiNまたはSiONを含むことを特徴とする請求項1に記載の半導体装置。
【請求項3】
前記第1保護膜は、前記第1半導体層の側面の全面に配置されることを特徴とする請求項2に記載の半導体装置。
【請求項4】
前記平面視において、前記第1保護膜は、前記第1半導体層の外に位置する前記第2配線構造と重なることを特徴とする請求項3に記載の半導体装置。
【請求項5】
前記第2配線構造は、前記第2金属パターンと同じ高さに配された第3金属パターンを有するガード構造を含み、
前記平面視において、前記第1保護膜は前記第3金属パターンと前記第1保護膜との接触部が前記第1半導体層の外に位置することを特徴とする請求項1に記載の半導体装置。
【請求項6】
前記接触部は、前記平面視において、前記第1半導体層のエッジの外に位置することを特徴とする請求項5に記載の半導体装置。
【請求項7】
前記第3金属パターンはCuを主成分とする材料から構成されることを特徴とする請求項6に記載の半導体装置。
【請求項8】
前記第1保護膜は、前記第1半導体層において前記第2半導体層とは反対の側の面まで延在することを特徴とする請求項1に記載の半導体装置。
【請求項9】
前記第1半導体層の側面と前記第1保護膜との間に絶縁膜が配置されることを特徴とする請求項1に記載の半導体装置。
【請求項10】
前記第1半導体層の側面と前記第1保護膜との最短距離は300nm以下であることを特徴とする請求項1に記載の半導体装置。
(【請求項11】以降は省略されています)
発明の詳細な説明
【技術分野】
【0001】
本発明は、半導体装置、光電変換システム、及び半導体装置の製造方法に関する。
続きを表示(約 2,500 文字)
【背景技術】
【0002】
近年、半導体素子が設けられた大きさの異なる半導体層同士を積層した半導体装置が知られている。特許文献1には、半導体層と配線構造を含むチップと、半導体層と配線構造を含むウエハとを各配線構造に含まれる金属パターンのCu-Cu接合を用いて接合するChip On Wafer(CoW)に関する技術が提案されている。Cu-Cu接合において、チップの配線層に含まれる金属パターンとウエハの配線層に含まれる金属パターンとを直接接合している。また、特許文献1には、チップとウエハとを接合した後に、支持基板に貼り合わせることが開示されている。
【先行技術文献】
【特許文献】
【0003】
特開2022-89275号公開公報
【発明の概要】
【発明が解決しようとする課題】
【0004】
特許文献1に開示の技術は、水分等がチップに含まれる半導体層に侵入し、半導体装置の機能が低下する可能性がある。また、特許文献1に開示の技術は、基板との貼り合わせ不良が生じる可能性がある。
【0005】
本発明の半導体装置は、水分等の侵入によるチップに含まれる半導体層の機能低下を低減することを目的とする。また、本発明の半導体装置の製造方法は、基板との貼り合わせ不良を低減することを目的とする。
【課題を解決するための手段】
【0006】
本発明の一つの形態に係る半導体装置は、第1配線構造と第1半導体層とを含む第1基板と、第2配線構造と第2半導体層とを含む第2基板と、外部の端子と接続されるパッドと、を有し、前記第1配線構造に含まれる第1金属パターンと前記第2配線構造に含まれる第2金属パターンとを接合して前記第1半導体層と前記第2半導体層とは互いに電気的に接続されており、前記第1半導体層側から視た平面視において、前記第2半導体層は前記第1半導体層より大きく、前記パッドは、平面視において、前記第1半導体層よりも外側に配されており、前記第1半導体層の側面の少なくとも一部及び前記第1配線構造の側面の少なくとも一部に延在して第1保護膜が配置され、前記第1保護膜は、窒素を含む。
【0007】
本発明の一つの形態に係る半導体装置は、第1配線構造と光電変換素子を有する第1半導体層とを含む第1基板と、第2配線構造と第2半導体層とを含む第2基板と、を有し、前記第1配線構造に含まれる第1金属パターンと前記第2配線構造に含まれる第2金属パターンとを接合して前記第1半導体層と前記第2半導体層とは互いに電気的に接続されており、前記第1半導体層側から視た平面視において、前記第2半導体層は前記第1半導体層より大きく、前記第1半導体層の側面の少なくとも一部及び前記第1配線構造の側面の少なくとも一部に延在して第1保護膜が配置され、前記第1保護膜は、窒素を含む。
【0008】
本発明の一形態に係る半導体装置の製造方法は、第1配線構造と光電変換素子を有する第1半導体層とを含む第1基板と、第2配線構造と第2半導体層とを含む第2基板と、が積層された接合体を準備する工程と、前記接合体の上面及び側面に、窒素を含む第1保護膜と、第2保護膜とが順に配置された保護膜を形成する工程と、前記第1保護膜の少なくとも一部が露出するように前記保護膜の一部を除去する工程と、を有し、前記接合体を準備する工程において、前記第1配線構造に含まれる第1金属パターンと前記第2配線構造に含まれる第2金属パターンとを接合して前記第1半導体層と前記第2半導体層とは互いに電気的に接続されており、前記第1半導体層側から視た平面視において、前記第2半導体層は前記第1半導体層より大きい接合体を準備する。
【発明の効果】
【0009】
本発明によれば、半導体装置に対する水分等の侵入による半導体装置の機能低下を低減し得る。また、本発明の製造方法によれば、基板との貼り合わせ不良を低減できる。
【図面の簡単な説明】
【0010】
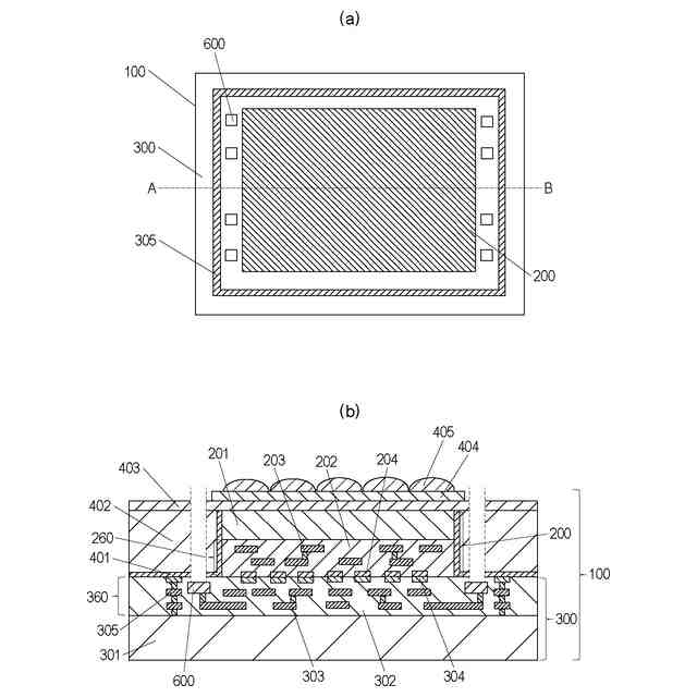
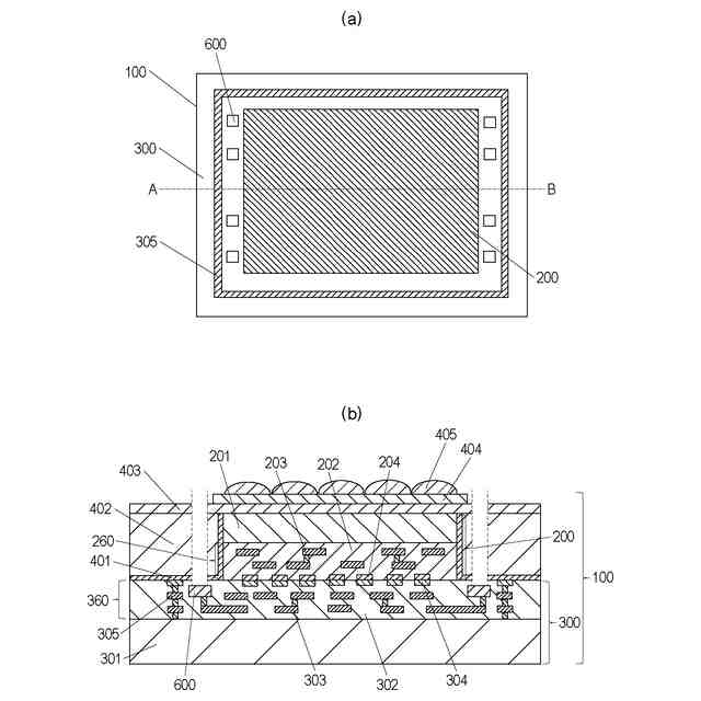
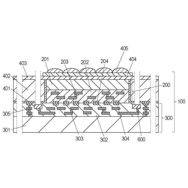
第1実施形態による半導体装置の概略平面図及び概略断面図
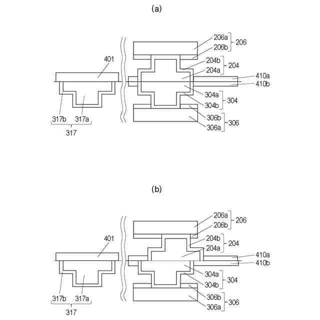
第1実施形態による半導体装置の接合部の断面模式図
第1実施形態による半導体装置の接合部の断面模式図
第1実施形態による半導体装置の製造方法を示す工程断面図
第1実施形態による半導体装置の製造方法を示す工程断面図
第1実施形態による半導体装置の製造方法を示す工程断面図
第1実施形態による半導体装置の製造方法を示す工程断面図
第2実施形態による半導体装置の概略平面図及び概略断面図
第2実施形態による半導体装置の製造方法を示す工程断面図
第2実施形態による半導体装置の製造方法を示す工程断面図
第3実施形態による半導体装置の製造方法を示す工程断面図
第3実施形態による半導体装置の製造方法を示す工程断面図
第4実施形態による半導体装置の概略平面図及び概略断面図
第4実施形態による半導体装置の製造方法を示す工程断面図
第4実施形態による半導体装置の製造方法を示す工程断面図
第4実施形態による半導体装置の製造方法を示す工程断面図
第4実施形態による半導体装置の製造方法を示す工程断面図
第4実施形態による半導体装置の製造方法を示す工程断面図
第5実施形態による半導体装置の製造方法を示す工程断面図
第5実施形態による半導体装置の製造方法を示す工程断面図
第5実施形態による半導体装置の製造方法を示す工程断面図
第5実施形態による半導体装置の製造方法を示す工程断面図
第6実施形態による半導体装置の製造方法を示す工程断面図
第6実施形態による半導体装置の製造方法を示す工程断面図
第7実施形態による光電変換システムの構成を示す図
第8実施形態による移動体の構成、動作を示す図
【発明を実施するための形態】
(【0011】以降は省略されています)
この特許をJ-PlatPat(特許庁公式サイト)で参照する
関連特許
キヤノン株式会社
トナー
10日前
キヤノン株式会社
トナー
10日前
キヤノン株式会社
トナー
15日前
キヤノン株式会社
トナー
10日前
キヤノン株式会社
撮影装置
8日前
キヤノン株式会社
記録装置
15日前
キヤノン株式会社
測距装置
3日前
キヤノン株式会社
撮像装置
15日前
キヤノン株式会社
現像装置
8日前
キヤノン株式会社
現像容器
8日前
キヤノン株式会社
現像装置
8日前
キヤノン株式会社
現像容器
8日前
キヤノン株式会社
撮像装置
11日前
キヤノン株式会社
現像装置
1日前
キヤノン株式会社
定着装置
9日前
キヤノン株式会社
記録装置
8日前
キヤノン株式会社
電子機器
17日前
キヤノン株式会社
現像剤容器
16日前
キヤノン株式会社
半導体装置
17日前
キヤノン株式会社
モジュール
10日前
キヤノン株式会社
光学センサ
10日前
キヤノン株式会社
画像形成装置
15日前
キヤノン株式会社
画像形成装置
4日前
キヤノン株式会社
画像形成装置
15日前
キヤノン株式会社
画像形成装置
15日前
キヤノン株式会社
画像形成装置
11日前
キヤノン株式会社
情報処理装置
15日前
キヤノン株式会社
吐出素子基板
15日前
キヤノン株式会社
画像形成装置
9日前
キヤノン株式会社
画像表示装置
15日前
キヤノン株式会社
画像形成装置
16日前
キヤノン株式会社
画像形成装置
16日前
キヤノン株式会社
画像形成装置
11日前
キヤノン株式会社
画像形成装置
4日前
キヤノン株式会社
画像形成装置
11日前
キヤノン株式会社
画像形成装置
9日前
続きを見る
他の特許を見る