TOP
|
特許
|
意匠
|
商標
特許ウォッチ
Twitter
他の特許を見る
公開番号
2025155446
公報種別
公開特許公報(A)
公開日
2025-10-14
出願番号
2024065791
出願日
2024-03-28
発明の名称
茶葉加工用微小水分処理のための殺青機
出願人
個人
代理人
主分類
A23F
3/06 20060101AFI20251002BHJP(食品または食料品;他のクラスに包含されないそれらの処理)
要約
【課題】茶葉加工するときに、茶葉の品質を均一に保つ、加工中の茶葉の水分と温度を最適に管理する効果的な殺青機を提供する。
【解決手段】本発明の茶葉殺青機は、微細な水分調整と温度制御を組み合わせることで、茶葉の殺青工程を最適化し、品質を向上させる。特に、回転軸を中心に回転する回転胴部材、茶葉を均一に加熱する加熱手段、および茶葉に適切な水分を供給する水分供給装置を備える。この組み合わせにより、加工中の茶葉の温度と湿度を精密に制御し、品質の高い茶葉を効率的に生産することが可能になる。
【選択図】図1
特許請求の範囲
【請求項1】
7つのT型のガイドレールで円型の回転胴を支え、U型ねじでモータードライブを固定し、回転胴を動かし、サポートベースに回転胴とメインコントロールボックスを設置したことを特徴とする茶葉殺青機。
続きを表示(約 270 文字)
【請求項2】
前記回転胴の内表面には、茶葉を転がすためのガイドプレートが溶接され、サポートベースの上表面には回転胴を加熱するための電気加熱板が有することを特徴とする請求項1記載の茶葉殺青機。
【請求項3】
前記回転胴の開口端にはブロックリングが一体成型され、シールカバープレート下面の端にはブロックリングに適応するシールグルーブが設けられ、且つブロックリングの表面には、シールカバープレート表面に開いた孔を通り、ナットでねじ込まれたスクリューが溶接されたことを特徴とする請求項1~2の何れかに記載の茶葉殺青機。
発明の詳細な説明
【技術分野】
【0001】
。
この発明は殺青機の技術分野に属し、特に茶葉の微細な水分処理に使用される殺青機に関する。
続きを表示(約 3,400 文字)
【背景技術】
【0002】
茶葉の蒸気殺青は、緑茶、玄米茶、紅茶、ウーロン茶、プーアル茶、一部の紅茶などの初加工工程の一部である。その主な目的は、高温で鮮葉中の酸化酵素活性を破壊し鈍化させ、鮮葉中の茶カテキンなどの酵素促進酸化を抑制し、鮮葉から一部の水分を蒸発させ、茶葉を柔らかくし、揉み捻るのに適して、同時に爽やかな香りを発散させ、良い香りの形成を促進することである。
【0003】
中国特許CN115997829Aには、「茶葉の蒸気殺青装置」と題された装置が開示されている。この装置は、固定された外側容器、外側容器内に回転可能に配置された内側容器、内側容器を回転させるための駆動機構を含んでいる。内側容器の側面には外側容器と連通し均等に分布した通孔があり、茶葉は通孔を通過できません。外側容器には内部と連通する蒸気システムが接続され、外側容器の上部には天井を貫通し内側容器と連通する給排気システムがある。内側容器の底部には外側容器を貫通する出料機構があり、外側容器の底部には排水機構が接続されている。内側容器には検出システムが設置され、この蒸気殺青装置は制御器で制御される。制御器は検出システムと電気的に接続されており、「一方で、この方法では、茶葉の殺青操作が煩雑で、圧力、温度、湿度を調整しにくく、茶葉の殺青を標準化するのが不便で、茶葉の殺青の工程が増加し、茶葉の殺青のコストが高まる。
【先行技術文献】
【0004】
中国特許CN115997829A号公報
【発明の概要】
【発明が解決しようとする課題】
【0005】
文献の方法は茶葉の殺青操作が煩雑であり、茶葉の殺青時には圧力、温度、湿度の調整が難しく、茶葉の殺青の標準化製造が困難で、茶葉の殺青工程が増加される。
【課題を解決するための手段】
【0006】
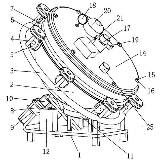
本発明は茶葉の殺青の標準化製造が困難や茶葉の殺青工程が増加されるなどの問題を解決するには、以下のような機械を用いて解決する。茶葉処理用の微小な水分を使用する殺青機で、サポートベースと、サポートベース上に取り付けられ、サポートリング、フレーム、ファーストサポートホイール、セカンドサポートホイール、およびサポートリングに取り付けられた回転胴を回転させるためのサポート構造を含む。回転胴には、内部の茶葉に微小な水分処理を施すためのデバイスが備わっており、サポートベースの側面にはU型ねじで固定されたモータードライブがあり、モータードライブの出力軸は減速ボックスを介して回転胴に固定されている。回転胴の内表面には、茶葉を転がすためのガイドプレートが溶接されており、サポートベースの上表面には回転胴を加熱するための電気加熱板が取り付けられている。サポートベースの上表面にはメインコントロールボックスも取り付けられている。サポート構造は、サポートベース上面に溶接されたサポートリングと、サポートリング上の表面に環状に配置されたフレームと、フレーム上に取り付けられたファーストサポートホイールとセカンドサポートホイール、回転胴外側の表面に溶接されたサポートリングを含み、ファーストサポートホイールとセカンドサポートホイールはサポートリングの両側に配置されている。微小な水分処理デバイスには、回転胴の開口部に取り付けられたシールカバープレートと、シールカバープレート上面に取り付けられた排気ポンプおよび回転胴内の圧力を監視するための圧力センサー、シールカバープレート上面に取り付けられた回転胴内の温度を監視するための温度センサー、シールカバープレート上面に取り付けられた補水タンク、およびシールカバープレート下面に取り付けられたミストノズルが含まれる。
【0007】
ミストノズルは、補水タンク内に設置されたミニウォーターポンプの出水口に取り付けられている。シールカバープレートの上面にはサブコントロールボックスも取り付けられており、シールカバープレートの上面には湿度センサーも取り付けられている。本発明の茶葉処理用の微小な水分処理殺青機の好ましい技術的手段として、回転胴の開口端にはブロックリングが一体成型されており、シールカバープレート下面の端にはブロックリングに適応するシールグルーブが設けられている。ブロックリングの表面には、シールカバープレート表面に開いた孔を通り、ナットでねじ込まれたスクリューが溶接されている。
【0008】
本発明の茶葉処理用の微小な水分処理殺青機の好ましい技術的手段として、ブロックリングが溶接されたスクリューは均等に6つ配置されている。本発明の茶葉処理用の微小な水分処理殺青機の好ましい技術的手段として、サポートリング上面に溶接されたフレームは7つ配置されており、フレームは″T″字形の金属棒である。フレームに取り付けられたファーストサポートホイールとセカンドサポートホイールは互いに垂直に配置されている。電気加熱板の上面は弧を描いており、電気加熱板と回転胴の最小間隔は2mmである。茶葉処理用の微小な水分処理殺青機の殺青方法の好ましい技術的手段として、以下の手順が含まれる:ステップ1、低温高圧蒸発、4分間継続;ステップ2、高温低圧殺青、9分間継続;ステップ3、高温高圧殺菌、1分間継続;ステップ4、低温低圧促香、13分間継続。茶葉処理用の微小な水分処理殺青機の殺青方法の好ましい技術的手段として、0-50℃の殺青温度、回転胴の回転角速度90r/min、圧力5kpa、湿度85%を選択し、ステップ2では、100-150℃の殺青温度、回転胴の回転角速度150r/min、圧力0.5kpa、湿度25%を選択する。ステップ3では、150-200℃の殺青温度、回転胴の回転角速度200r/min、圧力5kpa、湿度23%を選択し、ステップ4では、30-20℃の殺青温度、回転胴の回転角速度30r/min、圧力0.4kpa、湿度21%を選択する。
【0009】
茶葉処理用の微小な水分処理殺青機の殺青方法の好ましい技術的手段として、ステップ1での低温高圧蒸発の温度は比例関数であり、ステップ1では、最初の3分間に回転胴の温度が0℃から50℃に上昇し、最後の1分間は回転胴の温度が50℃に一定となる。ステップ2では、高温低圧殺青の温度も比例関数であり、ステップ2では、最初の6分間に回転胴の温度が100℃から150℃に上昇し、最後の3分間は回転胴の温度が150℃に一定となる。ステップ3では、高温高圧殺菌の温度も比例関数であり、1分以内に回転胴の温度が150℃から200℃に上昇する。ステップ4では、低温低圧促香の温度も比例関数であり、ステップ4では、最初の10分間に回転胴の温度が30℃から20℃に下降し、最後の3分間は回転胴の温度が20℃に一定となる。
【発明の効果】
【0010】
TIFF
2025155446000002.tif
9
152
胴をサポートし、サポート構造はサポートリング、フレーム、ファーストサポートホイール、セカンドサポートホイール、およびサポートリングに取り付けられた回転胴で構成され、同時にサポートリング上には環状に分布したフレームがあり、このフレームがファーストサポートホイールとセカンドサポートホイールをサポートし、ファーストサポートホイールとセカンドサポートホイールがサポートリングをサポートする構造となっており、これによりサポート底板がサポート構造を通じて回転胴をサポートし、茶葉が回転胴内で殺青される安定性が確保され、回転胴に設置された微小な水分処理装置が、排気ポンプを通じて排気および圧力センサーと協力して回転胴内部の圧力を制御しやすくし、シールカバープレートと電気加熱板が協力して回転胴内部の温度を制御し、茶葉の殺青時の温度と圧力の制御を実現し、同時に補水タンク、ミストノズル、および湿度センサーが回転胴内部に水分を補充し、茶葉の殺青時の湿度が低すぎないようにし、茶葉の高温滅菌時に炭化が発生しないようにし、茶葉の殺青を標準化して工程を減らし、茶葉の殺青コストを削減する。
【図面の簡単な説明】
(【0011】以降は省略されています)
この特許をJ-PlatPat(特許庁公式サイト)で参照する
関連特許
個人
健康促進霊芝茶
2か月前
不二製油株式会社
組成物
1か月前
不二製油株式会社
グミ類
2か月前
個人
ヨーグルト等の発酵器
2か月前
不二製油株式会社
油性食品
2か月前
不二製油株式会社
加工食品
3か月前
不二製油株式会社
油脂組成物
4か月前
株式会社東洋新薬
飲料
1か月前
個人
可食性素材からなる容器
25日前
株式会社東洋新薬
経口組成物
5か月前
株式会社東洋新薬
経口組成物
3か月前
株式会社東洋新薬
経口組成物
1か月前
不二製油株式会社
光照射油脂
1か月前
池田食研株式会社
微粉状食品
5か月前
不二製油株式会社
油脂組成物
2か月前
池田食研株式会社
風味改善剤
5か月前
アサヒ飲料株式会社
飲料
5か月前
東ソー株式会社
食品品質保持剤
4か月前
奥野製薬工業株式会社
処理方法
2か月前
株式会社ミルボン
組成物及び方法
2日前
不二製油株式会社
被覆用油性食品
2か月前
個人
発酵あんこの製造方法
1か月前
株式会社ソディック
食品搬送装置
4か月前
日本メナード化粧品株式会社
飲料
2か月前
東洋ライス株式会社
搗精米
3か月前
株式会社エポック社
絞出具
2か月前
池田食研株式会社
食品生地用組成物
4か月前
個人
天然マンゴー果汁色青汁
5か月前
個人
廃棄食品の資源化法とその装置
4か月前
池田食研株式会社
油脂含有造粒顆粒
3か月前
個人
海ぶどうの加工処理方法
23日前
不二製油株式会社
カカオ含有飲食物
1か月前
不二製油株式会社
冷凍霜付き抑制剤
2か月前
株式会社米島本店
七草加工食品
5か月前
株式会社XAXA
ペットフード
1か月前
理研ビタミン株式会社
米菓の製造方法
2か月前
続きを見る
他の特許を見る