TOP
|
特許
|
意匠
|
商標
特許ウォッチ
Twitter
他の特許を見る
10個以上の画像は省略されています。
公開番号
2025155372
公報種別
公開特許公報(A)
公開日
2025-10-14
出願番号
2024059177
出願日
2024-04-01
発明の名称
異常判定システムおよび異常判定方法
出願人
株式会社東芝
,
東芝エネルギーシステムズ株式会社
代理人
個人
,
個人
,
個人
主分類
H02S
50/00 20140101AFI20251006BHJP(電力の発電,変換,配電)
要約
【課題】太陽光パネルの異常を好適に判定可能な異常判定システムおよび異常判定方法を提供する。
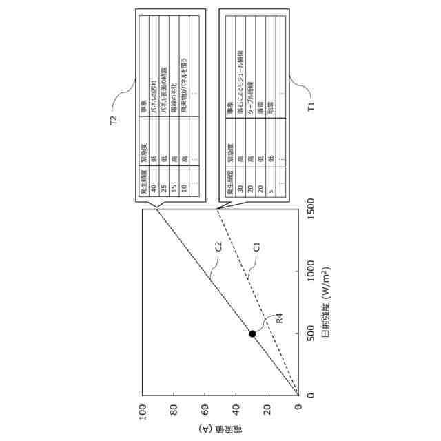
【解決手段】一の実施形態によれば、異常判定システムは、1つ以上の太陽光パネルの電流値をそれぞれ計測する1つ以上の電流計測器と、前記1つ以上の太陽光パネルが設けられた敷地の日射強度を計測する日射強度計と、前記1つ以上の電流計測器により計測された前記電流値と、前記日射強度計により計測された前記日射強度とを取得する情報処理装置とを備える。前記情報処理装置はさらに、前記電流値および日射強度に関する回帰直線を、前記1つ以上の太陽光パネルにおける個々の太陽光パネルごと作成する。前記情報処理装置はさらに、前記回帰直線を表示するか、または、前記回帰直線に関する情報処理を行い、前記情報処理の結果を表示する。
【選択図】図1
特許請求の範囲
【請求項1】
1つ以上の太陽光パネルの電流値をそれぞれ計測する1つ以上の電流計測器と、
前記1つ以上の太陽光パネルが設けられた敷地の日射強度を計測する日射強度計と、
前記1つ以上の電流計測器により計測された前記電流値と、前記日射強度計により計測された前記日射強度とを取得する情報処理装置とを備え、
前記情報処理装置は、
前記電流値および日射強度に関する回帰直線を、前記1つ以上の太陽光パネルにおける個々の太陽光パネルごと作成し、
前記回帰直線を表示するか、または、前記回帰直線に関する情報処理を行い、前記情報処理の結果を表示する、
異常判定システム。
続きを表示(約 1,100 文字)
【請求項2】
前記1つ以上の太陽光パネルにそれぞれ設けられ、パワーコンディショナと電気的に接続された1つ以上の接続箱をさらに備え、
前記1つ以上の電流計測器はそれぞれ、前記1つ以上の接続箱の内部または付近に設けられている、請求項1に記載の異常判定システム。
【請求項3】
前記情報処理装置は、前記回帰直線を、前記電流値と日射強度との関係を示す点と共にグラフ上に表示するか、または、別の回帰直線と共にグラフ上に表示する、請求項1に記載の異常判定システム。
【請求項4】
前記情報処理装置は、前記回帰直線に関する前記情報処理として、前記回帰直線を別の回帰直線と比較し、前記情報処理の結果として、前記比較の結果を表示する、請求項1に記載の異常判定システム。
【請求項5】
前記情報処理装置は、前記回帰直線を別の回帰直線と比較することで、各太陽光パネルの異常を判定し、前記比較の結果として、前記異常の判定結果を表示する、請求項4に記載の異常判定システム。
【請求項6】
前記情報処理装置は、各太陽光パネルの異常を判定することで、前記1つ以上の太陽光パネルのうちで異常の発生した太陽光パネルを特定し、前記異常の判定結果として、前記異常の発生した太陽光パネルの特定結果を表示する、請求項5に記載の異常判定システム。
【請求項7】
前記情報処理装置は、前記回帰直線を、前記電流値および/または前記日射強度が計測された際の時間に関する情報と、前記電流値および/または前記日射強度が計測された際の気温に関する情報の、少なくともいずれかと関連付けて管理する、請求項1に記載の異常判定システム。
【請求項8】
前記1つ以上の太陽光パネルは、太陽光発電システム内に配置されており、
前記1つ以上の電流計測器は、前記太陽光発電システムの新設後に前記太陽光発電システムに追加されたものである、請求項1に記載の異常判定システム。
【請求項9】
前記情報処理装置は、無線通信を行うデータ収集装置を介して、前記電流値および前記日射強度を収集し、前記データ収集装置は、ドローン、アンテナ、またはラジコン機器である、請求項1に記載の異常判定システム。
【請求項10】
前記1つ以上の太陽光パネルが設けられた太陽光発電システムを監視する監視システムをさらに備え、
前記情報処理装置は、前記監視システム内に含まれており、前記監視システムから前記電流値および前記日射強度を取得する、請求項1に記載の異常判定システム。
(【請求項11】以降は省略されています)
発明の詳細な説明
【技術分野】
【0001】
本発明の実施形態は、異常判定システムおよび異常判定方法に関する。
続きを表示(約 2,000 文字)
【背景技術】
【0002】
太陽光発電システムの運用点検や保守点検に関しては、近年における自然災害の激甚化や、電気保安人材の将来的な不足に対する懸念から、点検作業の省力化や無人化が求められている。例えば、太陽光発電システムを構成する多数の太陽電池モジュールの中の1つで故障(異常)が発生した場合には、これらの太陽電池モジュールの中から故障個所を特定し、故障個所の部品の修理や交換を行う必要がある。しかし、メガソーラと呼ばれる出力が1MWを超える大規模太陽光発電所では、太陽電池モジュールの枚数が数百~数万枚にも及び、故障個所を特定することは容易ではない。
【0003】
なお、太陽光発電の分野においては、太陽電池セル、太陽電池モジュール、太陽光ストリング、太陽光アレイなどの用語が広く用いられている。太陽電池モジュールは、複数の太陽電池セルにより構成され、太陽光ストリングは、互いに直接に接続された複数の太陽電池モジュールにより構成され、太陽光アレイは、互いに並列に接続された複数の太陽光発電ストリングにより構成される。本明細書では、1つ以上の太陽光アレイが集合した構造物を、太陽光パネルと呼称する。
【先行技術文献】
【特許文献】
【0004】
特開2011-181853号公報
【発明の概要】
【発明が解決しようとする課題】
【0005】
大規模太陽光発電所では、太陽電池モジュールの枚数が数百~数万枚にも及ぶため、各太陽電池モジュールの発電効率を調査して、故障個所を特定することは容易でない。発電効率の低下は、例えば太陽光発電所内のパワーコンディショナで記録される電流値を利用することで検知可能である。しかし、パワーコンディショナには多数の太陽電池モジュールからの電流が集められるため、大まかな範囲でしか故障個所を特定できず、点検作業の負担軽減効果は限定的である。
【0006】
故障個所の特定に関しては、各太陽電池モジュールに自己計測機能を設け、この機能により即時の故障診断を行う技術(以下「技術1」と呼ぶ)や、各太陽光ストリングに電圧監視機能を設け、この機能により異常検知を行う技術(以下「技術2」と呼ぶ)が提案されている。また、太陽光発電所内の各接続箱で計測される電流値を表示し、表示内容に基づいて検査員が太陽光発電の状態を視認できる技術(以下「技術3」と呼ぶ)や、太陽光発電所内の隣接する接続箱同士や太陽光ストリング同士を比較し、比較結果に基づいて太陽光発電の状態を相対的に診断する技術(以下「技術4」と呼ぶ)が提案されている。
【0007】
しかし、技術1のような対策を行う場合には、各太陽電池モジュールに計測器を設ける必要があり、太陽電池モジュールの構造や管理が複雑化する。さらに、既存の太陽光発電所では、各太陽電池モジュールに計測器を新たに取り付けるか、各太陽電池モジュールを計測器を備える太陽電池モジュールに交換する必要があるが、大規模太陽光発電所では容易なことではない。これは、技術2や技術3のような対策を行う場合でも同様である。
【0008】
一方、技術4のように相互比較により異常個所を特定する場合には、異常の原因や緊急度は特定できない。さらに、ある太陽光ストリングでの電流値と、別の太陽光ストリングでの電流値が異なる場合に、この差異が、いずれかの太陽光ストリングの異常に起因するのか、太陽光ストリング同士の個体差に起因するかを識別できない。
【0009】
そこで、本発明の実施形態は、太陽光パネルの異常を好適に判定可能な異常判定システムおよび異常判定方法を提供する。例えば、既存の太陽光発電システムにも適用可能で、異常が検出された際に作業者が効率よく異常個所を特定可能で、かつ/または、異常原因を容易に特定可能な手法を提供する。
【課題を解決するための手段】
【0010】
一の実施形態によれば、異常判定システムは、1つ以上の太陽光パネルの電流値をそれぞれ計測する1つ以上の電流計測器と、前記1つ以上の太陽光パネルが設けられた敷地の日射強度を計測する日射強度計と、前記1つ以上の電流計測器により計測された前記電流値と、前記日射強度計により計測された前記日射強度とを取得する情報処理装置とを備える。前記情報処理装置はさらに、前記電流値および日射強度に関する回帰直線を、前記1つ以上の太陽光パネルにおける個々の太陽光パネルごと作成する。前記情報処理装置はさらに、前記回帰直線を表示するか、または、前記回帰直線に関する情報処理を行い、前記情報処理の結果を表示する。
【図面の簡単な説明】
(【0011】以降は省略されています)
この特許をJ-PlatPat(特許庁公式サイト)で参照する
関連特許
株式会社東芝
センサ
24日前
株式会社東芝
センサ
24日前
株式会社東芝
固定子
1か月前
株式会社東芝
センサ
2か月前
株式会社東芝
センサ
1か月前
株式会社東芝
モータ
19日前
株式会社東芝
吸音装置
19日前
株式会社東芝
金型構造
24日前
株式会社東芝
電子装置
18日前
株式会社東芝
電子装置
3日前
株式会社東芝
回路素子
2か月前
株式会社東芝
ドア構造
2か月前
株式会社東芝
半導体装置
5日前
株式会社東芝
半導体装置
21日前
株式会社東芝
半導体装置
6日前
株式会社東芝
半導体装置
21日前
株式会社東芝
半導体装置
1か月前
株式会社東芝
半導体装置
21日前
株式会社東芝
半導体装置
1か月前
株式会社東芝
粒子加速器
18日前
株式会社東芝
半導体装置
21日前
株式会社東芝
半導体装置
21日前
株式会社東芝
半導体装置
5日前
株式会社東芝
半導体装置
21日前
株式会社東芝
ラック装置
1か月前
株式会社東芝
半導体装置
21日前
株式会社東芝
半導体装置
3日前
株式会社東芝
半導体装置
3日前
株式会社東芝
半導体装置
3日前
株式会社東芝
半導体装置
5日前
株式会社東芝
電動送風機
1か月前
株式会社東芝
半導体装置
5日前
株式会社東芝
半導体装置
5日前
株式会社東芝
半導体装置
4日前
株式会社東芝
真空バルブ
4日前
株式会社東芝
計測システム
2か月前
続きを見る
他の特許を見る