TOP
|
特許
|
意匠
|
商標
特許ウォッチ
Twitter
他の特許を見る
10個以上の画像は省略されています。
公開番号
2025154742
公報種別
公開特許公報(A)
公開日
2025-10-10
出願番号
2024057918
出願日
2024-03-29
発明の名称
構造体を作製する方法
出願人
国立大学法人群馬大学
代理人
弁理士法人太陽国際特許事務所
主分類
G03F
7/20 20060101AFI20251002BHJP(写真;映画;光波以外の波を使用する類似技術;電子写真;ホログラフイ)
要約
【課題】露光のための光入射の角度を拡大できる、構造体を作製する方法を提供する。
【解決手段】構造体を作製する方法は、第1軸の方向に順に、導波デバイス13、マスクデバイス15及び感光性樹脂体49を配置することであって、マスクデバイス15は、マスクパターン47を有し、導波デバイス13内のプリズムデバイス29は、入射面29b及び出射面29cを有し、プリズムデバイス29の入射面29b及び出射面29cは、プリズム構造を形成するように配置される、導波デバイス13、マスクデバイス15及び感光性樹脂体49を配置することと、導波デバイス13の出射面13b及びマスクパターン47を通してマスクデバイス15から光束の照射を感光性樹脂体49に行うことであって、照射は、第1軸の回りに感光性樹脂体49及びマスクデバイス15を導波デバイス13に対して相対的に回転させながら行われる、照射を感光性樹脂体49に行うことを備える。
【選択図】図1
特許請求の範囲
【請求項1】
構造体を作製する方法であって、
第1軸の方向に導波デバイス、マスクデバイス及び感光性樹脂体を配置することであって、前記マスクデバイスは、光透過を規定するマスクパターンを有し、前記導波デバイスは、プリズムデバイスを含み、前記プリズムデバイスは、光源からの光を受けるように構成された入射面及び前記光を出射するように構成される出射面を有し、前記プリズムデバイスの前記入射面及び前記出射面は、プリズム構造を形成するように配置される、導波デバイス、マスクデバイス及び感光性樹脂体を配置することと、
前記導波デバイスにおける出射面及び前記マスクデバイスの前記マスクパターンを通して前記光の光束の照射を前記感光性樹脂体に行うことであって、前記照射は、前記第1軸の回りに前記感光性樹脂体及び前記マスクデバイスの相対的な回転を前記導波デバイスに対して行いながら行われる、前記光の光束の照射を前記感光性樹脂体に行うことと、
を備え、
前記感光性樹脂体への前記照射は、前記第1軸に対して第1角度で傾斜した方向から行われる、方法。
続きを表示(約 1,100 文字)
【請求項2】
前記光源は、前記プリズムデバイスの前記入射面に対して向き付けされ、
前記光の光束の照射を前記感光性樹脂体に行うことは、前記プリズムデバイスの前記入射面の法線に対して傾斜した向きから前記入射面に前記光を照射することを含み、
前記感光性樹脂体及び前記マスクデバイスは、前記プリズムデバイスに対して回転する、
請求項1に記載された方法。
【請求項3】
前記光の光束の照射を前記感光性樹脂体に行うことは、前記プリズムデバイスの前記出射面と前記マスクデバイスとの間に設けられた屈折率調整材を介して、前記感光性樹脂体に前記光束の照射を行うことを含む、
請求項1に記載された方法。
【請求項4】
前記光の光束の照射を前記感光性樹脂体に行うことは、露光された樹脂を前記感光性樹脂体から生成することを含み、
当該方法は、前記感光性樹脂体に照射した後に、露光された前記樹脂を現像して、樹脂体を生成すること、を更に備える、
請求項1に記載された方法。
【請求項5】
前記樹脂体は、再帰性反射材を製造するように構成されるマイクロ構造鋳型を含む、
請求項4に記載された方法。
【請求項6】
前記樹脂体は、摩擦発電方式の発電の電極ベースのためのマイクロ構造を有するマイクロ構造鋳型を含む、
請求項4に記載された方法。
【請求項7】
前記感光性樹脂体は、支持体の上に設けられており、
当該方法は、前記樹脂体をマスクとして用いて前記支持体を加工することを更に備える、
請求項4に記載された方法。
【請求項8】
前記支持体は、半導体の表面を有し、
前記感光性樹脂体は、前記支持体の前記表面の上に形成される、
請求項7に記載された方法。
【請求項9】
前記感光性樹脂体への前記光束は、前記マスクパターンによって規定される、
請求項1に記載された方法。
【請求項10】
前記導波デバイスは、第2マスクパターンを備え、前記第2マスクパターンは、前記プリズムデバイスの前記入射面及び前記出射面の何れか一方に配置され、
前記感光性樹脂体への前記光束は、前記マスクパターン及び前記第2マスクパターンによって規定され、
前記照射は、前記マスクデバイス及び前記感光性樹脂体を前記プリズムデバイス及び前記光源に対して回転させながら行われる、
請求項1に記載された方法。
(【請求項11】以降は省略されています)
発明の詳細な説明
【技術分野】
【0001】
本開示は、構造体を作製する方法に関する。
続きを表示(約 2,400 文字)
【背景技術】
【0002】
特許文献1は、微細構造体の作製方法を開示する。この方法は、複雑な立体形状の微細構造体を形成できる。
【先行技術文献】
【特許文献】
【0003】
特許5458241号公報
【発明の概要】
【発明が解決しようとする課題】
【0004】
特許文献1は、微細構造体の作製方法を開示する。この方法は、マスク及び感光性樹脂に対して傾斜した角度で光をマスクに照射すると共に、マスク及び感光性樹脂を回転させながら感光性樹脂を露光する。
【0005】
光入射の傾斜は、複雑な立体形状の形成を可能にする一方で、マスク、感光性樹脂といった物体、具体的には入射光の経路上に位置する物体への入射及び物体からの出射に際して、光は、反射屈折の法則に従って屈折すると共に反射する。光の反射は、感光性樹脂へ到達する光量を低下させると共に傾斜角に依存して変化する。
【0006】
光入射の傾斜を大きく又は小さくすること、つまり光入射の角度を広い範囲で変えることを可能にできれば、様々な微細構造体を作製することを容易にする。
【0007】
本開示は、露光のための光入射の角度を拡大できる、構造体を作製する方法を提供することを目的とする。
【課題を解決するための手段】
【0008】
本発明の第1態様に係る構造体を作製する方法は、第1軸の方向に導波デバイス、マスクデバイス及び感光性樹脂体を配置することであって、前記マスクデバイスは、光透過を規定するマスクパターンを有し、前記導波デバイスは、プリズムデバイスを含み、前記プリズムデバイスは、光源からの光を受けるように構成された入射面及び前記光を出射するように構成される出射面を有し、前記プリズムデバイスの前記入射面及び前記出射面は、プリズム構造を形成するように配置される、導波デバイス、マスクデバイス及び感光性樹脂体を配置することと、前記導波デバイスにおける出射面及び前記マスクデバイスの前記マスクパターンを通して前記光の光束の照射を前記感光性樹脂体に行うことであって、前記照射は、前記第1軸の回りに前記感光性樹脂体及び前記マスクデバイスを前記導波デバイスに対して相対的な回転を行いながら行われる、前記光束の照射を前記感光性樹脂体に行うことと、を備え、前記感光性樹脂体への前記照射は、前記第1軸に対して第1角度で傾斜した方向から行われる。
【発明の効果】
【0009】
上記の態様によれば、露光のための光入射の角度を拡大できる、構造体を作製する方法が提供される。
【図面の簡単な説明】
【0010】
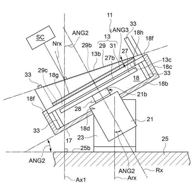
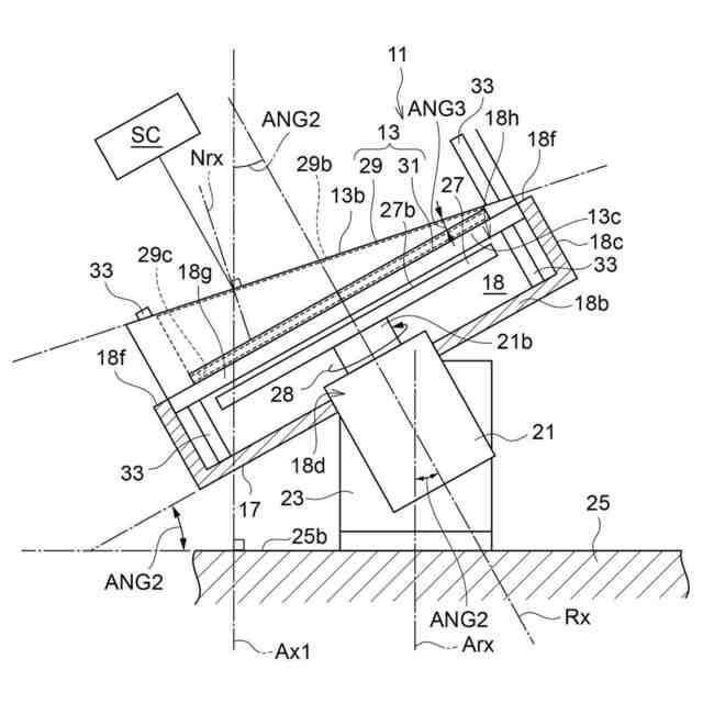
図1は、本実施形態に係る露光装置の構造を概略的に示す一部破断図である。
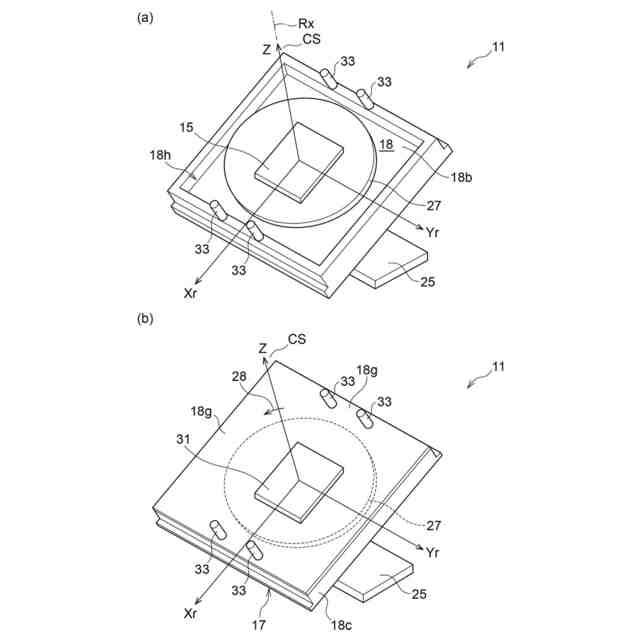
図2(a)は、本実施形態に係る露光装置の構造の一部を示す図面である。図2(b)は、本実施形態に係る露光装置の構造の一部を示す図面である。
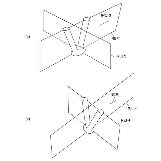
図3(a)は、本実施形態に係る露光装置の構造の一部を示す図面である。図3(b)は、本実施形態に係る露光装置の構造の一部を示す図面である。
図4(a)は、本実施形態に係る露光装置の構造の一部を示す図面である。図4(b)は、本実施形態に係る露光装置の構造の一部を示す図面である。
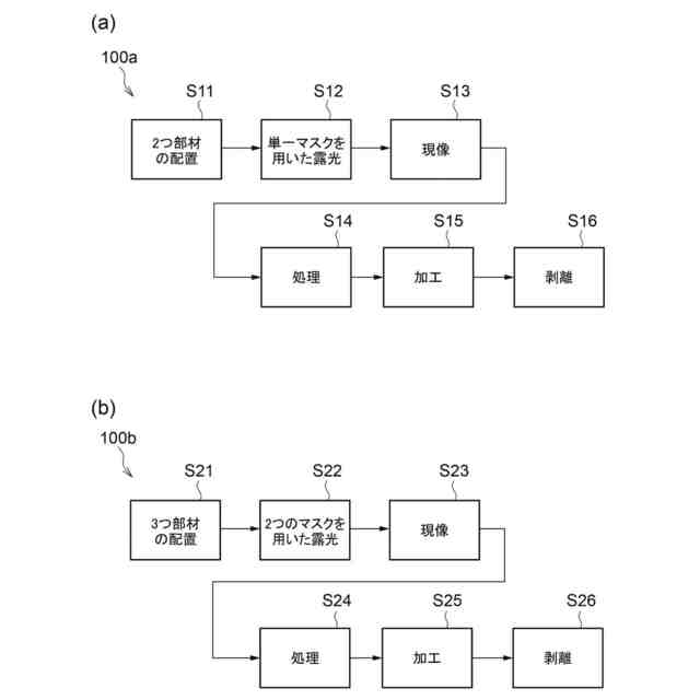
図5(a)及び図5(b)は、本実施形態に係る構造体を作製する方法における概略的に主要なステップを示す図面である。
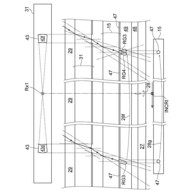
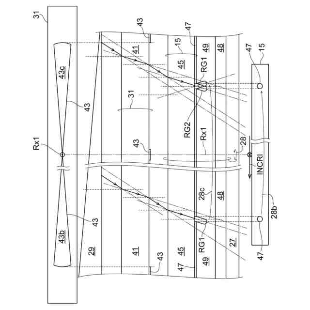
図6は、プリズム及び2枚のマスクを用いて感光性樹脂体を露光する際の光束の傾斜及び回転と構造物の形状との関係を示す図面である。
図7は、2枚のマスクを用いて感光性樹脂体を露光する際の光束の傾斜及び回転と構造物の形状との関係を示す図面である。
図8(a)及び図8(b)は、それぞれ、図6及び図7のマスクを介して露光及び現像後の構造物を模式的に示す図面である。
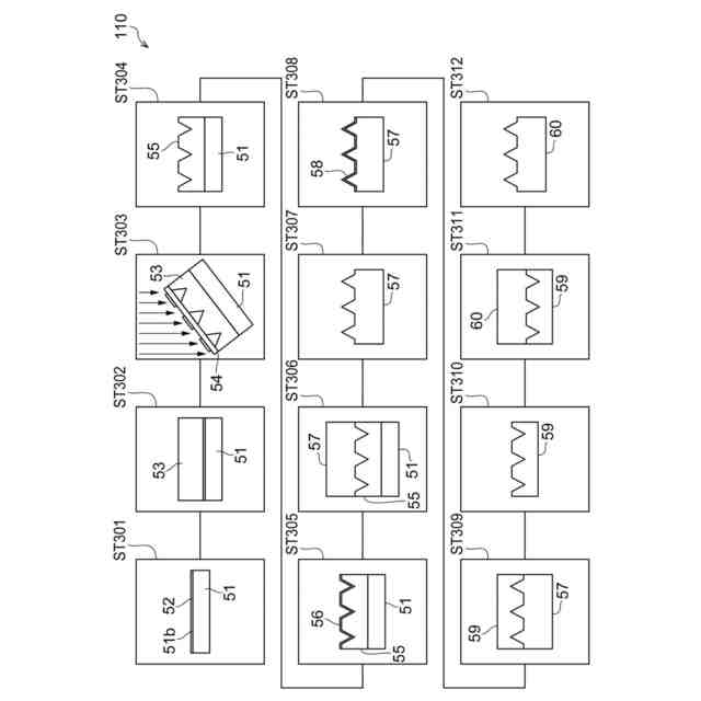
図9は、本実施形態に係る再帰性反射体を作製する方法における主要なステップを示す図面である。
図10の(a)部は、再帰性反射体の例示的なマスクを示す図面である。図10の(b)部、(c)部、及び(d)部は、再帰性反射体のための現像されたレジストの走査型電子顕微鏡像(SEM像)を示す図面である。
図11(a)は、再帰性反射体の作製のための露光量と、作製された再帰性反射体の構造寸法との関係を示す図面である。図11(b)は、作製された再帰性反射体の構造間隔と、再帰性反射体の画素値との関係を示す図面である。
図12は、本実施形態に係る摩擦発電のための電極ベース及び電極を作製する方法における主要なステップを示す図面である。
図13の(a)部は、マイクロ構造の電極ベースの例示的なマスクを示す図面である。図13の(b)部、(c)部及び(d)部は、例示的なマスクを用いて作製された、電極ベースのための型成形樹脂体の走査型電子顕微鏡像(SEM像)を示す図面である。
図14は、摩擦発電の発電装置の発電特性を測定するシステムを概略的に示す図面である。
図15は、マイクロ構造の電極を用いる摩擦発電の発電装置を模式的に示す図面である。
図16は、シリコーンゴムといった可撓性を有するマイクロ構造における突起の変形を模式的に示す図面である。
図17は、代表的な帯電材における典型的な発電装置の出力波形を示す図面である。
図18は、マイクロ構造を作製する露光の際の角度と、これによって作製されたマイクロ構造の構造角度との関係を示す図面である。
【発明を実施するための形態】
(【0011】以降は省略されています)
この特許をJ-PlatPat(特許庁公式サイト)で参照する
関連特許
個人
表示装置
1か月前
個人
雨用レンズカバー
1か月前
株式会社シグマ
絞りユニット
2か月前
キヤノン株式会社
撮像装置
6日前
キヤノン株式会社
撮像装置
2か月前
キヤノン株式会社
撮像装置
1か月前
キヤノン株式会社
撮像装置
1か月前
キヤノン株式会社
撮像装置
1か月前
キヤノン株式会社
撮像装置
2か月前
日本精機株式会社
車両用投射装置
1か月前
株式会社リコー
画像形成装置
2か月前
株式会社リコー
画像形成装置
20日前
株式会社リコー
画像形成装置
29日前
株式会社リコー
画像形成装置
2か月前
株式会社リコー
画像形成装置
1か月前
株式会社リコー
画像形成装置
1か月前
株式会社リコー
画像形成装置
1か月前
キヤノン株式会社
画像形成装置
1か月前
キヤノン株式会社
トナー
1か月前
キヤノン株式会社
トナー
1か月前
キヤノン株式会社
画像形成装置
1か月前
キヤノン株式会社
トナー
2か月前
キヤノン株式会社
画像形成装置
14日前
株式会社オプトル
プロジェクタ
2か月前
アイホン株式会社
カメラシステム
1か月前
キヤノン株式会社
現像装置
1か月前
レーザーテック株式会社
光源装置
22日前
キヤノン株式会社
レンズキャップ
1か月前
沖電気工業株式会社
画像形成装置
1か月前
沖電気工業株式会社
画像形成装置
1か月前
スタンレー電気株式会社
照明装置
1か月前
レーザーテック株式会社
光源装置
1日前
沖電気工業株式会社
画像形成装置
1日前
古野電気株式会社
装置
1か月前
株式会社リコー
画像形成装置
2か月前
株式会社電気印刷研究所
静電印刷用積層体
2か月前
続きを見る
他の特許を見る