TOP
|
特許
|
意匠
|
商標
特許ウォッチ
Twitter
他の特許を見る
10個以上の画像は省略されています。
公開番号
2025154217
公報種別
公開特許公報(A)
公開日
2025-10-10
出願番号
2024057094
出願日
2024-03-29
発明の名称
基板処理方法及び基板処理装置
出願人
東京エレクトロン株式会社
代理人
弁理士法人弥生特許事務所
主分類
H01L
21/3065 20060101AFI20251002BHJP(基本的電気素子)
要約
【課題】、基板の表面に形成されたシリコン含有膜を除去するにあたり、基板の面内の各部で均一性高い除去処理を行う。
【解決手段】エッチング方法は、シリコン含有膜が表面に形成された基板を処理容器内に格納してハロゲン含有ガス及び塩基性ガスを含む処理ガスを供給し、前記シリコン含有膜を変質させて反応生成物を生成する工程と、前記反応生成物の一部を除去するために、前記処理容器内への前記処理ガスの供給を停止した状態で前記処理容器内への不活性ガスの供給及び当該処理容器内の排気を行う工程と、前記第1の工程と前記第2の工程とを交互に繰り返し行う工程と、前記繰り返し工程における2回目以降の前記第1の工程において前記反応生成物が残留する前記基板に前記処理ガスが供給されるように、前記各第2の工程において前記処理容器内を200Paよりも高い圧力とする工程と、を含む。
【選択図】図4B
特許請求の範囲
【請求項1】
表面にシリコン含有膜が形成された基板を処理容器内に格納する工程と、
前記処理容器内にハロゲン含有ガス及び塩基性ガスを含む処理ガスを供給し、前記シリコン含有膜を変質させて反応生成物を生成する第1の工程と、
前記反応生成物の一部を除去するために、前記処理容器内への前記処理ガスの供給を停止した状態で前記処理容器内への不活性ガスの供給及び当該処理容器内の排気を行う第2の工程と、
前記第1の工程と前記第2の工程とを交互に繰り返し行う繰り返し工程と、
前記繰り返し工程における2回目以降の前記第1の工程において前記反応生成物が残留している前記基板に前記処理ガスが供給されるように、前記各第2の工程において前記処理容器内を200Paよりも高い圧力とする圧力制御工程と、
を含む基板処理方法。
続きを表示(約 980 文字)
【請求項2】
前記圧力制御工程は、前記処理容器内の圧力を800Pa以上の圧力にする工程である請求項1記載の基板処理方法。
【請求項3】
前記シリコン含有膜は、シリコン酸化膜である請求項2記載の基板処理方法。
【請求項4】
前記ハロゲン含有ガスはフッ化水素ガスであり、前記塩基性ガスはアンモニアガスである請求項3記載の基板処理方法。
【請求項5】
前記シリコン含有膜は、前記基板に形成された凹部内に形成され、
前記第1の工程は、前記第2の工程で前記凹部の側壁及び前記シリコン含有膜のうちシリコン含有膜が選択的に除去されるように当該シリコン含有膜を選択的に変質させる工程である請求項4記載の基板処理方法。
【請求項6】
前記処理ガスが供給される前の前記シリコン含有膜には、空隙または当該シリコン含有膜の界面同士の接合部が含まれている請求項5記載の基板処理方法。
【請求項7】
表面にシリコン含有膜が形成された基板を格納する処理容器と、
前記処理容器内にハロゲン含有ガス及び塩基性ガスを含む処理ガスを供給する処理ガス供給機構と、
前記処理容器内に不活性ガスを供給する不活性ガス供給機構と、
前記処理容器内を排気する排気機構と、
前記処理容器内に前記処理ガスを供給し、前記シリコン含有膜を変質させて反応生成物を生成する第1のステップと、前記反応生成物の一部を除去するために前記処理容器内への前記処理ガスの供給を停止した状態で前記処理容器内への不活性ガスの供給及び当該処理容器内の排気を行う第2のステップと、前記第1のステップと前記第2のステップとを交互に繰り返し行う繰り返しステップと、前記繰り返しステップにおける2回目以降の前記第1のステップにおいて前記反応生成物が残留している前記基板に前記処理ガスが供給されるように、前記各第2のステップにおいて前記処理容器内を200Paよりも高い圧力とする圧力制御ステップと、が実行されるように制御信号を出力する制御部と、
を備える基板処理装置。
【請求項8】
前記圧力制御ステップは、前記各第2のステップにおいて前記処理容器内を800Pa以上の圧力とする請求項7記載の基板処理装置。
発明の詳細な説明
【技術分野】
【0001】
本開示は、基板処理方法及び基板処理装置に関する。
続きを表示(約 2,200 文字)
【背景技術】
【0002】
半導体装置を製造するにあたり、基板である半導体ウエハ(以下、ウエハと記載する)の表面に形成されたSiO
2
膜(酸化シリコン膜)などのシリコン含有膜のエッチングが行われる場合が有る。特許文献1には、塩基性ガスを基板に供給する第1の工程、フッ素含有ガスをウエハに供給する第2の工程が順番に繰り返されるようにしてSiO
2
膜をエッチングするにあたり、第2の工程の終了後、第1の工程の開始前において、基板が格納される処理容器内をパージすることが記載されている。
【0003】
特許文献2には、ハロゲン含有ガス及び塩基性ガスを含む処理ガスをウエハに供給してSiO
2
膜の表面に反応生成物を生成させた後、この反応生成物の一部がSiO
2
膜上に残り、他の一部が除去されるように、ウエハが格納される処理容器内を減圧して0~200Paとする。その後、処理容器内の圧力を上昇させて、再度処理ガスをウエハに供給することで、SiO
2
膜を除去することが記載されている。
【先行技術文献】
【特許文献】
【0004】
特開2021-180281
特開2021-118250
【発明の概要】
【発明が解決しようとする課題】
【0005】
本開示は、基板の表面に形成されたシリコン含有膜を除去するにあたり、基板の面内の各部で均一性高い除去処理を行うことができる技術を提供する。
【課題を解決するための手段】
【0006】
本開示のエッチング方法は、表面にシリコン含有膜が形成された基板を処理容器内に格納する工程と、
前記処理容器内にハロゲン含有ガス及び塩基性ガスを含む処理ガスを供給し、前記シリコン含有膜を変質させて反応生成物を生成する第1の工程と、
前記反応生成物の一部を除去するために、前記処理容器内への前記処理ガスの供給を停止した状態で前記処理容器内への不活性ガスの供給及び当該処理容器内の排気を行う第2の工程と、
前記第1の工程と前記第2の工程とを交互に繰り返し行う繰り返し工程と、
前記繰り返し工程における2回目以降の前記第1の工程において前記反応生成物が残留している前記基板に前記処理ガスが供給されるように、前記各第2の工程において前記処理容器内を200Paよりも高い圧力とする圧力制御工程と、
を含む。
【発明の効果】
【0007】
本開示は、基板の表面に形成されたシリコン含有膜を除去するにあたり、基板の面内の各部で均一性高い除去処理を行うことができる。
【図面の簡単な説明】
【0008】
実施形態のエッチング処理前の基板の表面構造を例示する縦断側面である。
エッチング処理前の基板の表面構造の一部を例示する拡大縦断側面である。
比較形態のエッチング処理による酸化シリコン膜の表面変化を示す図である。
比較形態のエッチング処理による酸化シリコン膜の表面変化を示す図である。
実施形態のエッチング処理による酸化シリコン膜の表面変化を示す図である。
実施形態のエッチング処理による酸化シリコン膜の表面変化を示す図である。
実施形態のエッチング処理による酸化シリコン膜の表面変化を示す図である。
実施形態のエッチング処理による酸化シリコン膜の表面変化を示す図である。
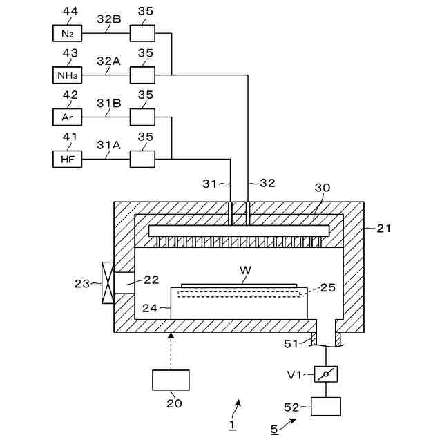
実施形態の基板処理装置を示す縦断側面図である。
実施形態の基板処理装置における処理動作を示すタイムチャートである。
評価試験1の結果を示すグラフである。
評価試験2の結果を示すグラフである。
【発明を実施するための形態】
【0009】
(基板の表層構造)
図1は、実施形態のエッチング処理前の基板の表面構造を例示する縦断側面図である。同図に示すようにウエハWの表面層においては、例えばポリシリコン膜11によって構成される多数の突部が下層膜10上に形成されると共に横方向に並ぶことで、複数の凹部が形成されている。従って、ポリシリコン膜11は、凹部の側壁を形成している。各凹部内には酸化シリコン膜12が形成されている。本実施形態では、各酸化シリコン膜12についてその下端部が残るようにエッチングを行う。このエッチングは、ポリシリコン膜11に対して選択的に行われる。なお、上記の下層膜10は、図1以外の図では表示していない。
【0010】
凹部内に酸化シリコン膜12を形成する際、酸化シリコン膜12がポリシリコン膜11の側壁の各所から成長して互いに合わさることで、酸化シリコン膜12における横方向における中央部には、シーム13が形成されることがある。このシーム13とは、酸化シリコン膜12の界面同士の接合部や酸化シリコン膜12中に形成された空隙である。以後、ウエハWの表面側から裏面側に向かう方向を上下方向や高さ方向ということもある。このシーム13の横方向の長さ(幅)や高さ方向の長さなどの大きさや、高さ方向における形成位置は、凹部間で様々である。
(【0011】以降は省略されています)
この特許をJ-PlatPat(特許庁公式サイト)で参照する
関連特許
東ソー株式会社
絶縁電線
1日前
日本発條株式会社
積層体
24日前
個人
フレキシブル電気化学素子
13日前
日新イオン機器株式会社
イオン源
9日前
ローム株式会社
半導体装置
22日前
ローム株式会社
半導体装置
22日前
ローム株式会社
半導体装置
20日前
ローム株式会社
半導体装置
今日
株式会社ユーシン
操作装置
13日前
ローム株式会社
半導体装置
22日前
ローム株式会社
半導体装置
15日前
株式会社GSユアサ
蓄電装置
20日前
太陽誘電株式会社
コイル部品
13日前
株式会社ホロン
冷陰極電子源
20日前
オムロン株式会社
電磁継電器
14日前
個人
半導体パッケージ用ガラス基板
23日前
株式会社GSユアサ
蓄電装置
24日前
太陽誘電株式会社
全固体電池
20日前
株式会社GSユアサ
蓄電設備
13日前
株式会社ホロン
冷陰極電子源
7日前
株式会社GSユアサ
蓄電設備
13日前
TDK株式会社
電子部品
20日前
ローム株式会社
電子装置
24日前
ノリタケ株式会社
熱伝導シート
13日前
トヨタ自動車株式会社
蓄電装置
13日前
日本特殊陶業株式会社
保持装置
24日前
トヨタ自動車株式会社
バッテリ
14日前
日東電工株式会社
積層体
14日前
日本特殊陶業株式会社
保持装置
2日前
サクサ株式会社
電池の固定構造
13日前
トヨタ自動車株式会社
冷却構造
1日前
日本特殊陶業株式会社
保持装置
20日前
日本特殊陶業株式会社
保持装置
20日前
日本特殊陶業株式会社
保持装置
22日前
株式会社トクヤマ
シリコンエッチング液
7日前
ローム株式会社
半導体装置
14日前
続きを見る
他の特許を見る