TOP
|
特許
|
意匠
|
商標
特許ウォッチ
Twitter
他の特許を見る
10個以上の画像は省略されています。
公開番号
2025154061
公報種別
公開特許公報(A)
公開日
2025-10-10
出願番号
2024056850
出願日
2024-03-29
発明の名称
コミュニケーション管理システム及びプログラム
出願人
株式会社バンダイナムコエンターテインメント
代理人
個人
,
個人
主分類
G06Q
50/10 20120101AFI20251002BHJP(計算;計数)
要約
【課題】コミュニケーション中にイベントを発動させることによって自動的に不適切なコミュニケーションを防止し、ユーザの労力及び運営コストを削減することが可能なコミュニケーション管理システムなどを提供すること。
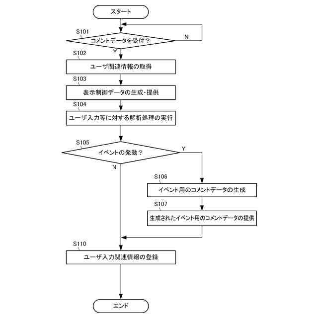
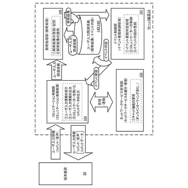
【解決手段】サーバ装置10は、ユーザの前記コミュニケーションを行うための入力を受け付けるとともに、当該受け付けたユーザ入力の情報をユーザ入力情報として各ユーザに提供するための出力を制御するコミュニケーション制御処理を実行し、受け付けられたユーザ入力に関する情報をユーザ入力関連情報としてユーザ入力関連情報記憶部148に登録し、記憶させ、コミュニケーション制御処理の実行中に、記憶されたユーザ入力関連情報に対して所与の解析処理を実行し、解析処理の結果に応じて、将来的に発生する不適切なコミュニケーションを未然に防止するイベントの発動を制御する、構成を有している。
【選択図】図4
特許請求の範囲
【請求項1】
2以上のユーザ間におけるコミュニケーションを電子的に管理するコミュニケーション管理システムであって、
前記ユーザの前記コミュニケーションを行うための入力を受け付けるとともに、当該受け付けたユーザ入力の情報をユーザ入力情報として各ユーザに提供するための出力を制御するコミュニケーション制御処理を実行する制御手段と、
前記受け付けられたユーザ入力情報を少なくとも含むユーザ入力に関する情報をユーザ入力関連情報として記憶手段に登録し、記憶させる登録手段と、
前記コミュニケーション制御処理の実行中に、前記記憶されたユーザ入力関連情報に対して所与の解析処理を実行する解析処理手段と、
前記解析処理の結果に応じて、将来的に発生する不適切なコミュニケーションを未然に防止するイベントの発動を制御するイベント制御手段と、
を備えることを特徴とするコミュニケーション管理システム。
続きを表示(約 1,600 文字)
【請求項2】
請求項1に記載のコミュニケーション管理システムにおいて、
前記ユーザ入力関連情報には、前記ユーザ入力情報とともに、前記コミュニケーションを実行している各ユーザに関する情報、及び、各コミュニケーションが実行されたタイミングを示す情報の少なくともいずれかの情報が含まれる、コミュニケーション管理システム。
【請求項3】
請求項1に記載のコミュニケーション管理システムにおいて、
前記解析処理手段が、
前記解析処理として、予め定められた辞書データを用いて前記ユーザ入力情報の内容を解析し、
前記イベント制御手段が、
前記解析処理の結果としての前記ユーザ入力情報の内容に応じて、前記イベントの発動を制御する、コミュニケーション管理システム。
【請求項4】
請求項1に記載のコミュニケーション管理システムにおいて、
前記解析処理手段が、
所与のユーザ入力に関する前記ユーザ入力関連情報に対して前記解析処理を実行し、当該コミュニケーションにおける当該ユーザ入力の状況を特定し、
前記イベント制御手段が、
前記解析処理の結果としての前記ユーザ入力の状況に応じて、前記イベントの発動を制御する、コミュニケーション管理システム。
【請求項5】
請求項1に記載のコミュニケーション管理システムにおいて、
前記イベント制御手段が、
前記イベントの発動状況を前記解析処理の結果を示す解析結果情報に対応付けて前記記憶手段にイベント発動履歴情報として登録して記憶し、
既に記憶されている前記イベント発動履歴情報に基づいて前記イベントの発動を制御する、コミュニケーション管理システム。
【請求項6】
請求項1に記載のコミュニケーション管理システムにおいて、
前記解析処理手段が、
第1のユーザから、当該第1のユーザとは異なる第2のユーザに対して実行されたユーザ入力情報を少なくとも含む前記ユーザ入力関連情報に対して前記解析処理を実行する、コミュニケーション管理システム。
【請求項7】
請求項1に記載のコミュニケーション管理システムにおいて、
前記イベント制御手段が、
前記コミュニケーションに参加する管理用コミュニケーターを制御し、
前記イベントとして、当該管理用コミュニケーターの、前記ユーザとのコミュニケーションに対する制御をする、コミュニケーション管理システム。
【請求項8】
請求項7に記載のコミュニケーション管理システムにおいて、
前記イベント制御手段が、
前記管理用コミュニケーターの性格的なパラメータを示す性格パラメータを管理し、
前記性格パラメータ及び前記解析処理の結果に基づいて、前記イベントの発動を制御する、コミュニケーション管理システム。
【請求項9】
請求項1に記載のコミュニケーション管理システムにおいて、
前記イベント制御手段が、
前記解析処理の結果に応じて、将来的に前記不適切なコミュニケーションが発生する発生確率を算出し、
当該算出した発生確率に応じて、前記イベントの発動を制御する、コミュニケーション管理システム。
【請求項10】
請求項9に記載のコミュニケーション管理システムにおいて、
前記イベント制御手段が、
前記算出された発生確率に基づいて、前記イベントの発動の有無、及び、当該イベントを発動する場合には、発動すべきイベントの種別のいずれかを決定する決定処理を実行し、
前記決定処理の結果に基づいて、前記イベントの発動を制御する、コミュニケーション管理システム。
(【請求項11】以降は省略されています)
発明の詳細な説明
【技術分野】
【0001】
本発明は、コミュニケーション管理システム及びプログラムなどに関する。
続きを表示(約 1,700 文字)
【背景技術】
【0002】
近年、WWW(World Wide Web)などのネットワーク技術の発展、及び、パーソナルコンピュータやスマートフォンなどに代表される情報通信端末装置(以下、「端末装置」という。)の進歩に伴い、ネットワークを利用して、チャットシステム(テキストチャット、ボイスチャット及びビデオチャットを含む。)又はオンラインミーティングシステム(オンライ会議システム)など、相互のコミュニケーションを行うシステムやアプリケーションも多く登場している。
【0003】
その一方で、このようなチャット系のシステム又はアプリケーションの使用中に、不適切な発言又は行動などの不適切なコミュニケーションによって相手先を不快にさせることも生じており、これらを防止するシステムも登場してきている。
【0004】
例えば、このような電子的なコミュニケーションツールに基づくコミュニケーション中に、不適切なコミュニケーションを防止するシステムとしては、当該コミュニケーションに参加する人数と発話対象を特定し、音声データから各事象(単語、感情、会話の遮り、沈黙の長さ等)のデータを抽出して評価し、影響度を判定してハラスメントレベルを算定し、発話者にフィードバックをするものが知られている(例えば、特許文献1)。
【先行技術文献】
【特許文献】
【0005】
特開2023-009563号公報
【発明の概要】
【発明が解決しようとする課題】
【0006】
しかしながら、上記特許文献1に記載のシステムであっては、不適切なコミュニケーションの将来的な回避を促すために、ユーザにフィードバックするだけでなり、そもそも不適切なコミュニケーションそのものを防止するための構成を有していない。
【0007】
本発明は、上記課題を解決するためになされたものであり、その目的は、不適切なコミュニケーションの将来的に発生すると判断された場合に、イベントを発動させることによって自動的に不適切なコミュニケーションそのものを防止し、ユーザの労力及び運営コストを削減することが可能なコミュニケーション管理システムなどを提供することにある。
【課題を解決するための手段】
【0008】
(1)上記課題を解決するため、本発明は、
2以上のユーザ間におけるコミュニケーションを電子的に管理するコミュニケーション管理システムであって、
前記ユーザの前記コミュニケーションを行うための入力を受け付けるとともに、当該受け付けたユーザ入力の情報をユーザ入力情報として各ユーザに提供するための出力を制御するコミュニケーション制御処理を実行する制御手段と、
前記受け付けられたユーザ入力情報を少なくとも含むユーザ入力に関する情報をユーザ入力関連情報として記憶手段に登録し、記憶させる登録手段と、
前記コミュニケーション制御処理の実行中に、前記記憶されたユーザ入力関連情報に対して所与の解析処理を実行する解析処理手段と、
前記解析処理の結果に応じて、将来的に発生する不適切なコミュニケーションを未然に防止するイベントの発動を制御するイベント制御手段と、
を備える、構成を有している。
【0009】
この構成により、本発明は、チャットシステムやオンライン上でミーティングを行うシステムなどのコミュニケーションシステムにおいて、他のユーザに対するメッセージや発言など、他のユーザを不快にさせる行動を、自動的に検出することができるとともに、不適切なコミュニケーションを未然に防止することができる。
【0010】
したがって、本発明は、このようなコミュニケーションシステムにおいて、他のユーザを不快にさせる行動の人的監視を不要にし、かつ、ユーザの労力及び運営コストを削減することができる。
(【0011】以降は省略されています)
この特許をJ-PlatPat(特許庁公式サイト)で参照する
関連特許
個人
詐欺保険
今日
個人
縁伊達ポイン
今日
個人
フラワーコートA
2か月前
個人
QRコードの彩色
4日前
個人
地球保全システム
13日前
個人
工程設計支援装置
2か月前
個人
為替ポイント伊達夢貯
1か月前
個人
冷凍食品輸出支援構造
1か月前
個人
残土処理システム
6日前
個人
表変換編集支援システム
1か月前
個人
携帯情報端末装置
2か月前
個人
知的財産出願支援システム
7日前
個人
結婚相手紹介支援システム
1か月前
個人
知財出願支援AIシステム
1か月前
個人
パスワード管理支援システム
1か月前
個人
行動時間管理システム
1か月前
個人
AIによる情報の売買の仲介
1か月前
個人
システム及びプログラム
26日前
株式会社キーエンス
受発注システム
12日前
個人
海外支援型農作物活用システム
25日前
株式会社キーエンス
受発注システム
12日前
株式会社アジラ
進入判定装置
1か月前
個人
パスポートレス入出国システム
1か月前
日本精機株式会社
施工管理システム
1か月前
株式会社キーエンス
受発注システム
12日前
個人
アンケート支援システム
2か月前
個人
AIキャラクター制御システム
1か月前
個人
食品レシピ生成システム
12日前
個人
冷凍加工連携型農場運用システム
1か月前
個人
食事受注会計処理システム
1か月前
キヤノン株式会社
表示システム
12日前
個人
人格進化型対話応答制御システム
1か月前
個人
未来型家系図構築システム
25日前
大同特殊鋼株式会社
疵判定方法
19日前
サクサ株式会社
中継装置
1か月前
個人
音声対話型帳票生成支援システム
1か月前
続きを見る
他の特許を見る