TOP
|
特許
|
意匠
|
商標
特許ウォッチ
Twitter
他の特許を見る
10個以上の画像は省略されています。
公開番号
2025151951
公報種別
公開特許公報(A)
公開日
2025-10-09
出願番号
2024053595
出願日
2024-03-28
発明の名称
作業時間管理システム
出願人
飛島建設株式会社
,
株式会社アクシスウェア
代理人
個人
,
個人
,
個人
主分類
G06Q
50/08 20120101AFI20251002BHJP(計算;計数)
要約
【課題】 車両による作業の作業時間の管理に関し、人的コストを削減すると共に効率のよい作業時間管理システムを提供する。
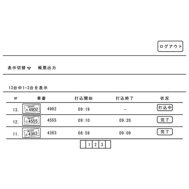
【解決手段】 作業時間管理システム1は、まず撮影装置11が撮影した映像を取得部31取得する。次に取得部31が取得した映像から、車両検出手段33が所定の車両(ミキサー車)の存在を検出し、車両識別情報認識手段34が車両の識別情報(自動車登録番号)を認識する。次に作業時刻判定手段36が取得した映像から車両の検出及び車両の識別情報の認識の双方がなされた時刻を作業開始時刻として判定し、作業開始後に取得した映像から車両の検出又は車両の識別情報の認識が行われなくなった時刻を作業終了時刻として判定する。次に作業状況判定手段37が、作業時刻判定手段36によって判定された作業開始時刻及び作業終了時刻を車両の識別情報と紐付けて作業状況を判定する。
【選択図】 図3
特許請求の範囲
【請求項1】
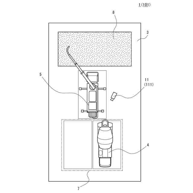
車両の所定の作業に関する作業時間を管理するための作業時間管理システムであって、
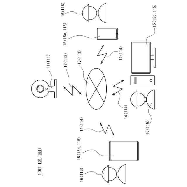
予め設定した所定の駐車領域内の映像を連続的に撮像する撮像手段を含む撮影装置と、前記撮影装置に所定のネットワークを介して接続されるサーバと、複数のユーザが所持可能であり、所定のネットワークを介して前記サーバに接続可能な各種複数の通信端末とを有し、
前記サーバは、前記撮影装置から撮像した映像を取得する取得部と、
前記取得部が取得した映像に前記車両が存在することを検出する車両検出手段と、
前記取得部が取得した映像から前記車両の識別情報を認識する車両識別情報認識手段と、
前記取得部が取得した映像から前記車両検出手段による前記車両の検出及び前記車両識別情報認識手段による前記車両の識別情報の認識の双方がなされた時刻を作業開始時刻として判定し、作業開始後に前記取得部が取得した映像から前記車両の検出又は前記車両の識別情報の認識が行われなくなった時刻を作業終了時刻として判定する作業時刻判定手段と、
前記作業時刻判定手段によって判定された作業開始時刻及び作業終了時刻を前記車両の識別情報と紐付けて作業状況を判定する作業状況判定手段とを備え、
前記通信端末は、前記作業状況判定手段によって判定された作業状況を表示する表示部を備える、作業時間管理システム。
続きを表示(約 2,400 文字)
【請求項2】
前記撮影装置は、作業現場で発生した音声を取得する音声取得手段を更に含み、
前記取得部は、前記音声取得手段で取得された音声を取得し、
前記サーバは、前記取得部が取得した音声の中から前記所定の作業に伴って2回発生する所定の作業音を認識する音声認識手段を更に備え、
前記作業時刻判定手段は、前記音声認識手段によって認識された所定の作業音の発生時刻が含まれる前記作業時間が存在する場合、前記音声認識手段によって認識された所定の作業音の内、1回目の作業音の発生時刻を補正作業開始時刻として判定すると共に2回目の作業音の発生時刻を補正作業終了時刻として判定し、前記補正作業開始時刻に合わせて前記作業時刻判定手段によって判定された作業開始時刻を補正し、前記補正作業終了時刻に合わせて前記作業時刻判定手段によって判定された作業終了時刻を補正し、
前記作業状況判定手段は、前記作業時刻判定手段によって補正された作業開始時刻及び作業終了時刻を前記車両の識別情報と紐付けて作業状況を判定する、請求項1記載の作業時間管理システム。
【請求項3】
前記撮影装置は、作業現場で発生した音声を取得する音声取得手段を更に含み、
前記取得部は、前記音声取得手段で取得された音声を取得し、
前記サーバは、前記取得部が取得した音声の中から前記所定の作業の開始に伴って発生する第1の作業音を認識する音声認識手段を更に備え、
前記作業時刻判定手段は、前記音声認識手段によって認識された第1の作業音の発生時刻が含まれる前記作業時間が存在する場合、前記第1の作業音の発生時刻を前記補正作業開始時刻として判定し、前記作業時刻判定手段によって判定された直近の作業開始時刻を補正作業開始時刻に合わせて補正し、
前記作業状況判定手段は、前記作業時刻判定手段によって補正された作業開始時刻を前記車両の識別情報と紐付けて作業状況を判定する、請求項1記載の作業時間管理システム。
【請求項4】
前記音声認識手段は、前記取得した音声の中から前記第1の作業音とは異なるものと認識でき、前記所定の作業の終了に伴って発生する第2の作業音を認識し、
前記作業時刻判定手段は、前記音声認識手段によって認識された第2の作業音の発生時刻が含まれる前記作業時間が存在する場合、前記第2の作業音の発生時刻を補正作業終了時刻として判定し、前記作業時刻判定手段によって判定された直近の作業終了時刻を補正作業終了時刻に合わせて補正し、
前記作業状況判定手段は、前記作業時刻判定手段によって補正された作業終了時刻を前記車両の識別情報と紐付けて作業状況を判定する、請求項3記載の作業時間管理システム。
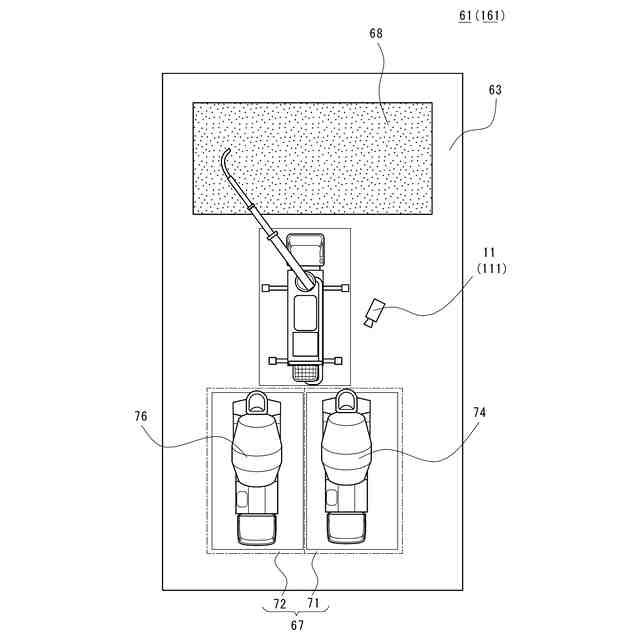
【請求項5】
前記車両は、第1の車両と前記第1の車両より後に作業を行う第2の車両とを少なくとも含み、
前記第1の車両と前記第2の車両とは並んで駐車する時間帯が存在し、
前記所定の駐車領域は、前記第1の車両が撮像される第1の範囲と、前記第2の車両が撮像される第2の範囲とが設定され、
前記取得部は、前記第1の範囲及び前記第2の範囲毎に映像を取得し、
前記車両検出手段及び前記車両識別情報認識手段の各々は、前記第1の範囲及び前記第2の範囲毎に車両の検出と車両の識別情報の認識とを行い、
前記作業時刻判定手段は、前記第1の車両及び前記第2の車両毎に前記作業開始時刻及び前記作業終了時刻を判定し、
前記作業状況判定手段は、前記第1の車両及び前記第2の車両毎に前記作業時刻判定手段によって判定された作業開始時刻及び作業終了時刻を前記車両の識別情報と紐付けて作業状況を判定する、請求項1記載の作業時間管理システム。
【請求項6】
前記撮影装置は、作業現場で発生した音声を取得する音声取得手段を更に含み、
前記取得部は、前記音声取得手段で取得された音声を取得し、
前記サーバは、前記取得部が取得した音声の中から前記所定の作業に伴って複数回発生する所定の作業音を認識する音声認識手段を更に備え、
前記作業時刻判定手段は、前記音声認識手段によって認識された所定の作業音の発生時刻が含まれる前記作業時間が存在する場合、前記音声認識手段によって認識された所定の作業音の内、1回目の作業音の発生時刻を前記第1の車両の補正作業開始時刻として判定し、前記作業時刻判定手段によって判定された直近の作業開始時刻を前記第1の車両の補正作業開始時刻に合わせて補正し、前記音声認識手段によって認識された所定の作業音の内、2回目の作業音の発生時刻を前記第1の車両の補正作業終了時刻として判定し、前記作業時刻判定手段によって判定された直近の作業終了時刻を前記第1の車両の補正作業終了時刻に合わせて補正し、前記音声認識手段によって認識された所定の作業音の内、3回目の作業音の発生時刻を前記第2の車両の補正作業開始時刻として判定し、前記作業時刻判定手段によって判定された直近の作業開始時刻を前記第2の車両の補正作業開始時刻に合わせて補正し、前記音声認識手段によって認識された所定の作業音の内、4回目の作業音の発生時刻を前記第2の車両の補正作業終了時刻として判定し、前記作業時刻判定手段によって判定された直近の作業終了時刻を前記第2の車両の補正作業終了時刻に合わせて補正し、
前記作業状況判定手段は、前記第1の車両及び前記第2の車両毎に、前記作業時刻判定手段によって補正された作業開始時刻及び作業終了時刻を前記車両の識別情報と紐付けて作業状況を判定する、請求項5記載の作業時間管理システム。
発明の詳細な説明
【技術分野】
【0001】
この発明は、作業時間管理システムに関し、特にミキサー車等の特種用途自動車の作業時間を管理するための作業時間管理システムに関するものである。
続きを表示(約 2,400 文字)
【背景技術】
【0002】
従来、一般的にミキサー車と呼ばれる、プラントで製造された生コンクリートを工事現場まで運搬・供給する車両が存在する。生コンクリートは、その品質担保のため、プラントでの練混ぜ開始から荷卸しを済ませるまでを定められた時間内に完了するように、日本産業規格(JIS規格)で定められている。そのため、ミキサー車については、実際の工事現場への入退場の管理のみならず、実際の荷卸し開始から荷卸し完了までの時間管理が必要である。又、複数のミキサー車によって生コンクリートを運搬する場合、先に到着したミキサー車から順に荷卸しを行うことから、ミキサー車を個別に把握することも重要である。
【0003】
このようなミキサー車の工事現場への入退場の管理や、荷卸し開始から荷卸し完了までの時間管理は、従来は担当の人員を配置して対応しており、人的コストがかかるものであった。更に、複数台のミキサー車が出入りを繰り返す工事現場であるほど管理は複雑となり、個別の車両毎により効率的に時間管理ができる仕組みが求められていた。
【0004】
ミキサー車のような特種用途自動車の入退場を管理する技術として、例えば特許文献1では、ごみ処理施設において塵芥収集車などの車両を追跡するための車両追跡システムが開示されている。車両追跡システムは、車両の駐車エリアPA及び徐行エリアSAを含むプラットフォームPFを俯瞰的に撮像する撮像装置と、撮像装置より時系列的に得られる撮像画像を解析して、車両の位置を追跡する画像処理装置とを備えるものである。プラットフォームPFは車両追跡エリアとして設定されており、プラットフォームPF内での各車両の位置を画像処理装置により追跡するよう構成されている。
【0005】
画像処理装置は、学習モデルMDを用いて車両検出を行い、検出対象の車両を含む検出領域を各時点の撮像画像から抽出し、抽出した複数の検出領域から中心座標を車両位置として特定する等して、検出対象の車両の移動軌跡を導出する。駐車エリアPAの近くには2本の第1の基準線及び第2の基準線が予め設定されており、導出した車両の移動軌跡が、第1の基準線と第2の基準線との間の領域を跨いだか否かにより、駐車エリアPAへの入退場を判定する。これにより、駐車エリアPAにおける車両の駐車台数をカウントすることができる。
【先行技術文献】
【特許文献】
【0006】
特開2023-125865号公報
【発明の概要】
【発明が解決しようとする課題】
【0007】
特許文献1のような従来の画像処理システムは、車両の駐車台数をカウントする際に、画像処理装置によって、塵芥収集車と一般車両とを区別し、車両の駐車台数を車両種別毎にカウントすることもできるものである。しかしながら、塵芥収集車の一台一台を個別に区別し、車両毎の作業時間等を管理するものではない。
【0008】
この発明は、上記のような課題を解決するためになされたもので、車両毎の特定の作業時間の管理に関し、人的コストを削減すると共に効率のよい作業時間管理システムを提供することを目的とする。
【課題を解決するための手段】
【0009】
上記の目的を達成するために、請求項1記載の発明は、車両の所定の作業に関する作業時間を管理するための作業時間管理システムであって、予め設定した所定の駐車領域内の映像を連続的に撮像する撮像手段を含む撮影装置と、撮影装置に所定のネットワークを介して接続されるサーバと、複数のユーザが所持可能であり、所定のネットワークを介してサーバに接続可能な各種複数の通信端末とを有し、サーバは、撮影装置から撮像した映像を取得する取得部と、取得部が取得した映像に車両が存在することを検出する車両検出手段と、取得部が取得した映像から車両の識別情報を認識する車両識別情報認識手段と、取得部が取得した映像から車両検出手段による車両の検出及び車両識別情報認識手段による車両の識別情報の認識の双方がなされた時刻を作業開始時刻として判定し、作業開始後に取得部が取得した映像から車両の検出又は車両の識別情報の認識が行われなくなった時刻を作業終了時刻として判定する作業時刻判定手段と、作業時刻判定手段によって判定された作業開始時刻及び作業終了時刻を車両の識別情報と紐付けて作業状況を判定する作業状況判定手段とを備え、通信端末は、作業状況判定手段によって判定された作業状況を表示する表示部を備えるものである。
【0010】
請求項2記載の発明は、請求項1記載の発明の構成において、撮影装置は、作業現場で発生した音声を取得する音声取得手段を更に含み、取得部は、音声取得手段で取得された音声を取得し、サーバは、取得部が取得した音声の中から所定の作業に伴って2回発生する所定の作業音を認識する音声認識手段を更に備え、作業時刻判定手段は、音声認識手段によって認識された所定の作業音の発生時刻が含まれる作業時間が存在する場合、音声認識手段によって認識された所定の作業音の内、1回目の作業音の発生時刻を補正作業開始時刻として判定すると共に2回目の作業音の発生時刻を補正作業終了時刻として判定し、補正作業開始時刻に合わせて作業時刻判定手段によって判定された作業開始時刻を補正し、補正作業終了時刻に合わせて作業時刻判定手段によって判定された作業終了時刻を補正し、作業状況判定手段は、作業時刻判定手段によって補正された作業開始時刻及び作業終了時刻を車両の識別情報と紐付けて作業状況を判定するものである。
(【0011】以降は省略されています)
この特許をJ-PlatPat(特許庁公式サイト)で参照する
関連特許
飛島建設株式会社
仮設壁の構築方法
1か月前
飛島建設株式会社
作業時間管理システム
1か月前
飛島建設株式会社
型枠構造体、固定治具及びダム堤体の構築方法
1か月前
飛島建設株式会社
アンカー位置調整装置、アンカー固定方法、及び、支承取替方法
1か月前
飛島建設株式会社
クラウドを介した4Dモデルデータ共有システム及びデータ共有方法
1か月前
個人
詐欺保険
1か月前
個人
縁伊達ポイン
1か月前
個人
職業自動販売機
12日前
個人
5掛けポイント
19日前
個人
RFタグシート
1か月前
個人
ペルソナ認証方式
27日前
個人
QRコードの彩色
1か月前
個人
地球保全システム
1か月前
個人
情報処理装置
22日前
個人
自動調理装置
29日前
個人
残土処理システム
1か月前
個人
農作物用途分配システム
1か月前
個人
知的財産出願支援システム
1か月前
個人
タッチパネル操作指代替具
1か月前
個人
サービス情報提供システム
14日前
個人
インターネットの利用構造
26日前
個人
携帯端末障害問合せシステム
1か月前
個人
スケジュール調整プログラム
1か月前
個人
食品レシピ生成システム
1か月前
個人
エリアガイドナビAIシステム
27日前
株式会社キーエンス
受発注システム
1か月前
株式会社キーエンス
受発注システム
1か月前
個人
海外支援型農作物活用システム
2か月前
株式会社キーエンス
受発注システム
1か月前
株式会社ケアコム
項目選択装置
22日前
個人
未来型家系図構築システム
2か月前
キヤノン株式会社
情報処理装置
6日前
キヤノン株式会社
情報処理装置
6日前
トヨタ自動車株式会社
通知装置
1か月前
エッグス株式会社
情報処理装置
1か月前
株式会社ケアコム
項目選択装置
22日前
続きを見る
他の特許を見る