TOP
|
特許
|
意匠
|
商標
特許ウォッチ
Twitter
他の特許を見る
10個以上の画像は省略されています。
公開番号
2025151631
公報種別
公開特許公報(A)
公開日
2025-10-09
出願番号
2024053157
出願日
2024-03-28
発明の名称
ローリングピストン型電動圧縮機
出願人
株式会社豊田自動織機
代理人
弁理士法人深見特許事務所
主分類
F04C
18/356 20060101AFI20251002BHJP(液体用容積形機械;液体または圧縮性流体用ポンプ)
要約
【課題】廉価に構成されつつ高い信頼性を有するローリングピストン型電動圧縮機を提供する。
【解決手段】ローリングピストン型電動圧縮機1は、ケース10と、圧縮機構20とを備える。圧縮機構20は、第1シリンダ125と、フロントサイドプレート140と、ミドルサイドプレート160とを含む。フロントサイドプレート140およびミドルサイドプレート160の各々は、第1方向に交差する方向においてケース10の内周面15に当接している。ケース10、第1シリンダ125、フロントサイドプレート140およびミドルサイドプレート160に囲まれた貯油室28が形成されている。吐出経路3から分岐し、オイルセパレータ40から分離された潤滑油を貯油室28に供給可能な第1供給経路50が形成されている。貯油室28から潤滑油が供給され、かつ圧縮機構20の摺動位置に潤滑油を供給可能な第2供給経路が形成されている。
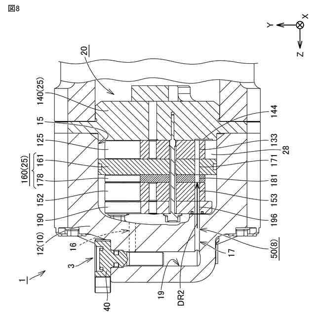
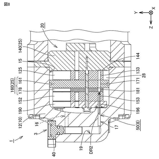
【選択図】図8
特許請求の範囲
【請求項1】
吸入経路および吐出経路が設けられたケースと、
前記ケースに収容される電動モータと、
前記ケースに収容され、前記電動モータと水平方向に並設されるとともに、前記吸入経路から吸入され前記電動モータを通過した冷媒を吸入し圧縮して前記吐出経路に吐出する圧縮機構と、
前記吐出経路上に設けられ、冷媒に混在した潤滑油を冷媒から分離するオイルセパレータとを備え、
前記圧縮機構は、
前記電動モータにより駆動されるとともに第1方向に延在する軸心を有する回転軸と、
前記回転軸の回転に伴って前記軸心に対して偏心した状態で回転可能な第1ピストンと、
前記第1方向に交差する方向において前記第1ピストンに当接する第1ベーンと、
前記第1ピストンおよび前記第1ベーンを収容し、前記第1ピストンおよび前記第1ベーンとの間において冷媒を圧縮する第1圧縮室が形成される第1シリンダと、
前記第1方向において前記第1シリンダに当接し、前記第1圧縮室と接するフロントサイドプレートと、
前記第1ピストンと間隔をあけて前記第1ピストンに関して前記第1方向において前記フロントサイドプレートが配置される側とは反対側に配置され、前記回転軸の回転に伴って前記軸心に対して偏心した状態で回転可能な第2ピストンと、
前記第1方向に交差する方向において前記第2ピストンに当接する第2ベーンと、
前記第2ピストンおよび前記第2ベーンを収容し、前記第2ピストンおよび前記第2ベーンとの間において冷媒を圧縮する第2圧縮室が形成される第2シリンダと、
前記第2シリンダに対して前記第1方向において前記フロントサイドプレートが配置される側とは反対側から当接し、前記第2圧縮室と接するリアサイドプレートと、
前記第1方向において前記第1シリンダおよび前記第2シリンダの間に配置され、前記第1圧縮室と前記第2圧縮室とを仕切るミドルサイドプレートとを含み、
前記フロントサイドプレートおよび前記ミドルサイドプレートの各々は、前記第1方向に交差する方向において前記ケースの内周面に当接しており、
前記ケース、前記第1シリンダ、前記フロントサイドプレートおよび前記ミドルサイドプレートに囲まれた貯油室が形成されており、
前記吐出経路から分岐し、前記オイルセパレータから分離された潤滑油を前記貯油室に供給可能な第1供給経路が形成されており、
前記貯油室から潤滑油が供給され、かつ前記圧縮機構の摺動位置に潤滑油を供給可能な第2供給経路が形成されている、ローリングピストン型電動圧縮機。
続きを表示(約 820 文字)
【請求項2】
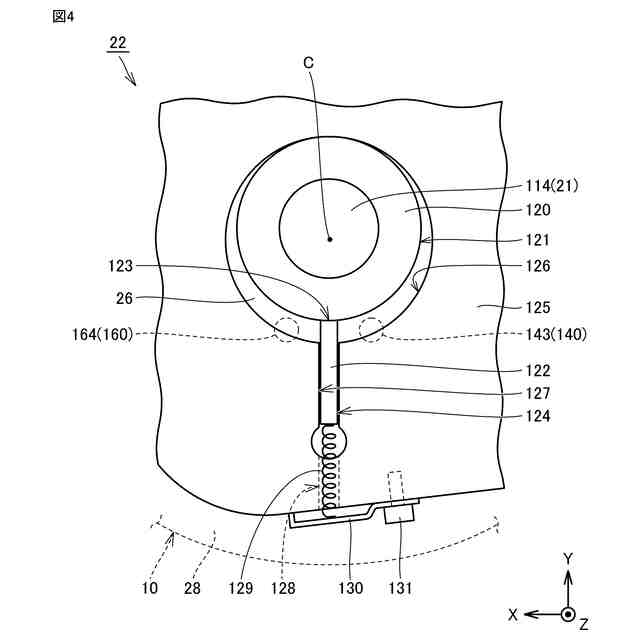
前記第1ベーンは、前記ケースの内部において前記第1方向に交差する鉛直方向の下方側に配置されており、
前記第1シリンダの外周面には、前記貯油室から前記第1ベーンの下方端側に潤滑油を供給可能な孔が形成されている、請求項1に記載のローリングピストン型電動圧縮機。
【請求項3】
前記第2供給経路は、前記フロントサイドプレートと前記回転軸との摺動箇所に潤滑油を供給可能に構成されている、請求項1または請求項2に記載のローリングピストン型電動圧縮機。
【請求項4】
前記第2供給経路は、前記リアサイドプレートと前記回転軸との摺動箇所に潤滑油を供給可能に構成されている、請求項1または請求項2に記載のローリングピストン型電動圧縮機。
【請求項5】
前記第2供給経路は、前記第1ベーンおよび前記第2ベーンの少なくとも一方と前記第1ベーンおよび前記第2ベーンの前記少なくとも一方に対応する前記第1シリンダおよび前記第2シリンダの少なくとも一方との摺動箇所に潤滑油を供給可能に構成されている、請求項1または請求項2に記載のローリングピストン型電動圧縮機。
【請求項6】
前記第2供給経路は、前記ミドルサイドプレートと前記第1ピストンおよび前記第2ピストンの少なくとも一方との摺動箇所に潤滑油を供給可能に構成されている、請求項1または請求項2に記載のローリングピストン型電動圧縮機。
【請求項7】
前記第2供給経路は、前記回転軸と前記ミドルサイドプレートとの間の封止箇所に潤滑油を供給可能に構成されている、請求項1または請求項2に記載のローリングピストン型電動圧縮機。
【請求項8】
前記第2供給経路の途中に、潤滑油の流路断面積が小さくなっている絞り部が設けられている、請求項1または請求項2に記載のローリングピストン型電動圧縮機。
発明の詳細な説明
【技術分野】
【0001】
本開示は、ローリングピストン型電動圧縮機に関する。
続きを表示(約 2,100 文字)
【背景技術】
【0002】
横型ロータリーコンプレッサを開示した先行技術文献として、特開2005-105985号公報(特許文献1)がある。特許文献1に記載された横型ロータリーコンプレッサは、回転圧縮機構部を収容する密閉容器を備える。密閉容器の底部には、回転圧縮機構部に供給するオイルを溜めるオイル溜めが設けられている。
【0003】
電動圧縮機を開示した先行技術文献として、特開2017-198159号公報(特許文献2)がある。特許文献2に記載された電動圧縮機は、有底筒状のメインハウジングを備える。メインハウジングの筒状部には、下方側の部位の内部にオイルセパレータにて分離された潤滑オイルを貯留する貯油室が区画形成されている。
【先行技術文献】
【特許文献】
【0004】
特開2005-105985号公報
特開2017-198159号公報
【発明の概要】
【発明が解決しようとする課題】
【0005】
特許文献1に記載の横型ロータリーコンプレッサは、ケースの内部空間全体に潤滑油を貯める貯油室が形成されているため、潤滑油を吸い上げるなどにより圧縮機構へ供給する場合に潤滑油が吸い上げにくい可能性がある。このため、特許文献1においては、圧縮機構の摺動位置に潤滑油が十分に供給されないことによって、ローリングピストン型電動圧縮機の信頼性を低下させる可能性がある。
【0006】
特許文献2に記載の電動圧縮機は、ケースの肉厚部分に貯油室が設けられているため、加工が複雑になりコストがかかる可能性がある。このため、ローリングピストン型電動圧縮機が高価になる可能性がある。
【0007】
本開示は、上記の課題を解決するためになされたものであって、廉価に構成されつつ高い信頼性を有するローリングピストン型電動圧縮機を提供することを目的とする。
【課題を解決するための手段】
【0008】
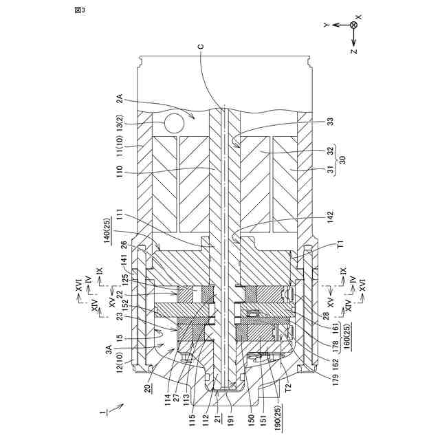
本開示に基づくローリングピストン型電動圧縮機は、ケースと、電動モータと、圧縮機構と、オイルセパレータとを備える。ケースは、吸入経路および吐出経路が設けられている。電動モータは、ケースに収容される。圧縮機構は、ケースに収容され、電動モータと水平方向に並設されるとともに、吸入経路から吸入され電動モータを通過した冷媒を吸入し圧縮して吐出経路に吐出する。オイルセパレータは、吐出経路上に設けられ、冷媒に混在した潤滑油を冷媒から分離する。圧縮機構は、回転軸と、第1ピストンと、第1ベーンと、第1シリンダと、フロントサイドプレートと、第2ピストンと、第2ベーンと、第2シリンダと、リアサイドプレートと、ミドルサイドプレートとを含む。回転軸は、電動モータにより駆動されるとともに第1方向に延在する軸心を有する。第1ピストンは、回転軸の回転に伴って軸心に対して偏心した状態で回転可能である。第1ベーンは、第1方向に交差する方向において第1ピストンに当接する。第1シリンダは、第1ピストンおよび第1ベーンを収容し、第1ピストンおよび第1ベーンとの間において冷媒を圧縮する第1圧縮室が形成される。フロントサイドプレートは、第1方向において第1シリンダに当接し、第1圧縮室と接する。第2ピストンは、第1ピストンと間隔をあけて第1ピストンに関して第1方向においてフロントサイドプレートが配置される側とは反対側に配置され、回転軸の回転に伴って軸心に対して偏心した状態で回転可能である。第2ベーンは、第1方向に交差する方向において第2ピストンに当接する。第2シリンダは、第2ピストンおよび第2ベーンを収容し、第2ピストンおよび第2ベーンとの間において冷媒を圧縮する第2圧縮室が形成される。リアサイドプレートは、第2シリンダに対して第1方向においてフロントサイドプレートが配置される側とは反対側から当接し、第2圧縮室と接する。ミドルサイドプレートは、第1方向において第1シリンダおよび第2シリンダの間に配置され、第1圧縮室と第2圧縮室とを仕切る。フロントサイドプレートおよびミドルサイドプレートの各々は、第1方向に交差する方向においてケースの内周面に当接している。ケース、第1シリンダ、フロントサイドプレートおよびミドルサイドプレートに囲まれた貯油室が形成されている。吐出経路から分岐し、オイルセパレータから分離された潤滑油を貯油室に供給可能な第1供給経路が形成されている。貯油室から潤滑油が供給され、かつ圧縮機構の摺動位置に潤滑油を供給可能な第2供給経路が形成されている。
【0009】
本開示の一形態においては、第1ベーンは、ケースの内部において第1方向に交差する鉛直方向の下方側に配置されている。第1シリンダの外周面には、貯油室から第1ベーンの下方端側に潤滑油を供給可能な孔が形成されている。
【0010】
本開示の一形態においては、第2供給経路は、フロントサイドプレートと回転軸との摺動箇所に潤滑油を供給可能に構成されている。
(【0011】以降は省略されています)
この特許をJ-PlatPat(特許庁公式サイト)で参照する
関連特許
株式会社豊田自動織機
産業車両
1日前
株式会社豊田自動織機
荷役装置
6日前
株式会社豊田自動織機
双方向充電器
今日
株式会社豊田自動織機
ターボチャージャ
6日前
株式会社豊田自動織機
燃料電池ユニット
12日前
株式会社豊田自動織機
織機用異常検知装置
6日前
株式会社豊田自動織機
繊維機械の検査システム
6日前
株式会社豊田自動織機
内燃機関の吸気温度制御システム
6日前
株式会社豊田自動織機
繊維構造体、及び繊維強化複合材
6日前
トヨタ自動車株式会社
蓄電装置の製造方法
9日前
トヨタ自動車株式会社
バイポーラ型蓄電装置
12日前
トヨタ自動車株式会社
二次電池及び二次電池の制御方法
8日前
個人
海流製造装置。
1か月前
株式会社スギノマシン
圧縮機
27日前
株式会社ツインバード
送風装置
1か月前
株式会社ツインバード
送風装置
1か月前
カヤバ株式会社
電動ポンプ
2か月前
日機装株式会社
遠心ポンプ
19日前
株式会社不二越
蓄圧装置
3か月前
ビッグボーン株式会社
送風装置
2か月前
株式会社ノーリツ
ロータリ圧縮機
2か月前
株式会社酉島製作所
ポンプ
4か月前
株式会社ノーリツ
ロータリー圧縮機
4か月前
樫山工業株式会社
真空ポンプ
28日前
サンデン株式会社
スクロール圧縮機
1か月前
サンデン株式会社
スクロール圧縮機
1か月前
株式会社坂製作所
スクロール圧縮機
4か月前
サンデン株式会社
スクロール圧縮機
1か月前
株式会社不二越
ベーンポンプ
3か月前
小倉クラッチ株式会社
ルーツブロア
3か月前
サンデン株式会社
可変容量型圧縮機
6日前
株式会社チロル
送風機、送風機付衣服
2か月前
株式会社豊田自動織機
流体機械
2か月前
株式会社アイシン
ポンプケース
1か月前
株式会社島津製作所
真空ポンプ
2か月前
株式会社島津製作所
真空ポンプ
1か月前
続きを見る
他の特許を見る