TOP
|
特許
|
意匠
|
商標
特許ウォッチ
Twitter
他の特許を見る
10個以上の画像は省略されています。
公開番号
2025151010
公報種別
公開特許公報(A)
公開日
2025-10-09
出願番号
2024052217
出願日
2024-03-27
発明の名称
加速器システム、粒子線治療システム、加速器の制御方法及び粒子線治療システムの制御方法
出願人
株式会社日立ハイテク
代理人
弁理士法人ウィルフォート国際特許事務所
主分類
H05H
13/04 20060101AFI20251002BHJP(他に分類されない電気技術)
要約
【課題】荷電粒子ビームの出射効率の低下を抑制することが可能な加速器システムを提供する。
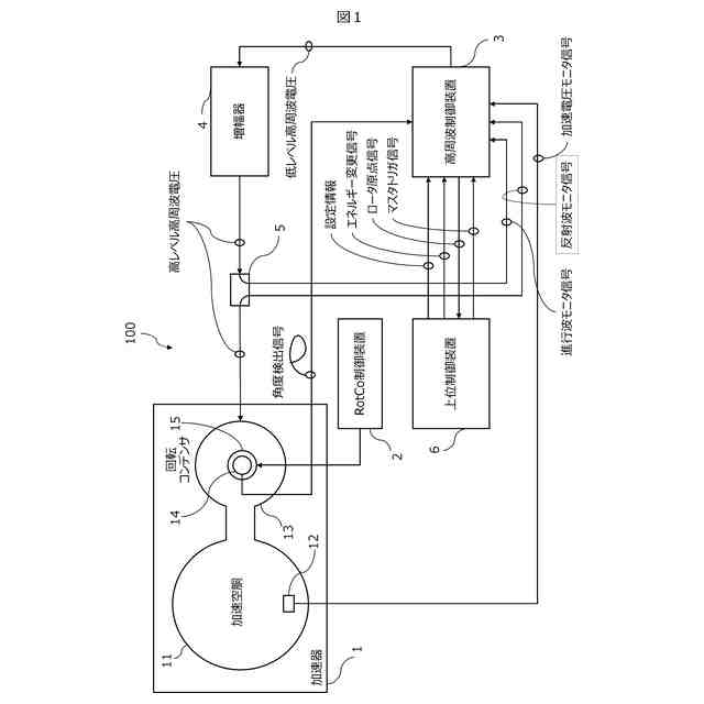
【解決手段】加速器1は、入力された高周波電圧を用いて共振周波数に応じた加速用高周波電圧を励起する加速空胴11と、加速空胴11の共振周波数を変調する回転コンデンサ13とを備え、入射された荷電粒子ビームを加速用高周波電圧によって加速し出射する。加速電圧モニタ12は、加速用高周波電圧を検出する。高周波制御装置3は、検出された加速用高周波電圧の周波数に基づいて、制御用高周波電圧を共振周波数の変化に追従されるように変調しつつ、加速器1に対する荷電粒子ビームの入射及び出射を制御する。
【選択図】図1
特許請求の範囲
【請求項1】
入力された制御用高周波電圧を用いて共振周波数に応じた加速用高周波電圧を励起する加速空胴と、前記共振周波数を時間的に変化させる変調器とを備え、入射された荷電粒子ビームを前記加速用高周波電圧によって加速して出射する加速器と、
前記共振周波数を表す周波数対応値に基づいて、前記制御用高周波電圧の振幅を制御する高周波制御装置と、を有する加速器システム。
続きを表示(約 1,500 文字)
【請求項2】
前記加速用高周波電圧を検出する電圧検出部をさらに有し、
前記高周波制御装置は、前記加速用高周波電圧の振幅の目標値である振幅目標値を前記周波数対応値に基づいて設定し、前記電圧検出部にて検出された加速用高周波電圧の振幅が前記振幅目標値となるように、前記制御用高周波電圧の振幅を制御する、請求項1に記載の加速器システム。
【請求項3】
前記高周波制御装置は、前記加速用高周波電圧の振幅が当該振幅の目標値である振幅目標値となるときの前記制御用高周波電圧の振幅である振幅設定値を周波数対応値に基づいて設定し、前記制御用高周波電圧の振幅を前記振幅設定値となるように制御する、請求項1に記載の加速器システム。
【請求項4】
前記加速用高周波電圧を検出する電圧検出部をさらに有し、
前記高周波制御装置は、前記振幅目標値を前記周波数対応値に基づいて設定し、前記電圧検出部にて検出された加速用高周波電圧の振幅が前記振幅目標値となるように、前記制御用高周波電圧の振幅を制御することで、当該振幅と前記振幅目標値との偏差を補正する振幅補正量を前記周波数対応値ごとに算出し、当該振幅補正量に基づいて前記振幅設定値を前記周波数対応値ごとに算出する、請求項3に記載の加速器システム。
【請求項5】
前記高周波制御装置は、前記共振周波数の周期である運転周期ごとに前記振幅補正量を前記周波数対応値ごとに算出し、前記運転周期ごとの前記振幅補正量の平均値に基づいて、前記振幅設定値を算出する、請求項4に記載の加速器システム。
【請求項6】
前記加速用高周波電圧を検出する電圧検出部をさらに有し、
前記高周波制御装置は、前記電圧検出部にて検出された加速用高周波電圧の周波数に基づいて、前記制御用高周波電圧の周波数を前記共振周波数の変化に追従されるように変調し、
前記周波数対応値は、前記制御用高周波電圧の周波数である、請求項1乃至5のいずれか1項に記載の加速器システム。
【請求項7】
前記変調器は、前記加速空胴に接続され、互いに対向する電極対の一方を回転させて前記電極対が重なり合う重畳面積を変化させることにより静電容量を変化させて、前記共振周波数を時間的に変化させる回転コンデンサであり、
前記周波数対応値は、前記回転コンデンサの回転角度である、請求項1乃至6のいずれか1項に記載の加速器システム。
【請求項8】
請求項1乃至7のいずれか1項に記載の加速器システムと、
前記加速器システムから出射された荷電粒子ビームを患者に照射する照射装置と、を備えた粒子線治療システム。
【請求項9】
前記荷電粒子ビームの照射線量を計測する線量モニタと、
前記患者内の複数の照射位置に対して順番に前記荷電粒子ビームを照射するように制御する上位制御装置と、をさらに備え、
前記上位制御装置は、前記照射位置のいずれかに照射した照射量が目標値に到達すると、前記荷電粒子ビームを照射する前記照射位置を変更する、請求項8に記載の粒子線治療システム。
【請求項10】
前記高周波制御装置は、エネルギー変更指令が入力されると、前記加速器から出射する荷電粒子ビームのエネルギーを変更し、
前記上位制御装置は、所定のエネルギーを有する前記荷電粒子ビームの照射が完了すると前記エネルギー変更指令を前記高周波制御装置に出力する、請求項9に記載の粒子線治療システム。
(【請求項11】以降は省略されています)
発明の詳細な説明
【技術分野】
【0001】
本開示は、加速器システム、粒子線治療システム、加速器の制御方法及び粒子線治療システムの制御方法に関する。
続きを表示(約 1,400 文字)
【背景技術】
【0002】
荷電粒子ビームを加速して出射する加速器として、強度が時間的に一定の主磁場の中で、周波数を時間的に変調させた加速用高周波電圧を荷電粒子ビームに印加することで、その荷電粒子ビームを加速する円形加速器が注目されている。この種の円形加速器は、超電導コイルを用いて主磁場を生成することができるため、小型化及び低コスト化に有利であり、特に粒子線治療システムなどに適用されている。
【0003】
加速用高周波電圧は、加速用高周波電圧を励起する加速空胴と接続された変調器を用いて加速空胴の共振周波数を変調する。変調器として、例えば、回転コンデンサが挙げられる。回転コンデンサは、コンデンサを構成する電極が等速回転することで、加速空胴の共振周波数を変化させる。この共振周波数の変化に追従した高周波電圧を加速空胴に供給することで、荷電粒子ビームを安定に加速できる。
【0004】
荷電粒子ビームを安定的に加速するには、加速空胴に供給する高周波電圧の振幅を適切な値に制御することが重要となる。これに対して特許文献1には、高周波電圧の振幅を指定する振幅指令信号を、加速用高周波電圧の振幅に基づいて補正するフィードバック制御を行うことで、荷電粒子ビームの安定性を向上させる技術が開示されている。
【先行技術文献】
【特許文献】
【0005】
特開2018-98152号公報
【発明の概要】
【発明が解決しようとする課題】
【0006】
加速空胴の共振周波数を変調するための回転コンデンサの回転数には、回転コンデンサを回転させるモータや回転コンデンサの組立公差による偏心などに起因するゆらぎが生じるため、加速空胴の共振周波数にもゆらぎが生じる。加速空胴に供給する高周波電圧の振幅の最適値は、加速空胴の共振周波数に応じて変化するため、加速空胴の共振周波数にゆらぎが生じると、高周波電圧の振幅の最適値もずれてしまい、荷電粒子ビームの出射効率の低下を招く恐れがある。
【0007】
特許文献1に記載の技術では、加速空胴に供給する高周波電圧の振幅を加速用高周波電圧の振幅に基づいてフィードバック制御することは開示されているが、共振周波数のゆらぎについては考慮されていない。
【0008】
本開示の目的は、荷電粒子ビームの出射効率の低下を抑制することが可能な加速器システム、粒子線治療システム、加速器の制御方法及び粒子線治療システムの制御方法を提供することにある。
【課題を解決するための手段】
【0009】
本開示の一態様に従う加速器システムは、入力された制御用高周波電圧を用いて共振周波数に応じた加速用高周波電圧を励起する加速空胴と、前記共振周波数を時間的に変化させる変調器とを備え、入射された荷電粒子ビームを前記加速用高周波電圧によって加速して出射する加速器と、前記共振周波数を表す周波数対応値に基づいて、前記制御用高周波電圧の振幅を制御する高周波制御装置と、を有する。
【発明の効果】
【0010】
本発明によれば、荷電粒子ビームの出射効率の低下を抑制することが可能になる。
【図面の簡単な説明】
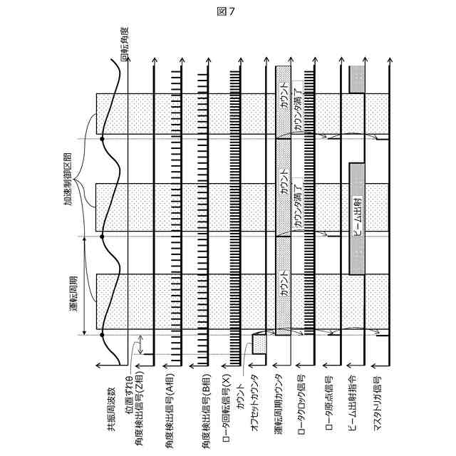
(【0011】以降は省略されています)
この特許をJ-PlatPat(特許庁公式サイト)で参照する
関連特許
株式会社コロナ
電気機器
3か月前
個人
電子部品の実装方法
13日前
個人
非衝突型ガウス加速器
2か月前
日本精機株式会社
回路基板
1か月前
愛知電機株式会社
装柱金具
5日前
日本精機株式会社
回路基板
4か月前
株式会社遠藤照明
照明装置
3か月前
アイホン株式会社
電気機器
2か月前
イビデン株式会社
配線基板
6日前
アイホン株式会社
電気機器
27日前
キヤノン株式会社
電子機器
27日前
キヤノン株式会社
電子機器
3か月前
日本放送協会
基板固定装置
1か月前
個人
節電材料
2か月前
メクテック株式会社
配線基板
1か月前
メクテック株式会社
配線基板
3か月前
東レ株式会社
霧化状活性液体供給装置
1か月前
マクセル株式会社
配列用マスク
3か月前
株式会社デンソー
電子装置
6日前
株式会社レクザム
剥離装置
5日前
イビデン株式会社
プリント配線板
1か月前
イビデン株式会社
プリント配線板
3か月前
イビデン株式会社
配線基板
2か月前
トキコーポレーション株式会社
照明器具
3か月前
イビデン株式会社
プリント配線板
3か月前
イビデン株式会社
配線基板
1か月前
サクサ株式会社
筐体の壁掛け構造
1か月前
FDK株式会社
基板
12日前
イビデン株式会社
プリント配線板
2か月前
サクサ株式会社
開き角度規制構造
4日前
株式会社電気印刷研究所
金属画像形成方法
3か月前
メクテック株式会社
配線モジュール
3か月前
新電元工業株式会社
電子装置
27日前
メクテック株式会社
伸縮性配線基板
3か月前
富士フイルム株式会社
積層体
6日前
株式会社レゾナック
冷却装置
12日前
続きを見る
他の特許を見る