TOP
|
特許
|
意匠
|
商標
特許ウォッチ
Twitter
他の特許を見る
公開番号
2025150808
公報種別
公開特許公報(A)
公開日
2025-10-09
出願番号
2024051909
出願日
2024-03-27
発明の名称
焼却灰処理装置および焼却灰処理方法
出願人
JFEエンジニアリング株式会社
代理人
弁理士法人酒井国際特許事務所
主分類
B09B
3/70 20220101AFI20251002BHJP(固体廃棄物の処理;汚染土壌の再生)
要約
【課題】焼却灰を貯留する焼却灰貯留設備において焼却灰からの重金属の溶出を抑制すること。
【解決手段】廃棄物が焼却されて得られた焼却灰を貯留可能に構成された焼却灰貯留手段と、焼却灰貯留手段に貯留された焼却灰の周辺の雰囲気状態を計測する雰囲気計測手段と、焼却灰に対して液体を散布可能に構成された散布手段と、雰囲気計測手段によって計測された雰囲気状態に基づいて、焼却灰貯留手段に貯留された焼却灰の含水率を導出する制御手段と、を備え、制御手段は、雰囲気計測手段から取得した雰囲気状態の計測値に基づいて、焼却灰貯留手段に貯留された焼却灰の含水率を導出し、導出した含水率に基づいて、焼却灰に対して加水する加水量を導出し、散布手段によって導出した加水量の水分を焼却灰に加水する。
【選択図】図2
特許請求の範囲
【請求項1】
廃棄物が焼却されて得られた焼却灰を貯留可能に構成された焼却灰貯留手段と、
前記焼却灰貯留手段に貯留された前記焼却灰の周辺の雰囲気状態を計測する雰囲気計測手段と、
前記焼却灰に対して液体を散布可能に構成された散布手段と、
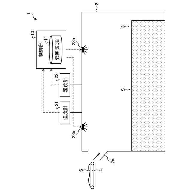
前記雰囲気計測手段によって計測された雰囲気状態に基づいて、前記焼却灰貯留手段に貯留された前記焼却灰の含水率を導出する制御手段と、を備え、
前記制御手段は、
前記雰囲気計測手段から取得した前記雰囲気状態の計測値に基づいて、前記焼却灰貯留手段に貯留された前記焼却灰の含水率を導出し、
前記導出した含水率に基づいて、前記焼却灰に対して加水する加水量を導出し、
前記散布手段によって前記導出した加水量の水分を前記焼却灰に加水する
焼却灰処理装置。
続きを表示(約 2,000 文字)
【請求項2】
前記雰囲気状態は、前記焼却灰貯留手段に貯留された前記焼却灰の周辺において、温度を計測可能に構成された温度計測手段によって計測された温度と、湿度を計測可能に構成された湿度計測手段によって計測された湿度との少なくとも一方の計測値である
請求項1に記載の焼却灰処理装置。
【請求項3】
前記湿度は相対湿度であって、前記加水量は、前記相対湿度に対応させてあらかじめ設定された加水量に基づいて導出される
請求項2に記載の焼却灰処理装置。
【請求項4】
廃棄物が焼却されて得られた焼却灰を貯留可能に構成された焼却灰貯留手段と、
前記焼却灰貯留手段に貯留された前記焼却灰を撮像可能に構成された撮像手段と、
前記焼却灰に対して液体を散布可能に構成された散布手段と、
前記撮像手段によって撮像された前記焼却灰の撮像データに基づいて、前記焼却灰貯留手段に貯留された前記焼却灰の含水率を導出する制御手段と、を備え、
前記制御手段は、
前記撮像手段から取得した前記撮像データに基づいて、前記焼却灰貯留手段に貯留された前記焼却灰の含水率を導出し、
前記導出した含水率に基づいて、前記焼却灰に対して加水する加水量を導出し、
前記散布手段によって前記導出した加水量の水分を前記焼却灰に加水する
焼却灰処理装置。
【請求項5】
前記制御手段は、画像解析を行う学習モデルに入力パラメータとして前記撮像データを入力し、前記焼却灰の含水率を出力パラメータとして導出し、
前記学習モデルは、前記焼却灰を撮像した撮像データを学習用入力パラメータとし、撮像された焼却灰の含水率を学習用出力パラメータとした入出力データセットを教師データとして、機械学習によって生成された学習モデルである
請求項4に記載の焼却灰処理装置。
【請求項6】
廃棄物が焼却されて得られた焼却灰を貯留可能に構成された焼却灰貯留手段と、
前記焼却灰貯留手段に貯留された前記焼却灰の周辺の雰囲気状態を計測する雰囲気計測手段と、
前記焼却灰に対して液体を散布可能に構成された散布手段と、
前記雰囲気計測手段によって計測された雰囲気状態に基づいて、前記焼却灰貯留手段に貯留された前記焼却灰の含水率を導出する制御手段と、を備えた焼却灰処理装置において実行される焼却灰処理方法であって、
前記雰囲気計測手段から取得した前記雰囲気状態の計測値に基づいて、前記焼却灰貯留手段に貯留された前記焼却灰の含水率を導出し、
前記導出した含水率に基づいて、前記焼却灰に対して加水する加水量を導出し、
前記散布手段によって前記導出した加水量の水分を前記焼却灰に加水する
焼却灰処理方法。
【請求項7】
前記雰囲気状態は、前記焼却灰貯留手段に貯留された前記焼却灰の周辺において、温度を計測可能に構成された温度計測手段によって計測された温度と、湿度を計測可能に構成された湿度計測手段によって計測された湿度との少なくとも一方の計測値である
請求項6に記載の焼却灰処理方法。
【請求項8】
前記湿度は相対湿度であって、前記加水量は、前記相対湿度に対応させてあらかじめ設定された加水量に基づいて導出される
請求項7に記載の焼却灰処理方法。
【請求項9】
廃棄物が焼却されて得られた焼却灰を貯留可能に構成された焼却灰貯留手段と、
前記焼却灰貯留手段に貯留された前記焼却灰を撮像可能に構成された撮像手段と、
前記焼却灰に対して液体を散布可能に構成された散布手段と、
前記撮像手段によって撮像された前記焼却灰の撮像データに基づいて、前記焼却灰貯留手段に貯留された前記焼却灰の含水率を導出する制御手段と、を備えた焼却灰処理装置における前記制御手段が実行する焼却灰処理方法であって、
前記撮像手段から取得した前記撮像データに基づいて、前記焼却灰貯留手段に貯留された前記焼却灰の含水率を導出し、
前記導出した含水率に基づいて、前記焼却灰に対して加水する加水量を導出し、
前記散布手段によって前記導出した加水量の水分を前記焼却灰に加水する
焼却灰処理方法。
【請求項10】
前記制御手段は、画像解析を行う学習モデルに入力パラメータとして前記撮像データを入力し、前記焼却灰の含水率を出力パラメータとして導出し、
前記学習モデルは、前記焼却灰を撮像した撮像データを学習用入力パラメータとし、撮像された焼却灰の含水率を学習用出力パラメータとした入出力データセットを教師データとして、機械学習によって生成された学習モデルである
請求項9に記載の焼却灰処理方法。
発明の詳細な説明
【技術分野】
【0001】
本発明は、焼却灰処理装置および焼却灰処理方法に関する。
続きを表示(約 1,700 文字)
【背景技術】
【0002】
例えば特許文献1には、焼却灰に含まれる重金属類の溶出量が基準値未満になる第一水分率となるように焼却灰に水を含ませる加水手段としての水噴射ノズルと、焼却灰の飛散防止を目的に定められる第二水分率となるように水噴射ノズルによって湿潤状態とされた焼却灰を乾燥する乾燥手段としての吹込管とを備える焼却灰処理装置が開示されている。
【先行技術文献】
【特許文献】
【0003】
特開2021-30121号公報
【発明の概要】
【発明が解決しようとする課題】
【0004】
特許文献1には、加水工程と乾燥工程とによって、灰の含水率を所望の含水率に調整する方法が提案されている。しかしながら、上述した従来技術においては、焼却灰などの灰を貯留する灰ピットなどの焼却灰貯留設備における灰の管理方法については検討されていない。そのため、焼却灰などから溶出する可能性がある鉛(Pb)などの重金属の溶出を抑制する効果を得ることが極めて困難である。
【0005】
すなわち、焼却灰貯留設備に加水した後の焼却灰をそのまま貯留すると、焼却灰の主灰から水分が蒸発することによって主灰が乾燥してしまい、重金属の溶出を抑制することが困難になるという問題がある。そのため、焼却灰処理装置における焼却灰を貯留する焼却灰貯留設備において焼却灰からの重金属の溶出を抑制することが可能な技術が求められていた。
【0006】
本発明は、上記に鑑みてなされたものであって、その目的は、焼却灰を貯留する焼却灰貯留設備において焼却灰からの重金属の溶出を抑制することができる焼却灰処理装置および焼却灰処理方法を提供することにある。
【課題を解決するための手段】
【0007】
上述した課題を解決し、上記目的を達成するために、本発明の一態様に係る焼却灰処理装置は、廃棄物が焼却されて得られた焼却灰を貯留可能に構成された焼却灰貯留手段と、前記焼却灰貯留手段に貯留された前記焼却灰の周辺の雰囲気状態を計測する雰囲気計測手段と、前記焼却灰に対して液体を散布可能に構成された散布手段と、前記雰囲気計測手段によって計測された雰囲気状態に基づいて、前記焼却灰貯留手段に貯留された前記焼却灰の含水率を導出する制御手段と、を備え、前記制御手段は、前記雰囲気計測手段から取得した前記雰囲気状態の計測値に基づいて、前記焼却灰貯留手段に貯留された前記焼却灰の含水率を導出し、前記導出した含水率に基づいて、前記焼却灰に対して加水する加水量を導出し、前記散布手段によって前記導出した加水量の水分を前記焼却灰に加水する。
【0008】
本発明の一態様に係る焼却灰処理装置は、上記の発明において、前記雰囲気状態は、前記焼却灰貯留手段に貯留された前記焼却灰の周辺において、温度を計測可能に構成された温度計測手段によって計測された温度と、湿度を計測可能に構成された湿度計測手段によって計測された湿度との少なくとも一方の計測値である。
【0009】
本発明の一態様に係る焼却灰処理装置は、この構成において、前記湿度は相対湿度であって、前記加水量は、前記相対湿度に対応させてあらかじめ設定された加水量に基づいて導出される。
【0010】
本発明の一態様に係る焼却灰処理装置は、廃棄物が焼却されて得られた焼却灰を貯留可能に構成された焼却灰貯留手段と、前記焼却灰貯留手段に貯留された前記焼却灰を撮像可能に構成された撮像手段と、前記焼却灰に対して液体を散布可能に構成された散布手段と、前記撮像手段によって撮像された前記焼却灰の撮像データに基づいて、前記焼却灰貯留手段に貯留された前記焼却灰の含水率を導出する制御手段と、を備え、前記制御手段は、前記撮像手段から取得した前記撮像データに基づいて、前記焼却灰貯留手段に貯留された前記焼却灰の含水率を導出し、前記導出した含水率に基づいて、前記焼却灰に対して加水する加水量を導出し、前記散布手段によって前記導出した加水量の水分を前記焼却灰に加水する。
(【0011】以降は省略されています)
この特許をJ-PlatPat(特許庁公式サイト)で参照する
関連特許
トヨタ自動車株式会社
空箱処理装置
2か月前
ダイハツ工業株式会社
発酵システム
2か月前
トヨタ自動車株式会社
空箱処理装置
2か月前
花王株式会社
焼却灰の処理方法
1か月前
花王株式会社
焼却灰の処理方法
1か月前
トヨタ自動車株式会社
バイオ炭製造方法
1か月前
テクニカ合同株式会社
廃棄鶏の処理方法
1か月前
株式会社トクヤマ
石膏粒体のか焼方法
1か月前
株式会社シーパーツ
自動車解体破砕方法
14日前
株式会社マクニカ
乾熱減容処理装置
2か月前
清水建設株式会社
汚染拡散防止構造
1か月前
清水建設株式会社
加熱井戸の設置方法
1か月前
学校法人東京農業大学
メタンガスの製造方法
2か月前
鹿島建設株式会社
土壌の浄化方法
2か月前
株式会社LIXIL
汚物処理装置
18日前
国立大学法人東北大学
重金属の不溶化方法
19日前
トヨタ自動車株式会社
乾燥処理装置
2か月前
九電産業株式会社
樹脂複合製品の製造方法
1か月前
王子ホールディングス株式会社
ベールの製造方法
12日前
株式会社トクヤマ
廃石膏ボードから紙片と石膏粒体を回収する方法
1か月前
株式会社神鋼環境ソリューション
メタン発酵装置、及び、メタン発酵方法
11日前
光宇應用材料股ふん有限公司
環境にやさしい低炭素二酸化ケイ素の製造方法
1か月前
個人
フォーミング生成抑制材の製造方法及び廃タイヤのリサイクル処理方法
2か月前
太平洋セメント株式会社
重金属類不溶化材及び固化不溶化処理方法
2か月前
トリニティ工業株式会社
使用済みフィルタ処理装置、使用済みフィルタ処理方法
1か月前
JFEエンジニアリング株式会社
焼却灰処理システム
22日前
株式会社宮原機工
有機物並びに有機廃棄物の炭化装置
19日前
東洋建設株式会社
遮水構造体の施工方法及び圧着機
2か月前
川崎重工業株式会社
焼却灰の骨材化システムおよび骨材化方法
1か月前
川崎重工業株式会社
焼却灰の骨材化システムおよび骨材化方法
1か月前
太平洋セメント株式会社
有価金属含有廃棄物からの金の回収方法
1か月前
UBE三菱セメント株式会社
再生骨材の製造方法、粒子の分別方法及び品質評価方法
1か月前
五洋建設株式会社
廃棄物処分場、廃棄物処分場の覆土材料および覆土材料の製造方法
11日前
太平洋セメント株式会社
カリウム含有肥料製造方法
12日前
株式会社環境保全サービス
ガラスの回収システム及びクラッシャ
14日前
株式会社トクヤマ
ゴミ焼却灰の処理方法
2か月前
続きを見る
他の特許を見る