TOP
|
特許
|
意匠
|
商標
特許ウォッチ
Twitter
他の特許を見る
10個以上の画像は省略されています。
公開番号
2025150539
公報種別
公開特許公報(A)
公開日
2025-10-09
出願番号
2024051459
出願日
2024-03-27
発明の名称
パイロット式圧力調整弁
出願人
株式会社鷺宮製作所
代理人
弁理士法人谷・阿部特許事務所
主分類
F16K
17/04 20060101AFI20251002BHJP(機械要素または単位;機械または装置の効果的機能を生じ維持するための一般的手段)
要約
【課題】複雑な加工を要することなく、感圧部への急激な圧力変動を抑制し、信頼性を向上させる得ることができるパイロット式圧力調整弁を提供することである。
【解決手段】圧力変動緩衝手段を有する主弁部100aと、感圧部251を有するパイロット部200aと、主弁部100aにおける均圧ポート113及び主弁ポート112を、パイロット部200aにおけるパイロット流入ポート211及びパイロット弁ポート231aに各々連通させる流体経路と、を備え、圧力変動緩衝手段は、主弁部100aにおける主弁体140と主弁ガイド孔105bとの間に、周方向延在隙間Gcを形成するとともに、周方向延在隙間Gcのみを介して、主弁室125及び背圧室105cを感圧部収容室216と常時連通させる。これにより、従来の問題点(一次側圧力の圧力変動による感圧部の耐久性低下)を解消することができる。
【選択図】図2
特許請求の範囲
【請求項1】
主弁部であって、主弁室と、前記主弁室と連通する入口ポートと、主弁座を介して、前記主弁室と連通する主弁ポートと、前記主弁座に対して当接または離隔可能な主弁体と、前記主弁体を軸線方向にガイドする主弁ガイド孔と、前記主弁体を挟んで、前記主弁室の反対側に設けられる背圧室と、前記主弁室と前記背圧室とを常時連通させるとともに、前記主弁室から前記背圧室への圧力変動を緩衝させる圧力変動緩衝手段と、前記背圧室と連通する均圧ポートと、を有する主弁部と、
パイロット弁部であって、感圧部と、前記感圧部を収容する感圧部収容室と、前記感圧部収容室に連通するパイロット流入ポートと、前記感圧部収容室とパイロット弁座を介して連通するパイロット弁ポートと、前記感圧部に接続されるとともに、前記感圧部の変位に応じて、前記パイロット弁座に対して当接または離隔可能なパイロット弁体と、を有するパイロット部と、
前記均圧ポートと前記パイロット流入ポートとの間、及び、前記主弁ポートと前記パイロット弁ポートとの間を、それぞれ連通する流体経路と、
を備え、
前記圧力変動緩衝手段は、前記主弁体と前記主弁ガイド孔との間に、周方向延在隙間を形成するとともに、前記周方向延在隙間のみを介して、前記主弁室及び前記背圧室を前記感圧部収容室と常時連通させることであり、
前記感圧部が、前記背圧室を介して、前記入口ポートの圧力に感応することにより、前記入口ポートの圧力が、前記パイロット部の弁開圧力より低い場合には、前記背圧室の圧力及び前記主弁室の圧力が同一となる状態とし、前記パイロット部の弁開圧力より高く、前記主弁部の弁開圧力より低い場合には、前記背圧室と前記主弁室との間に差圧を生じさせる状態とし、前記入口ポートの圧力が、前記主弁部の弁開圧力より高い場合には、前記背圧室と前記主弁室との差圧により、前記主弁体を弁開させる状態とする、パイロット式圧力調整弁。
続きを表示(約 410 文字)
【請求項2】
前記圧力変動緩衝手段は、前記主弁体又は/及び前記主弁ガイド孔に設けられる凹凸部であることを特徴とする請求項1に記載のパイロット式圧力調整弁。
【請求項3】
前記圧力変動緩衝手段は、前記主弁体又は/及び前記主弁ガイド孔に軸線方向に沿って複数設けられる円周溝であることを特徴とする請求項2に記載のパイロット式圧力調整弁。
【請求項4】
前記圧力変動緩衝手段は、前記周方向延在隙間から離隔する位置において、軸線と同心円に形成されるスライド案内面と、前記主弁体との間に設けられ、前記主弁体の軸心が、軸線方向に沿うように付勢する付勢手段であることを特徴とする請求項1に記載のパイロット式圧力調整弁。
【請求項5】
前記圧力変動緩衝手段は、前記背圧室から前記感圧部収容室までに至る流路中に形成される屈曲部であることを特徴とする請求項1に記載のパイロット式圧力調整弁。
発明の詳細な説明
【技術分野】
【0001】
本発明は、感圧部を有するパイロット式圧力調整弁に関する。
続きを表示(約 1,900 文字)
【背景技術】
【0002】
圧力調整弁は、感圧部を有するものがあり、駆動方式によって、主弁体に接続される感圧部の変位により、主弁体が直接駆動される直動式と、パイロット弁体に接続される感圧部の変位により、背圧室の圧力が調整され、この背圧室と一次側圧力との差圧で、主弁体が駆動されるパイロット式に大別することができる。
【0003】
この感圧部を有する圧力調整弁は、煩雑な制御回路などを必要としないため、ソレノイドなどを有する圧力調整弁と比べ、低コストかつ信頼性も高く、大流量の流体回路などへの用途拡大が要望されている。ここで、大流量の流体回路では、主弁体の主弁ポートの口径が必然的に大きくなることにより、主弁体への駆動力を大きくする必要があった。このため、直動式では、感圧部の駆動力に限界がある一方、パイロット式では、主弁体への駆動力、つまり、背圧室と一次側圧力との差圧の大きさを、比較的容易に調整できるため、大流量の流体回路などに広く採用されている。
【0004】
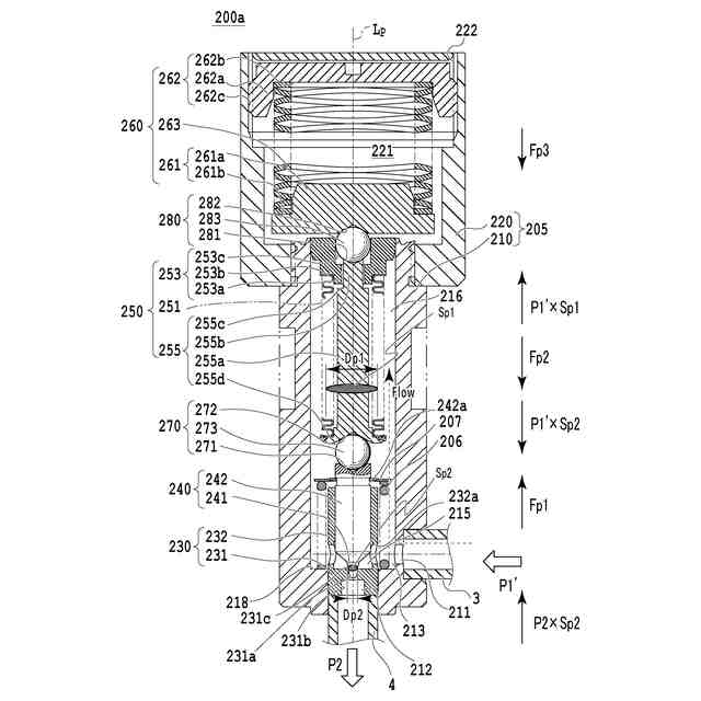
この一例として、例えば、図11に示されるように、特許文献1には、反転板1251を有するパイロット式圧力調整弁1100(以下、「従来のパイロット式圧力調整弁」という)であって、軸線Lに沿って順に、主弁ポート1112、主弁座1105a、主弁室1125、背圧室1105c、感圧部収容室1216を有し、主弁室1125に連通する主弁流入ポート1111、主弁室1125と背圧室1105cとの間を連通する小流量通路1138をさらに有するものが記載されている。また、特許文献1には、主弁室1125と背圧室1105cとの差圧により、主弁座1105aに対して、当接または離隔可能な主弁体1140を備えるものが記載されている。なお、特許文献1における主弁流入ポート1111及び主弁ポート1112には、第1継手管1101及び第2継手管1102を介して、一次側圧力P1及び二次側圧力P2がそれぞれ導入される。
【0005】
さらに、特許文献1には、感圧部収容室1216に収容される反転板1251、パイロット弁座1231cを介して、背圧室1105cと連通するパイロット連通路1226、及び、主弁流入ポート1111と感圧部収容室1216との間を連通する内部連通路1237を有するものが記載されている。加えて、特許文献1には、反転板1251に接続されるとともに、反転板1251におけるスナップアクション式の反転動作に応じて、パイロット弁座1231cに対して当接または離隔可能なパイロット弁体1240を備えるものが記載されている。
【0006】
これにより、従来のパイロット式圧力調整弁1100において、主弁体1140には、弁開方向に、主弁室1125及び主弁ポート1112の流体圧が作用され、弁閉方向に、背圧室1105cの流体圧が作用され、この主弁体1140により、主弁ポート1112の開閉(図11中の白矢印M1102参照)を制御するものである。また、この背圧室1105cの流体圧は、主弁流入ポート1111の流体圧に感応する反転板1251の変位に応答し、パイロット弁体1240が、パイロット連通路1226の開閉(図11中の白矢印M1101参照)を制御するものである。
【0007】
ここで、従来のパイロット式圧力調整弁1100では、反転板1251が収容される感圧部収容室1216が、内部連通路1237を介して、主弁流入ポート1111と常時連通しており、反転板1251には、一次側圧力P1の非定常圧力変動、具体的には、圧力の急激な上昇などによる衝撃圧が、繰り返し負荷されるため、反転板1251の耐久性低下(以下、「従来の問題点(一次側圧力変動による感圧部の耐久性低下)」という)が生じるおそれがあった。
【0008】
なお、従来の問題点(一次側圧力の圧力変動による感圧部の耐久性低下)を解消するために、内部連通路1237を小径化することで、反転板1251への圧力変動を抑制することが考えられるが、微細孔の加工が困難であるのに加え、コスト高などの新たな課題が生じるため、採用することはできない。
【先行技術文献】
【特許文献】
【0009】
特開2002-349732号公報
【発明の概要】
【発明が解決しようとする課題】
【0010】
本発明の目的は、複雑な加工を要することなく、感圧部への急激な圧力変動を抑制し、信頼性を向上させることができるパイロット式圧力調整弁を提供することである。
【課題を解決するための手段】
(【0011】以降は省略されています)
この特許をJ-PlatPat(特許庁公式サイト)で参照する
関連特許
株式会社鷺宮製作所
遮断弁
13日前
株式会社鷺宮製作所
圧力センサ
23日前
株式会社鷺宮製作所
パイロット式圧力調整弁
28日前
株式会社鷺宮製作所
弁装置および弁装置ユニット
8日前
株式会社鷺宮製作所
弁装置および冷凍サイクルシステム
8日前
株式会社鷺宮製作所
ステータコイルユニット及び流量調整弁
21日前
個人
留め具
23日前
個人
鍋虫ねじ
2か月前
個人
紛体用仕切弁
2か月前
個人
回転伝達機構
3か月前
個人
差動歯車用歯形
4か月前
個人
給排気装置
1か月前
個人
ジョイント
1か月前
個人
地震の揺れ回避装置
3か月前
個人
ナット
1か月前
株式会社不二工機
電磁弁
4か月前
個人
ナット
1日前
個人
吐出量監視装置
2か月前
兼工業株式会社
バルブ
2日前
カヤバ株式会社
緩衝器
4か月前
カヤバ株式会社
ダンパ
4か月前
カヤバ株式会社
ダンパ
4か月前
カヤバ株式会社
緩衝器
4か月前
柿沼金属精機株式会社
分岐管
2か月前
カヤバ株式会社
緩衝器
29日前
株式会社ニフコ
クリップ
1か月前
株式会社ノーリツ
分配弁
1か月前
株式会社奥村組
制振機構
1か月前
株式会社三五
ドライブシャフト
15日前
株式会社不二工機
電磁弁
2か月前
株式会社奥村組
制振機構
1か月前
株式会社タカギ
水栓装置
3か月前
株式会社不二工機
電動弁
1か月前
アズビル株式会社
回転弁
1か月前
個人
誘導電流活用式差動制限装置
1か月前
アイホン株式会社
電気機器
1か月前
続きを見る
他の特許を見る