TOP
|
特許
|
意匠
|
商標
特許ウォッチ
Twitter
他の特許を見る
10個以上の画像は省略されています。
公開番号
2025150248
公報種別
公開特許公報(A)
公開日
2025-10-09
出願番号
2024051042
出願日
2024-03-27
発明の名称
弾性体ローラ
出願人
株式会社サトー
代理人
弁理士法人グローバル・アイピー東京
主分類
B65H
5/06 20060101AFI20251002BHJP(運搬;包装;貯蔵;薄板状または線条材料の取扱い)
要約
【課題】導電材料を有するように弾性体ローラを構成しつつ、当該弾性体ローラがプリンタに使用された場合に電気が他の部材に流れ込むことを防止する。
【解決手段】本発明のある態様は、帯状部材を搬送するための弾性体ローラである。この弾性体ローラは、ローラシャフトと、ローラシャフトの外周に取り付けられている非導電性の第1弾性材と、第1弾性材の外周に取り付けられている導電性の第2弾性材と、を備える。
【選択図】図4
特許請求の範囲
【請求項1】
帯状部材を搬送するための弾性体ローラであって、
ローラシャフトと、
前記ローラシャフトの外周に取り付けられている非導電性の第1弾性材と、
前記第1弾性材の外周に取り付けられている導電性の第2弾性材と、
を備えた、弾性体ローラ。
続きを表示(約 730 文字)
【請求項2】
前記弾性体ローラは、サーマルヘッドとの間に前記帯状部材を挟持し、回転により前記帯状部材を搬送する、
請求項1に記載された弾性体ローラ。
【請求項3】
JIS K6252により規定される前記第1弾性材の引裂強さが、前記第2弾性材の引裂強さより大きい、
請求項1に記載された弾性体ローラ。
【請求項4】
前記第2弾性材は、前記第1弾性材の前記ローラシャフトの軸方向の端部の少なくとも一部を覆い、かつ前記ローラシャフトとは非接触となるように形成されている、
請求項1に記載された弾性体ローラ。
【請求項5】
前記第1弾性材は、少なくとも部分的に前記ローラシャフトの軸方向に沿って先細り形状により構成されている、
請求項1に記載された弾性体ローラ。
【請求項6】
前記ローラシャフトの軸方向に直交する面内の前記第1弾性材の直径を、前記ローラシャフトの軸方向における前記第1弾性材の中央部から両端部に向けて漸減させている、
請求項5に記載された弾性体ローラ。
【請求項7】
前記ローラシャフトの軸方向に直交する面内の前記第1弾性材の直径を、前記第1弾性材の第1端部から前記第1端部とは反対側の第2端部に向けて漸減させている、
請求項5に記載された弾性体ローラ。
【請求項8】
前記第2弾性材の表面には、摩耗目視用溝部が設けられ、
前記摩耗目視用溝部は、前記第2弾性材の表面から突出する凸部と、前記凸部に形成された溝と、有する、
請求項1から7のいずれか一項に記載された弾性体ローラ。
発明の詳細な説明
【技術分野】
【0001】
本発明は、弾性体ローラに関する。
続きを表示(約 1,600 文字)
【背景技術】
【0002】
従来から、サーマルプリンタにおいてラベル等の印字媒体を搬送するプラテンローラ等の弾性体ローラが種々提案されている。
例えば特許文献1には、ローラシャフトの外周に設けた内層側弾性材と、内層側弾性材の外周に設けてラベル等の帯状部材に接触する被覆層と、を有する弾性材を備え、被覆層が、C硬度が20度以下のシリコーン樹脂から構成される弾性体ローラが記載されている。
【先行技術文献】
【特許文献】
【0003】
特開2014-097888号公報
【発明の概要】
【発明が解決しようとする課題】
【0004】
ところで、従来のプラテンローラでは、材料として導電性シリコーンゴムを採用する場合、サーマルヘッドから伝わる電流が、ラベルを介してプラテンローラの導電性シリコーンゴムと芯金(例えばステンレス等の金属)を通じて、プリンタのフレーム等に伝わり、そこで電位差が発生し、電解腐食になる場合がある。例えばこの点は、特に商品の製造現場で使用される産業用プリンタなどの比較的大型のプリンタにおいて顕著である。比較的大型のプリンタでは、耐軸荷重および耐久性(走行距離)の観点から、プラテンローラの芯金(例えばステンレス等の金属)を保持する軸受として樹脂製ではなく金属製のものが用いられる。そのため、サーマルヘッドの電流がプラテンローラの導電性シリコーンゴム、プラテンローラの芯金、金属製軸受を通じてプリンタのフレーム等に流れ込む。
【0005】
プラテンローラの材料として非導電性ゴムを採用することで、サーマルヘッドに至る電気の流入を防止できる。しかし、ラベルを搬送させる搬送力が使用期間において低下しない搬送力の持続性等が求められるところ、材料を非導電性ゴムに限定したのでは材料の選択の自由度を阻害することになる。
【0006】
そこで、本発明は、導電材料を有するように弾性体ローラを構成しつつ、当該弾性体ローラがプリンタに使用された場合に電気が他の部材に流れ込むことを防止することを目的とする。
【課題を解決するための手段】
【0007】
本発明のある態様は、帯状部材を搬送するための弾性体ローラであって、
ローラシャフトと、
前記ローラシャフトの外周に取り付けられている非導電性の第1弾性材と、
前記第1弾性材の外周に取り付けられている導電性の第2弾性材と、
を備えた、弾性体ローラである。
【発明の効果】
【0008】
本発明のある態様によれば、導電材料を有するように弾性体ローラを構成しつつ、当該弾性体ローラがプリンタに使用された場合に電気が他の部材に流れ込むことを防止できる。
【図面の簡単な説明】
【0009】
一実施形態のプラテンローラを含むプリンタの内部機構を示す図である。
台紙なしラベルをロール状に巻回した状態の斜視図である。
一実施形態のプラテンローラの斜視図である。
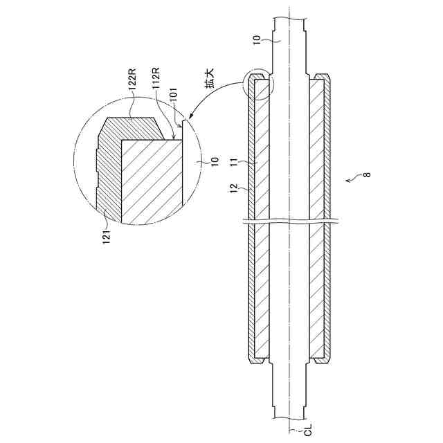
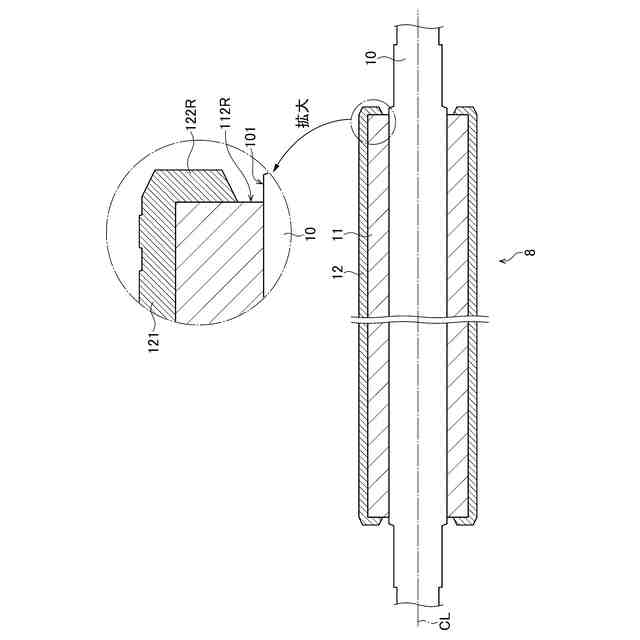
一実施形態のプラテンローラの断面図である。
一実施形態のプラテンローラの外周面の形態を説明する図である。
一実施形態のプラテンローラの外周面に設けられるパターン領域群を示す図である。
図6の各パターン領域に設けられる複数の文字の各々について複数の形態を示す図である。
一実施形態のプラテンローラの摩耗目視用溝部を説明する図である。
一実施形態のプラテンローラについて複数の変形例の断面図である。
【発明を実施するための形態】
【0010】
以下に記載する態様は、図面の簡単な説明により説明される図面に限定されるものではない。
(【0011】以降は省略されています)
この特許をJ-PlatPat(特許庁公式サイト)で参照する
関連特許
株式会社サトー
プリンタ
13日前
株式会社サトー
識別バンド
11日前
株式会社サトー
弾性体ローラ
3日前
株式会社サトー
弾性体ローラ
3日前
株式会社サトー
情報処理システム、情報処理方法
3日前
株式会社サトー
情報処理装置、情報処理方法、および、プログラム
2日前
株式会社サトー
情報処理装置、情報処理方法、および、プログラム
2日前
株式会社サトー
情報処理装置、情報処理システム、情報処理方法及びプログラム
9日前
株式会社サトー
情報処理装置、情報処理システム、情報処理方法、及び、プログラム
3日前
株式会社サトー
導電パターンを備えた基材、電子デバイス、電磁波シールドフィルムおよび面状発熱体
13日前
株式会社サトー
導電パターンを備えた基材、電子デバイス、電磁波シールドフィルムおよび面状発熱体
13日前
株式会社サトー
導電性膜、導電性基材、電子デバイス、RFタグ、電磁波シールドフィルムおよび面状発熱体
13日前
株式会社サトー
導電性基材の製造方法、電子デバイスの製造方法、電磁波シールドフィルムの製造方法、および面状発熱体の製造方法
13日前
株式会社サトー
導電性基材の製造方法、電子デバイスの製造方法、電磁波シールドフィルムの製造方法、および面状発熱体の製造方法
13日前
株式会社サトー
導電性基材の製造方法、電子デバイスの製造方法、および電磁波シールドフィルムの製造方法、面状発熱体の製造方法
13日前
株式会社サトー
導電性基材の製造方法、電子デバイスの製造方法、および電磁波シールドフィルムの製造方法、面状発熱体の製造方法
13日前
株式会社サトー
導電パターンを備えた基材の製造方法、電子デバイスの製造方法、電磁波シールドフィルムの製造方法、面状発熱体の製造方法および導電パターンを備えた基材
13日前
株式会社サトー
導電パターンを備えた基材の製造方法、電子デバイスの製造方法、電磁波シールドフィルムの製造方法、面状発熱体の製造方法および導電パターンを備えた基材
13日前
株式会社サトー
導電パターンを備えた基材の製造方法、電子デバイスの製造方法、電磁波シールドフィルムの製造方法、面状発熱体の製造方法および導電パターンを備えた基材の製造用の物品
13日前
株式会社サトー
導電パターンを備えた基材の製造方法、電子デバイスの製造方法、電磁波シールドフィルムの製造方法、面状発熱体の製造方法、導電パターンを備えた基材の製造のための中間構造体および導電パターンを備えた基材
13日前
個人
箱
12か月前
個人
収容箱
2か月前
個人
ゴミ箱
11か月前
個人
コンベア
4か月前
個人
容器
8か月前
個人
段ボール箱
6か月前
個人
段ボール箱
6か月前
個人
ゴミ収集器
6か月前
個人
宅配システム
6か月前
個人
角筒状構造体
5か月前
個人
パウチ補助具
11か月前
個人
土嚢運搬器具
8か月前
個人
バンド
1か月前
個人
楽ちんハンド
4か月前
個人
コード類収納具
7か月前
個人
包装容器
23日前
続きを見る
他の特許を見る