TOP
|
特許
|
意匠
|
商標
特許ウォッチ
Twitter
他の特許を見る
10個以上の画像は省略されています。
公開番号
2025141161
公報種別
公開特許公報(A)
公開日
2025-09-29
出願番号
2024040966
出願日
2024-03-15
発明の名称
導電性基材の製造方法、電子デバイスの製造方法、電磁波シールドフィルムの製造方法、および面状発熱体の製造方法
出願人
株式会社サトー
代理人
個人
主分類
H05K
3/20 20060101AFI20250919BHJP(他に分類されない電気技術)
要約
【課題】導電性基材や電子デバイスの製造方法において、基材の選択自由度を高める。
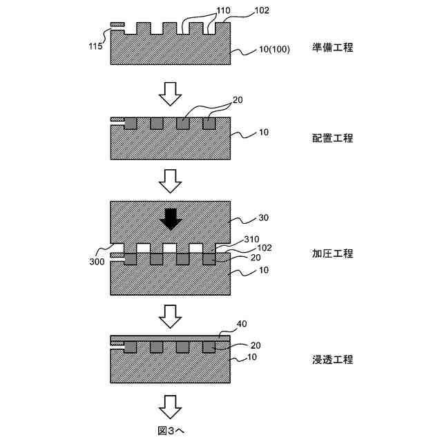
【解決手段】導電性基材の製造方法は、配置工程S10、シンタリング工程S20、および転写工程S30を含む。配置工程S10では、ベースの少なくとも一部を覆うように導電性粒子を含む導電性材料を配置する。シンタリング工程S20では、配置された導電性材料をシンタリングさせて導電パターンを得る。転写工程S30では、ベースから、基材に導電パターンを転写する。
【選択図】図1
特許請求の範囲
【請求項1】
ベースの少なくとも一部を覆うように導電性粒子を含む導電性材料を配置する工程と、
前記配置された前記導電性材料をシンタリングさせて導電パターンを得る工程と、
前記ベースから、基材に前記導電パターンを転写する工程とを含む
導電性基材の製造方法。
続きを表示(約 1,100 文字)
【請求項2】
請求項1に記載の導電性基材の製造方法において、
前記転写する工程では、前記基材に前記導電パターンを、接着層または粘着層を介して転写する
導電性基材の製造方法。
【請求項3】
請求項1または2に記載の導電性基材の製造方法において、
前記基材は、ポリエステル、ポリオレフィン、ポリカーボネート、および紙からなる群より選択される少なくともいずれかである
導電性基材の製造方法。
【請求項4】
請求項1または2に記載の導電性基材の製造方法において、
前記導電性材料は、粉末または液状である
導電性基材の製造方法。
【請求項5】
請求項4に記載の導電性基材の製造方法において、
前記導電性材料は液状であり、溶剤を含み、
当該導電性基材の製造方法は、前記溶剤を揮発させる工程をさらに含む
導電性基材の製造方法。
【請求項6】
請求項1または2に記載の導電性基材の製造方法において、
前記導電パターンを得る工程では、前記配置された前記導電性材料に対して、加圧および加熱の少なくとも一方を行うことで前記導電性材料をシンタリングさせる
導電性基材の製造方法。
【請求項7】
請求項6に記載の導電性基材の製造方法において、
前記導電パターンを得る工程では、前記配置された前記導電性材料に対して、少なくともヒーターを用いた加熱を行うことで前記導電性材料をシンタリングさせる
導電性基材の製造方法。
【請求項8】
請求項1または2に記載の導電性基材の製造方法において、
前記配置する工程と、前記導電パターンを得る工程との間に、前記配置された前記導電性材料に、前記導電性粒子の表面に存在する酸化膜を除去することが可能な成分を、浸透させる工程をさらに含む
導電性基材の製造方法。
【請求項9】
請求項8に記載の導電性基材の製造方法において、
前記配置する工程と、前記浸透させる工程との間に、前記配置された前記導電性材料を加圧する工程をさらに含む
導電性基材の製造方法。
【請求項10】
請求項9に記載の導電性基材の製造方法において、
前記導電パターンを得る工程では、前記加圧する工程で前記配置された前記導電性材料を加圧した圧力よりも高い圧力で、前記配置された前記導電性材料を少なくとも加圧することで前記導電性材料をシンタリングさせる
導電性基材の製造方法。
(【請求項11】以降は省略されています)
発明の詳細な説明
【技術分野】
【0001】
本発明は導電性基材の製造方法、電子デバイスの製造方法、電磁波シールドフィルムの製造方法、および面状発熱体の製造方法に関する。
続きを表示(約 2,600 文字)
【背景技術】
【0002】
金属粉末等の導電性材料に対して加熱や加圧をすることで、配線等の導電パターンを形成する方法がある。
【0003】
特許文献1には、基板内の溝を導電粉末で充填し、加圧および加熱することで、基板上に導電路を設けることが記載されている。
【0004】
特許文献2には、半導体基板等に形成されたコンタクト穴などの凹部を金属微粒粉末で埋め、ホットプレス法により金属微粒粉末を焼結する金属配線層の形成方法が記載されている。
【先行技術文献】
【特許文献】
【0005】
特表昭60-502233号公報
特開昭62-069516号公報
【発明の概要】
【発明が解決しようとする課題】
【0006】
しかし、特許文献1および特許文献2の方法では、基板上で加圧や加熱を行うことから、加圧や加熱に耐えうる基板を用いる必要があった。
【0007】
本発明は、導電性基材や電子デバイスの製造方法において、基材の選択自由度を高めることを目的の一つとする。
【課題を解決するための手段】
【0008】
本発明の一形態によれば、以下の導電性基材の製造方法、電子デバイスの製造方法、電磁波シールドフィルムの製造方法、および面状発熱体の製造方法が提供される。
【0009】
1. ベースの少なくとも一部を覆うように導電性粒子を含む導電性材料を配置する工程と、
前記配置された前記導電性材料をシンタリングさせて導電パターンを得る工程と、
前記ベースから、基材に前記導電パターンを転写する工程とを含む
導電性基材の製造方法。
2. 1.に記載の導電性基材の製造方法において、
前記転写する工程では、前記基材に前記導電パターンを、接着層または粘着層を介して転写する
導電性基材の製造方法。
3. 1.または2.に記載の導電性基材の製造方法において、
前記基材は、ポリエステル、ポリオレフィン、ポリカーボネートおよび紙からなる群より選択される少なくともいずれかである
導電性基材の製造方法。
4. 1.から3.のいずれか一つに記載の導電性基材の製造方法において、
前記導電性材料は、粉末または液状である
導電性基材の製造方法。
5. 4.に記載の導電性基材の製造方法において、
前記導電性材料は液状であり、溶剤を含み、
当該導電性基材の製造方法は、前記溶剤を揮発させる工程をさらに含む
導電性基材の製造方法。
6. 1.から5.のいずれか一つに記載の導電性基材の製造方法において、
前記導電パターンを得る工程では、前記配置された前記導電性材料に対して、加圧および加熱の少なくとも一方を行うことで前記導電性材料をシンタリングさせる
導電性基材の製造方法。
7. 6.に記載の導電性基材の製造方法において、
前記導電パターンを得る工程では、前記配置された前記導電性材料に対して、少なくともヒーターを用いた加熱を行うことで前記導電性材料をシンタリングさせる
導電性基材の製造方法。
8. 1.から7.のいずれか一つに記載の導電性基材の製造方法において、
前記配置する工程と、前記導電パターンを得る工程との間に、前記配置された前記導電性材料に、前記導電性粒子の表面に存在する酸化膜を除去することが可能な成分を、浸透させる工程をさらに含む
導電性基材の製造方法。
9. 8.に記載の導電性基材の製造方法において、
前記配置する工程と、前記浸透させる工程との間に、前記配置された前記導電性材料を加圧する工程をさらに含む
導電性基材の製造方法。
10. 9.に記載の導電性基材の製造方法において、
前記導電パターンを得る工程では、前記加圧する工程で前記配置された前記導電性材料を加圧した圧力よりも高い圧力で、前記配置された前記導電性材料を少なくとも加圧することで前記導電性材料をシンタリングさせる
導電性基材の製造方法。
11. 1.から10.のいずれか一つに記載の導電性基材の製造方法において、
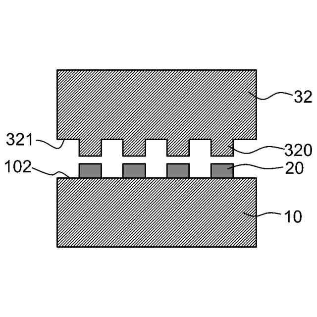
前記ベースには凹部が設けられており、
前記配置する工程では、前記凹部に前記導電性材料を充填する
導電性基材の製造方法。
12. 11.に記載の導電性基材の製造方法において、
前記ベースにおいて、前記凹部の側面を構成する部材と前記凹部の底を構成する部材とは一体である
導電性基材の製造方法。
13. 11.に記載の導電性基材の製造方法において、
前記ベースは、貫通孔を有する第1部材と、前記第1部材とは異なる第2部材とを含んで構成され、
前記凹部の内面は、前記貫通孔の内面の少なくとも一部、および前記第2部材の表面の少なくとも一部により構成される
導電性基材の製造方法。
14. 1.から13.のいずれか一つに記載の導電性基材の製造方法により得られた、導電性基材を用いて、電子デバイスを製造する、電子デバイスの製造方法。
15. 14.に記載の電子デバイスの製造方法であって、
前記電子デバイスが、RFタグである、電子デバイスの製造方法。
16. 1.から13.のいずれか一つに記載の導電性基材の製造方法により得られた、導電性基材を用いて、電磁波シールドフィルムを製造する、電磁波シールドフィルムの製造方法。
17. 1.から13.のいずれか一つに記載の導電性基材の製造方法により得られた、導電性基材を用いて、面状発熱体を製造する、面状発熱体の製造方法。
【発明の効果】
【0010】
本発明によれば、導電性基材や電子デバイスの製造方法において、基材の選択自由度を高めることができる。
【図面の簡単な説明】
(【0011】以降は省略されています)
この特許をJ-PlatPat(特許庁公式サイト)で参照する
関連特許
株式会社サトー
プリンタ
3日前
株式会社サトー
識別バンド
1日前
株式会社サトー
衝撃センサ
22日前
株式会社サトー
衝撃センサ
22日前
株式会社サトー
衝撃センサ
22日前
株式会社サトー
プリンタ、方法
6日前
株式会社サトー
プリンタ、プリンタの制御方法、プログラム
6日前
株式会社サトー
情報処理システム、情報処理方法、プログラム
21日前
株式会社サトー
情報処理システム、情報処理方法、プログラム
13日前
株式会社サトー
情報処理システム、情報処理方法、プログラム
13日前
株式会社サトー
情報処理システム、プログラム、情報処理方法
6日前
株式会社サトー
プリンタ、プログラム、プリンタの情報処理方法
6日前
株式会社サトー
プリンタ、プリンタの情報処理方法、プログラム
6日前
株式会社サトー
プリンタ
1か月前
株式会社サトー
プリンタ
1か月前
株式会社サトー
プリンタ、プリンタの情報処理方法、プログラム、情報処理システム
6日前
株式会社サトー
導電パターンを備えた基材、電子デバイス、電磁波シールドフィルムおよび面状発熱体
3日前
株式会社サトー
導電パターンを備えた基材、電子デバイス、電磁波シールドフィルムおよび面状発熱体
3日前
株式会社サトー
導電性膜、導電性基材、電子デバイス、RFタグ、電磁波シールドフィルムおよび面状発熱体
3日前
株式会社サトー
スクリーンメッシュ、スクリーンマスク、導電パターンの製造方法、および導電性基材の製造方法
1か月前
株式会社サトー
スクリーンメッシュ、スクリーンマスク、導電パターンの製造方法、および導電性基材の製造方法
1か月前
株式会社サトー
導電性基材の製造方法、電子デバイスの製造方法、電磁波シールドフィルムの製造方法、および面状発熱体の製造方法
3日前
株式会社サトー
導電性基材の製造方法、電子デバイスの製造方法、および電磁波シールドフィルムの製造方法、面状発熱体の製造方法
3日前
株式会社サトー
導電性基材の製造方法、電子デバイスの製造方法、および電磁波シールドフィルムの製造方法、面状発熱体の製造方法
3日前
株式会社サトー
導電性基材の製造方法、電子デバイスの製造方法、電磁波シールドフィルムの製造方法、および面状発熱体の製造方法
3日前
株式会社サトー
導電パターンを備えた基材の製造方法、電子デバイスの製造方法、電磁波シールドフィルムの製造方法、面状発熱体の製造方法および導電パターンを備えた基材
3日前
株式会社サトー
導電パターンを備えた基材の製造方法、電子デバイスの製造方法、電磁波シールドフィルムの製造方法、面状発熱体の製造方法および導電パターンを備えた基材
3日前
株式会社サトー
導電パターンを備えた基材の製造方法、電子デバイスの製造方法、電磁波シールドフィルムの製造方法、面状発熱体の製造方法および導電パターンを備えた基材の製造用の物品
3日前
株式会社サトー
導電パターンを備えた基材の製造方法、電子デバイスの製造方法、電磁波シールドフィルムの製造方法、面状発熱体の製造方法、導電パターンを備えた基材の製造のための中間構造体および導電パターンを備えた基材
3日前
個人
電子部品の実装方法
1日前
株式会社コロナ
電気機器
2か月前
株式会社遠藤照明
照明装置
3か月前
日本精機株式会社
回路基板
23日前
個人
非衝突型ガウス加速器
1か月前
日本放送協会
基板固定装置
21日前
キヤノン株式会社
電子機器
15日前
続きを見る
他の特許を見る