TOP
|
特許
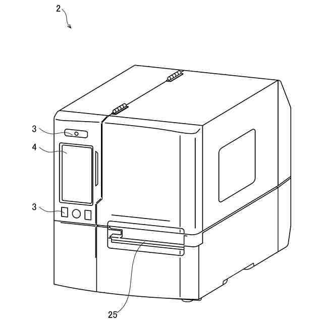
|
意匠
|
商標
特許ウォッチ
Twitter
他の特許を見る
10個以上の画像は省略されています。
公開番号
2025139199
公報種別
公開特許公報(A)
公開日
2025-09-26
出願番号
2024038009
出願日
2024-03-12
発明の名称
プリンタ、プリンタの情報処理方法、プログラム
出願人
株式会社サトー
代理人
弁理士法人グローバル・アイピー東京
主分類
B41J
21/00 20060101AFI20250918BHJP(印刷;線画機;タイプライター;スタンプ)
要約
【課題】プレビュー画像をプリンタに表示させることを可能とする。
【解決手段】本発明のある一態様に係るプリンタは、表示部と、印字データを含み、発行処理を要求するジョブを受信する受信部と、ジョブに含まれる印字データを基に印字媒体に情報を印字する印字部と、ジョブに含まれる印字データを基にプレビュー画像を生成し、表示部に表示させる制御部と、を備える。
【選択図】図7
特許請求の範囲
【請求項1】
表示部と、
印字データを含み、発行処理を要求するジョブを受信する受信部と、
前記ジョブに含まれる印字データを基に印字媒体に情報を印字する印字部と、
前記ジョブに含まれる印字データを基にプレビュー画像を生成し、前記表示部に表示させる制御部と、
を備えた、プリンタ。
続きを表示(約 1,400 文字)
【請求項2】
前記印字媒体は、物品に貼付されるラベルであり、
前記表示部は、前記プレビュー画像として、前記印字データを基に1枚のラベルに印字される情報の全体のイメージを表示する、
請求項1に記載されたプリンタ。
【請求項3】
印字データを基に印字を行う前に、前記印字データを基にプレビュー画像を前記表示部に表示させるか否かを設定する設定部を備え、
前記制御部は、前記設定部によって前記プレビュー画像を前記表示部に表示させることが設定されている場合は、前記ジョブの発行処理が開始される前に、前記プレビュー画像とともに印字を指示する操作対象を表示し、前記操作対象に対する操作に応じて印字を行うように前記印字部を制御する、
請求項1又は2に記載されたプリンタ。
【請求項4】
前記制御部は、前記受信部によって受信されたジョブのうち発行処理が完了していない1以上の未処理ジョブを含む第1ジョブリストを、各未処理ジョブが選択操作可能な状態で前記表示部に表示させるとともに、ユーザの操作に応じて、前記第1ジョブリストから選択された未処理ジョブに対応するプレビュー画像を生成し、前記表示部に表示させる、
請求項1に記載されたプリンタ。
【請求項5】
前記制御部は、前記受信部によって受信されたジョブのうち発行処理が完了した1以上の処理済ジョブを含む第2ジョブリストを、各処理済ジョブが選択操作可能な状態で前記表示部に表示させるとともに、ユーザの操作に応じて、前記第2ジョブリストから選択された処理済ジョブに対応するプレビュー画像を生成し、前記表示部に表示させる、
請求項1に記載されたプリンタ。
【請求項6】
前記制御部は、前記プレビュー画像とともに印字を指示する操作対象を表示し、前記操作対象に対する操作が行われた場合に、前記選択された処理済ジョブに対応する印字を行うように前記印字部を制御する、
請求項5に記載されたプリンタ。
【請求項7】
前記制御部は、前記操作対象に対する操作が行われた時点で前記印字部が印字を実行中である場合には、実行中の印字を一時的に停止させ、前記選択された処理済ジョブに対応する印字を行うように前記印字部を制御する、
請求項6に記載されたプリンタ。
【請求項8】
外部の情報処理装置からジョブを受信可能な状態であるオンライン状態を含む複数の状態のいずれかの状態に設定する状態設定部を備え、
前記制御部は、前記複数の状態のうち前記オンライン状態以外の状態に設定されている場合に、前記第1ジョブリスト、又は、前記第2ジョブリストを表示可能とする、
請求項4又は5に記載されたプリンタ。
【請求項9】
前記制御部は、印字媒体に印字した場合の印字可能領域が視認可能な状態で、前記プレビュー画像を前記表示部に表示させる、
請求項1又は2に記載されたプリンタ。
【請求項10】
表示部を備えたプリンタの情報処理方法であって、
印字データを含み、発行処理を要求するジョブを受信するステップと、
前記ジョブに含まれる印字データを基にプレビュー画像を生成するステップと、
前記プレビュー画像を前記表示部に表示させるステップと、
を含む、プリンタの情報処理方法。
(【請求項11】以降は省略されています)
発明の詳細な説明
【技術分野】
【0001】
本発明は、プリンタにおける情報処理に関する。
続きを表示(約 1,400 文字)
【背景技術】
【0002】
従来、プリンタによって印字される情報を含む画像を印字前にプレビュー画像として画面に表示させるようにしたプレビュー機能が知られている。
例えば特許文献1には、プリンタに接続された情報処理装置を備え、情報処理装置に表示される所定のボタンを操作することで、印字内容に合致するラベルのプレビュー画像を情報処理装置に表示させるようにしたシステムが記載されている。
【先行技術文献】
【特許文献】
【0003】
特開2020-157521号
【発明の概要】
【発明が解決しようとする課題】
【0004】
しかし、上記特許文献1に記載されたシステムでは、プレビュー画像を表示させるためにユーザはプリンタを情報処理装置に接続させなければならないため、不便である。
【0005】
そこで、本発明は、プレビュー画像をプリンタに表示させることを可能とすることを目的とする。
【課題を解決するための手段】
【0006】
本発明のある態様は、表示部と、
印字データを含み、発行処理を要求するジョブを受信する受信部と、
前記ジョブに含まれる印字データを基に印字媒体に情報を印字する印字部と、
前記ジョブに含まれる印字データを基にプレビュー画像を生成し、前記表示部に表示させる制御部と、を備えたプリンタである。
【発明の効果】
【0007】
本発明のある態様によれば、プレビュー画像をプリンタに表示させることができる。
【図面の簡単な説明】
【0008】
例示的なプリンタの外観を示す斜視図である。
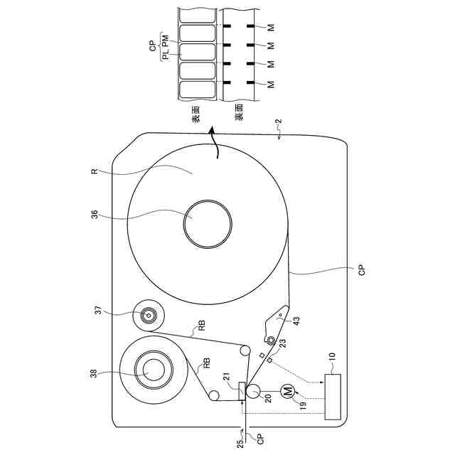
図1に示すプリンタについて内部が見える状態としたときの概略的な側面図である。
一実施形態のプリンタの構成を示すブロック図である。
ジョブデータセットおよびジョブ履歴データセットのデータ構成例を示す図である。
一実施形態のプリンタの画面遷移の例を示す図である。
一実施形態のプリンタの画面遷移の例を示す図である。
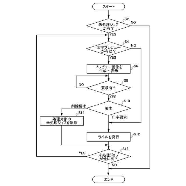
一実施形態のプリンタの処理を示すフローチャートである。
一実施形態のプリンタの画面遷移の例を示す図である。
一実施形態のプリンタの処理を示すフローチャートである。
一実施形態のプリンタの画面遷移の例を示す図である。
一実施形態のプリンタの処理を示すフローチャートである。
一実施形態のプリンタの画面遷移の例を示す図である。
一実施形態のプリンタの処理を示すフローチャートである。
一実施形態のプリンタのプレビュー画像の表示例を示す図である。
【発明を実施するための形態】
【0009】
以下に記載する形態は、図面の簡単な説明により説明される図面に限定されるものではない。
【0010】
本発明のある態様の第1の態様は、表示部と、
印字データを含み、発行処理を要求するジョブを受信する受信部と、
前記ジョブに含まれる印字データを基に印字媒体に情報を印字する印字部と、
前記ジョブに含まれる印字データを基にプレビュー画像を生成し、前記表示部に表示させる制御部と、を備えたプリンタである。
(【0011】以降は省略されています)
この特許をJ-PlatPat(特許庁公式サイト)で参照する
関連特許
株式会社サトー
プリンタ
11日前
株式会社サトー
衝撃センサ
1か月前
株式会社サトー
衝撃センサ
1か月前
株式会社サトー
識別バンド
9日前
株式会社サトー
衝撃センサ
1か月前
株式会社サトー
弾性体ローラ
1日前
株式会社サトー
弾性体ローラ
1日前
株式会社サトー
プリンタ、方法
14日前
株式会社サトー
情報処理システム、情報処理方法
1日前
株式会社サトー
プリンタ、プリンタの制御方法、プログラム
14日前
株式会社サトー
情報処理システム、プログラム、情報処理方法
14日前
株式会社サトー
情報処理システム、情報処理方法、プログラム
21日前
株式会社サトー
情報処理システム、情報処理方法、プログラム
21日前
株式会社サトー
情報処理システム、情報処理方法、プログラム
29日前
株式会社サトー
プリンタ、プリンタの情報処理方法、プログラム
14日前
株式会社サトー
プリンタ、プログラム、プリンタの情報処理方法
14日前
株式会社サトー
情報処理装置、情報処理方法、および、プログラム
今日
株式会社サトー
情報処理装置、情報処理方法、および、プログラム
今日
株式会社サトー
プリンタ
1か月前
株式会社サトー
プリンタ
1か月前
株式会社サトー
情報処理装置、情報処理システム、情報処理方法及びプログラム
7日前
株式会社サトー
プリンタ、プリンタの情報処理方法、プログラム、情報処理システム
14日前
株式会社サトー
情報処理装置、情報処理システム、情報処理方法、及び、プログラム
1日前
株式会社サトー
導電パターンを備えた基材、電子デバイス、電磁波シールドフィルムおよび面状発熱体
11日前
株式会社サトー
導電パターンを備えた基材、電子デバイス、電磁波シールドフィルムおよび面状発熱体
11日前
株式会社サトー
導電性膜、導電性基材、電子デバイス、RFタグ、電磁波シールドフィルムおよび面状発熱体
11日前
株式会社サトー
RFIDラベル及びRFIDラベルの使用方法
1か月前
株式会社サトー
スクリーンメッシュ、スクリーンマスク、導電パターンの製造方法、および導電性基材の製造方法
1か月前
株式会社サトー
スクリーンメッシュ、スクリーンマスク、導電パターンの製造方法、および導電性基材の製造方法
1か月前
株式会社サトー
導電性基材の製造方法、電子デバイスの製造方法、および電磁波シールドフィルムの製造方法、面状発熱体の製造方法
11日前
株式会社サトー
導電性基材の製造方法、電子デバイスの製造方法、電磁波シールドフィルムの製造方法、および面状発熱体の製造方法
11日前
株式会社サトー
導電性基材の製造方法、電子デバイスの製造方法、電磁波シールドフィルムの製造方法、および面状発熱体の製造方法
11日前
株式会社サトー
導電性基材の製造方法、電子デバイスの製造方法、および電磁波シールドフィルムの製造方法、面状発熱体の製造方法
11日前
株式会社サトー
導電パターンを備えた基材の製造方法、電子デバイスの製造方法、電磁波シールドフィルムの製造方法、面状発熱体の製造方法および導電パターンを備えた基材
11日前
株式会社サトー
導電パターンを備えた基材の製造方法、電子デバイスの製造方法、電磁波シールドフィルムの製造方法、面状発熱体の製造方法および導電パターンを備えた基材
11日前
株式会社サトー
導電パターンを備えた基材の製造方法、電子デバイスの製造方法、電磁波シールドフィルムの製造方法、面状発熱体の製造方法および導電パターンを備えた基材の製造用の物品
11日前
続きを見る
他の特許を見る