TOP
|
特許
|
意匠
|
商標
特許ウォッチ
Twitter
他の特許を見る
10個以上の画像は省略されています。
公開番号
2025150250
公報種別
公開特許公報(A)
公開日
2025-10-09
出願番号
2024051044
出願日
2024-03-27
発明の名称
弾性体ローラ
出願人
株式会社サトー
代理人
弁理士法人グローバル・アイピー東京
主分類
B65H
5/06 20060101AFI20251002BHJP(運搬;包装;貯蔵;薄板状または線条材料の取扱い)
要約
【課題】台紙なしラベルに対応した弾性体ローラにおいて、非粘着性の持続性を向上させる。
【解決手段】本発明のある態様は、粘着面を有する帯状部材の前記粘着面を接触させながら前記帯状部材を移送するための弾性体ローラであって、ローラシャフトと、ローラシャフトの外周に取り付けられている第1弾性材と、第1弾性材の外周に取り付けられている第2弾性材と、を備える。第2弾性材の表面には、凹領域と凸領域を有する凹凸構造が設けられる。凹凸構造は、それぞれ所定の形状パターンを有する複数のパターン領域をローラシャフトの周方向および軸方向に互いに隣接するように配置された構成である。
【選択図】図3
特許請求の範囲
【請求項1】
粘着面を有する帯状部材の前記粘着面を接触させながら前記帯状部材を移送するための弾性体ローラであって、
ローラシャフトと、
前記ローラシャフトの外周に取り付けられている第1弾性材と、
前記第1弾性材の外周に取り付けられている第2弾性材と、
を備え、
前記第2弾性材の表面には、凹領域と凸領域を有する凹凸構造が設けられ、
前記凹凸構造は、それぞれ所定の形状パターンを有する複数のパターン領域を前記ローラシャフトの周方向および軸方向に互いに隣接するように配置された構成である、
弾性体ローラ。
続きを表示(約 910 文字)
【請求項2】
前記凹凸構造は、それぞれ異なる形状パターンを有する所定数のパターン領域からなる一群が、前記ローラシャフトの周方向および軸方向に繰り返された構成であり、
前記一群において前記所定数のパターン領域は、一方向に沿って設けられている、
請求項1に記載された弾性体ローラ。
【請求項3】
前記第2弾性材の表面のうち前記凹領域が占める比率が45~75%の範囲内であり、前記凸領域が占める比率が25~55%の範囲内である、
請求項1又は2に記載された弾性体ローラ。
【請求項4】
前記一方向は、前記ローラシャフトの軸方向に対して傾斜している方向である、
請求項2に記載された弾性体ローラ。
【請求項5】
前記所定数のパターン領域の各々は、種類がそれぞれ異なる所定数の文字、図形、又は記号に対応した所定数の要素形状を有し、
前記所定数の要素形状の各々は、同一種類であって形態が異なる複数の文字形態、図形形態、又は記号形態の中から選択された形態をなしている、
請求項2に記載された弾性体ローラ。
【請求項6】
前記凸領域における前記要素形状は、尖鋭部分がないように構成されている、
請求項5に記載された弾性体ローラ。
【請求項7】
前記凹領域および前記凸領域の算術平均高さSaが0.5μm~5μmの範囲内である、
請求項1又は2に記載された弾性体ローラ。
【請求項8】
前記第1弾性材は非導電性であり、前記第2弾性材は導電性である、
請求項1から7のいずれか一項に記載された弾性体ローラ。
【請求項9】
前記第2弾性材は、前記第1弾性材の前記ローラシャフトの軸方向の端部の少なくとも一部を覆うように形成されている、
請求項1又は2に記載された弾性体ローラ。
【請求項10】
前記第2弾性材は、前記ローラシャフトとは非接触である
請求項9に記載された弾性体ローラ。
(【請求項11】以降は省略されています)
発明の詳細な説明
【技術分野】
【0001】
本発明は、弾性体ローラに関する。
続きを表示(約 1,500 文字)
【背景技術】
【0002】
ラベルプリンタとして台紙なしラベルを使用するプリンタが知られている。台紙上に剥離可能にラベルの裏面の粘着剤層が仮着された台紙有りラベルと異なり、台紙なしラベルは台紙を用いないので、省資源に寄与する。プリンタにおいて台紙なしラベルを搬送する場合、ラベルの粘着剤層がプラテンローラの表面に接触した状態で搬送することになるため、ジャムが生じないような非粘着性と、ラベルを搬送させる搬送力が使用期間において低下しない搬送力の持続性と、が求められる。
【0003】
かかる観点から、台紙なしラベルに対応してラベル等の印字媒体を搬送するプラテンローラ等の弾性体ローラが種々提案されている。例えば特許文献1には、ローラシャフトの外周に設けた内層側弾性材と、内層側弾性材の外周に設けてラベル等の帯状部材に接触する被覆層と、を有する弾性材を備え、被覆層が、C硬度が20度以下のシリコーン樹脂から構成される弾性体ローラが記載されている。
【先行技術文献】
【特許文献】
【0004】
特開2014-097888号公報
【発明の概要】
【発明が解決しようとする課題】
【0005】
従来の台紙なしラベルに対応した弾性体ローラは、時間の経過とともに非粘着性が低下し、非粘着性の持続性に課題がある。
【0006】
そこで、本発明は、台紙なしラベルに対応した弾性体ローラにおいて、非粘着性の持続性を向上させることを目的とする。
【課題を解決するための手段】
【0007】
本発明のある態様は、粘着面を有する帯状部材の前記粘着面を接触させながら前記帯状部材を移送するための弾性体ローラであって、
ローラシャフトと、
前記ローラシャフトの外周に取り付けられている第1弾性材と、
前記第1弾性材の外周に取り付けられている第2弾性材と、
を備え、
前記第2弾性材の表面には、凹領域と凸領域を有する凹凸構造が設けられ、
前記凹凸構造は、それぞれ所定の形状パターンを有する複数のパターン領域を前記ローラシャフトの周方向および軸方向に互いに隣接するように配置された構成である、
弾性体ローラである。
【発明の効果】
【0008】
本発明のある態様によれば、台紙なしラベルに対応した弾性体ローラにおいて、非粘着性の持続性が向上する。
【図面の簡単な説明】
【0009】
一実施形態のプラテンローラを含むプリンタの内部機構を示す図である。
台紙なしラベルをロール状に巻回した状態の斜視図である。
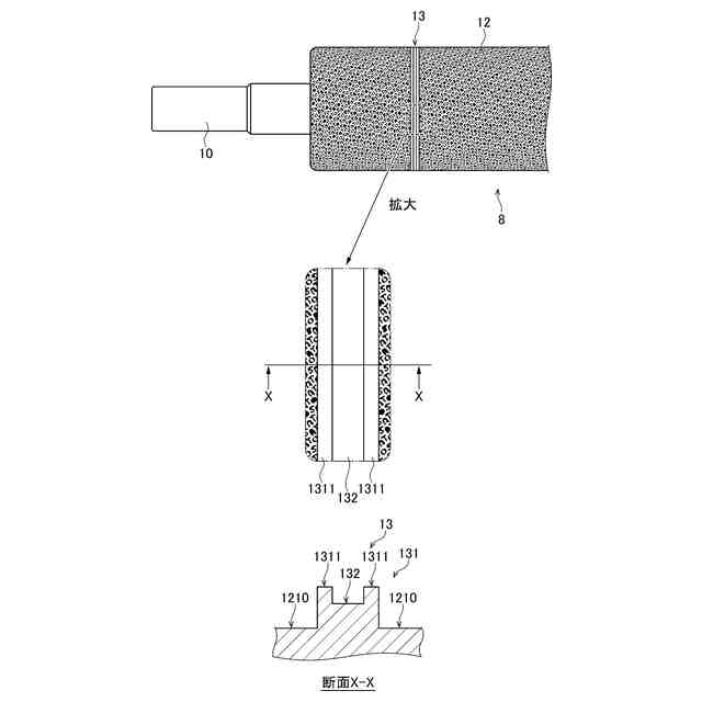
一実施形態のプラテンローラの斜視図である。
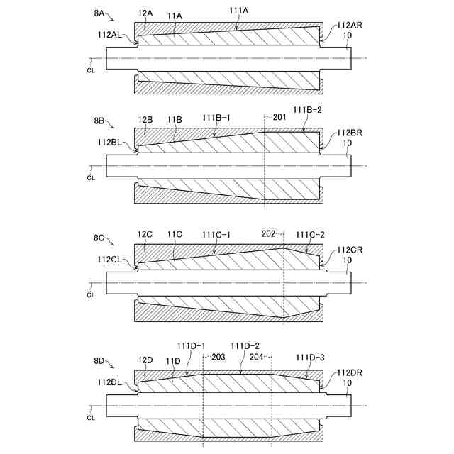
一実施形態のプラテンローラの断面図である。
一実施形態のプラテンローラの表面の形態を説明する図である。
一実施形態のプラテンローラの表面に設けられるパターン領域群を示す図である。
図6の各パターン領域に設けられる複数の文字の各々について複数の形態を示す図である。
一実施形態のプラテンローラの摩耗目視用溝部を説明する図である。
一実施形態のプラテンローラについて複数の変形例の断面図である。
【発明を実施するための形態】
【0010】
以下に記載する態様は、図面の簡単な説明により説明される図面に限定されるものではない。
(【0011】以降は省略されています)
この特許をJ-PlatPat(特許庁公式サイト)で参照する
関連特許
株式会社サトー
プリンタ
12日前
株式会社サトー
衝撃センサ
1か月前
株式会社サトー
衝撃センサ
1か月前
株式会社サトー
識別バンド
10日前
株式会社サトー
衝撃センサ
1か月前
株式会社サトー
弾性体ローラ
2日前
株式会社サトー
弾性体ローラ
2日前
株式会社サトー
プリンタ、方法
15日前
株式会社サトー
情報処理システム、情報処理方法
2日前
株式会社サトー
プリンタ、プリンタの制御方法、プログラム
15日前
株式会社サトー
情報処理システム、情報処理方法、プログラム
22日前
株式会社サトー
情報処理システム、情報処理方法、プログラム
22日前
株式会社サトー
情報処理システム、情報処理方法、プログラム
1か月前
株式会社サトー
情報処理システム、プログラム、情報処理方法
15日前
株式会社サトー
プリンタ、プリンタの情報処理方法、プログラム
15日前
株式会社サトー
プリンタ、プログラム、プリンタの情報処理方法
15日前
株式会社サトー
情報処理装置、情報処理方法、および、プログラム
1日前
株式会社サトー
情報処理装置、情報処理方法、および、プログラム
1日前
株式会社サトー
情報処理装置、情報処理システム、情報処理方法及びプログラム
8日前
株式会社サトー
情報処理装置、情報処理システム、情報処理方法、及び、プログラム
2日前
株式会社サトー
プリンタ、プリンタの情報処理方法、プログラム、情報処理システム
15日前
株式会社サトー
導電パターンを備えた基材、電子デバイス、電磁波シールドフィルムおよび面状発熱体
12日前
株式会社サトー
導電パターンを備えた基材、電子デバイス、電磁波シールドフィルムおよび面状発熱体
12日前
株式会社サトー
導電性膜、導電性基材、電子デバイス、RFタグ、電磁波シールドフィルムおよび面状発熱体
12日前
株式会社サトー
スクリーンメッシュ、スクリーンマスク、導電パターンの製造方法、および導電性基材の製造方法
1か月前
株式会社サトー
スクリーンメッシュ、スクリーンマスク、導電パターンの製造方法、および導電性基材の製造方法
1か月前
株式会社サトー
導電性基材の製造方法、電子デバイスの製造方法、および電磁波シールドフィルムの製造方法、面状発熱体の製造方法
12日前
株式会社サトー
導電性基材の製造方法、電子デバイスの製造方法、および電磁波シールドフィルムの製造方法、面状発熱体の製造方法
12日前
株式会社サトー
導電性基材の製造方法、電子デバイスの製造方法、電磁波シールドフィルムの製造方法、および面状発熱体の製造方法
12日前
株式会社サトー
導電性基材の製造方法、電子デバイスの製造方法、電磁波シールドフィルムの製造方法、および面状発熱体の製造方法
12日前
株式会社サトー
導電パターンを備えた基材の製造方法、電子デバイスの製造方法、電磁波シールドフィルムの製造方法、面状発熱体の製造方法および導電パターンを備えた基材
12日前
株式会社サトー
導電パターンを備えた基材の製造方法、電子デバイスの製造方法、電磁波シールドフィルムの製造方法、面状発熱体の製造方法および導電パターンを備えた基材
12日前
株式会社サトー
導電パターンを備えた基材の製造方法、電子デバイスの製造方法、電磁波シールドフィルムの製造方法、面状発熱体の製造方法および導電パターンを備えた基材の製造用の物品
12日前
株式会社サトー
導電パターンを備えた基材の製造方法、電子デバイスの製造方法、電磁波シールドフィルムの製造方法、面状発熱体の製造方法、導電パターンを備えた基材の製造のための中間構造体および導電パターンを備えた基材
12日前
個人
箱
12か月前
個人
収容箱
2か月前
続きを見る
他の特許を見る