TOP
|
特許
|
意匠
|
商標
特許ウォッチ
Twitter
他の特許を見る
10個以上の画像は省略されています。
公開番号
2025143116
公報種別
公開特許公報(A)
公開日
2025-10-01
出願番号
2024042860
出願日
2024-03-18
発明の名称
識別バンド
出願人
株式会社サトー
代理人
弁理士法人後藤特許事務所
主分類
G06K
19/077 20060101AFI20250924BHJP(計算;計数)
要約
【課題】通信距離を延ばすこと。
【解決手段】識別バンドは、ICチップとアンテナとを有する締結部材と、締結部材により環状に締結されるバンド本体とを備え、バンド本体には補助アンテナが形成されており、バンド本体が締結部材により締結された状態で、補助アンテナの一部が締結部材に設けられたアンテナの一部と重複する、または近傍に位置するように形成されている。
【選択図】図1
特許請求の範囲
【請求項1】
識別情報を備えたICチップと前記ICチップに接続されたアンテナとを有する締結部材と、
前記締結部材により環状に締結されるバンド本体と、
を備え、
前記締結部材は、
少なくとも一つの係合部と、前記係合部と係合する被係合部を有し、
前記バンド本体は、
前記バンド本体の一端側に少なくとも一つの固定孔が形成された固定部と、
前記バンド本体の他端側に前記固定孔に重ね合わされる複数の調整孔が形成された調整部と、
前記固定孔と前記調整孔との間に補助アンテナが形成された中間部と、を有し、
前記締結部材における前記係合部が、重ね合わされた前記固定孔と前記調整孔に挿通されて前記被係合部に係合されることによって、前記バンド本体が前記締結部材により締結された状態で、前記補助アンテナの一部が前記アンテナの一部と重複する、または前記補助アンテナの一部が前記アンテナの一部の近傍に位置している、
識別バンド。
続きを表示(約 1,000 文字)
【請求項2】
請求項1に記載の識別バンドであって、
前記締結部材は、2つの係合部と、前記2つの係合部に対応する2つの被係合部とを有し、
前記2つの係合部の間、または前記2つの被係合部の間に、前記ICチップ及び前記アンテナが配置された、
識別バンド。
【請求項3】
請求項1又は2に記載の識別バンドであって、
前記補助アンテナは、
前記アンテナと電磁結合される給電部と、
前記バンド本体に沿って形成され前記給電部と電気的に接続された放射部と、を有し、
前記バンド本体が前記締結部材により締結された際に、前記給電部が前記アンテナの一部と電磁結合するように形成された、
識別バンド。
【請求項4】
請求項3に記載の識別バンドであって、
前記補助アンテナは、互いに重ね合わされた前記固定孔と前記調整孔に前記係合部が挿通される挿通方向の投影面において、前記補助アンテナの前記給電部の一部が前記アンテナを囲むように配置された、
識別バンド。
【請求項5】
請求項3に記載の識別バンドであって、
前記放射部は、前記給電部が接続された一方の端部とは反対の端部にキャパシタハット部を有する、
識別バンド。
【請求項6】
請求項3に記載の識別バンドであって、
前記放射部は、メアンダ形状に形成された、
識別バンド。
【請求項7】
請求項3に記載の識別バンドであって、
前記放射部がフィッシュボーン形状である、
識別バンド。
【請求項8】
請求項3に記載の識別バンドであって、
前記バンド本体は、前記固定孔と前記複数の調整孔とを結ぶ線に交差するバンド幅方向における前記中間部の幅が前記調整部の幅よりも広く、
前記バンド幅方向における前記放射部の幅は、前記給電部の幅よりも広い、
識別バンド。
【請求項9】
請求項1に記載の識別バンドであって、
前記中間部に、情報が視認可能に印字される印字面が形成された、
識別バンド。
【請求項10】
請求項6に記載の識別バンドであって、
前記メアンダ形状は、前記複数の調整孔の間を通って形成された、
識別バンド。
発明の詳細な説明
【技術分野】
【0001】
本発明は、識別バンドに関する。
続きを表示(約 2,300 文字)
【背景技術】
【0002】
特許文献1には、非接触通信が可能なICチップが装填されたリストバンド用クリップと、当該クリップにより留め付けられるリストバンドが開示されている。
【先行技術文献】
【特許文献】
【0003】
特許第4666625号公報
【発明の概要】
【発明が解決しようとする課題】
【0004】
従来のリストバンドを留め付ける締結部材としてのリストバンド用クリップでは、実装されているアンテナのサイズがリストバンド用クリップのサイズに依存する。このため、リストバンド用クリップに実装可能なサイズのアンテナでは、通信距離を延ばすことが困難であった。
【0005】
そこで、本発明は、識別情報を備えたICチップとICチップに接続されたアンテナとを有する締結部材と、締結部材により環状に締結されるバンド本体と、を備えた識別バンドにおいて、通信距離を延ばすことを目的とする。
【課題を解決するための手段】
【0006】
本発明のある態様によれば、識別情報を備えたICチップと前記ICチップに接続されたアンテナとを有する締結部材と、前記締結部材により環状に締結されるバンド本体と、を備え、前記締結部材は、少なくとも一つの係合部と、前記係合部と係合する被係合部を有し、前記バンド本体は、前記バンド本体の一端側に少なくとも一つの固定孔が形成された固定部と、前記バンド本体の他端側に前記固定孔に重ね合わされる複数の調整孔が形成された調整部と、前記固定孔と前記調整孔との間に補助アンテナが形成された中間部と、を有し、前記締結部材における前記係合部が、互いに重ね合わされた前記固定孔と前記調整孔に挿通されて前記被係合部に係合されることによって、前記バンド本体が前記締結部材により締結された状態で、前記補助アンテナの一部が前記アンテナの一部と重複する、または前記補助アンテナの一部が前記アンテナの一部の近傍に位置している識別バンドが提供される。
【発明の効果】
【0007】
本発明のある態様によれば、バンド本体に設けられた補助アンテナが締結部材に設けられたアンテナのブースターアンテナとして機能するため、通信距離を延ばすことができる。
【図面の簡単な説明】
【0008】
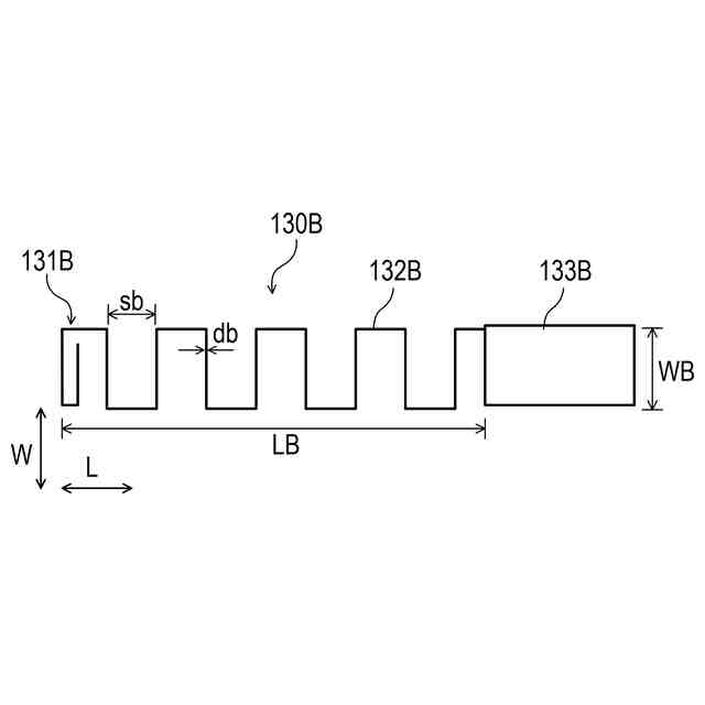
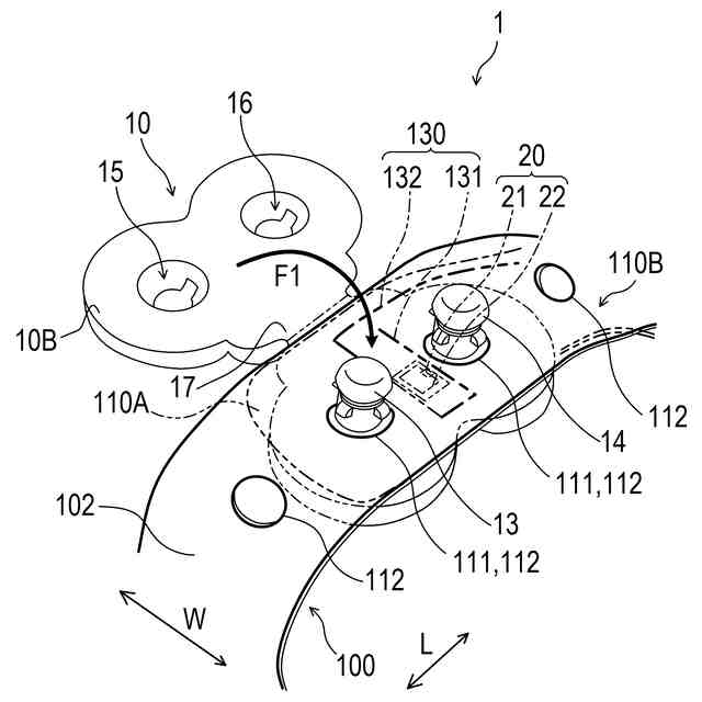
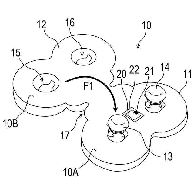
図1は、本発明の実施形態に係る識別バンドを説明する斜視図である。
図2は、締結前の締結部材を説明する斜視図である。
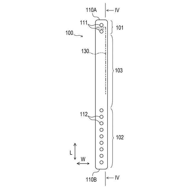
図3は、バンド本体を説明する平面図である。
図4は、図3のIV-IV線における断面図である。
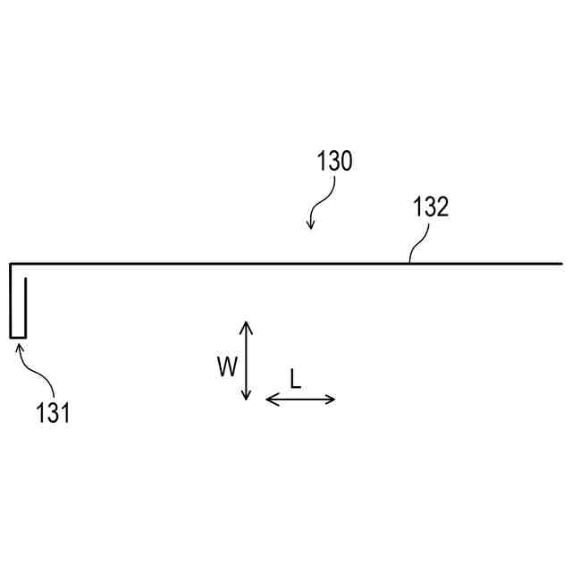
図5は、補助アンテナを説明する外観図である。
図6は、締結部材によって環状に締結されたバンド本体を説明する模式図である。
図7は、補助アンテナの第1変形例を説明する外観図である。
図8は、補助アンテナの第2変形例を説明する外観図である。
図9は、補助アンテナの第3変形例を説明する外観図である。
図10は、補助アンテナの第4変形例を説明する外観図である。
図11は、補助アンテナの第5変形例を説明する外観図である。
図12は、補助アンテナの第6変形例を説明する外観図である。
図13は、補助アンテナの第7変形例を説明する外観図である。
図14は、補助アンテナの第8変形例を説明する外観図である。
図15は、補助アンテナの第9変形例を説明する外観図である。
図16は、補助アンテナの第10変形例を説明する外観図である。
図17は、補助アンテナの第11変形例を説明する外観図である。
図18は、補助アンテナの第12変形例を説明する外観図である。
図19は、補助アンテナの第13変形例を説明する外観図である。
図20は、補助アンテナの第14変形例を説明する外観図である。
図21は、補助アンテナの第15変形例を説明する外観図である。
図22は、補助アンテナの第16変形例を説明する外観図である。
図23は、補助アンテナの第17変形例を説明する外観図である。
図24は、補助アンテナの第18変形例を説明する外観図である。
図25は、バンド本体の変形例を説明する外観図である。
【発明を実施するための形態】
【0009】
以下に記載する形態は、図面の簡単な説明により説明される図面に限定されるものではない。
【0010】
本発明のある態様の第1の態様は、識別情報を備えたICチップと前記ICチップに接続されたアンテナとを有する締結部材と、前記締結部材により環状に締結されるバンド本体と、を備え、前記締結部材は、少なくとも一つの係合部と、前記係合部と係合する被係合部を有し、前記バンド本体は、前記バンド本体の一端側に少なくとも一つの固定孔が形成された固定部と、前記バンド本体の他端側に前記固定孔に重ね合わされる複数の調整孔が形成された調整部と、前記固定孔と前記調整孔との間に補助アンテナが形成された中間部と、を有し、前記締結部材における前記係合部が、互いに重ね合わされた前記固定孔と前記調整孔に挿通されて前記被係合部に係合されることによって、前記バンド本体が前記締結部材により締結された状態で、前記補助アンテナの一部が前記アンテナの一部と重複する、または前記補助アンテナの一部が前記アンテナの一部の近傍に位置している識別バンドである。
(【0011】以降は省略されています)
この特許をJ-PlatPat(特許庁公式サイト)で参照する
関連特許
株式会社サトー
プリンタ
9日前
株式会社サトー
識別バンド
7日前
株式会社サトー
衝撃センサ
28日前
株式会社サトー
衝撃センサ
28日前
株式会社サトー
衝撃センサ
28日前
株式会社サトー
プリンタ、方法
12日前
株式会社サトー
プリンタ、プリンタの制御方法、プログラム
12日前
株式会社サトー
情報処理システム、情報処理方法、プログラム
27日前
株式会社サトー
情報処理システム、情報処理方法、プログラム
19日前
株式会社サトー
情報処理システム、情報処理方法、プログラム
19日前
株式会社サトー
情報処理システム、プログラム、情報処理方法
12日前
株式会社サトー
プリンタ、プログラム、プリンタの情報処理方法
12日前
株式会社サトー
プリンタ、プリンタの情報処理方法、プログラム
12日前
株式会社サトー
情報処理装置、情報処理システム、情報処理方法及びプログラム
5日前
株式会社サトー
プリンタ、プリンタの情報処理方法、プログラム、情報処理システム
12日前
株式会社サトー
導電パターンを備えた基材、電子デバイス、電磁波シールドフィルムおよび面状発熱体
9日前
株式会社サトー
導電パターンを備えた基材、電子デバイス、電磁波シールドフィルムおよび面状発熱体
9日前
株式会社サトー
導電性膜、導電性基材、電子デバイス、RFタグ、電磁波シールドフィルムおよび面状発熱体
9日前
株式会社サトー
スクリーンメッシュ、スクリーンマスク、導電パターンの製造方法、および導電性基材の製造方法
1か月前
株式会社サトー
スクリーンメッシュ、スクリーンマスク、導電パターンの製造方法、および導電性基材の製造方法
1か月前
株式会社サトー
導電性基材の製造方法、電子デバイスの製造方法、および電磁波シールドフィルムの製造方法、面状発熱体の製造方法
9日前
株式会社サトー
導電性基材の製造方法、電子デバイスの製造方法、および電磁波シールドフィルムの製造方法、面状発熱体の製造方法
9日前
株式会社サトー
導電性基材の製造方法、電子デバイスの製造方法、電磁波シールドフィルムの製造方法、および面状発熱体の製造方法
9日前
株式会社サトー
導電性基材の製造方法、電子デバイスの製造方法、電磁波シールドフィルムの製造方法、および面状発熱体の製造方法
9日前
株式会社サトー
導電パターンを備えた基材の製造方法、電子デバイスの製造方法、電磁波シールドフィルムの製造方法、面状発熱体の製造方法および導電パターンを備えた基材
9日前
株式会社サトー
導電パターンを備えた基材の製造方法、電子デバイスの製造方法、電磁波シールドフィルムの製造方法、面状発熱体の製造方法および導電パターンを備えた基材
9日前
株式会社サトー
導電パターンを備えた基材の製造方法、電子デバイスの製造方法、電磁波シールドフィルムの製造方法、面状発熱体の製造方法および導電パターンを備えた基材の製造用の物品
9日前
株式会社サトー
導電パターンを備えた基材の製造方法、電子デバイスの製造方法、電磁波シールドフィルムの製造方法、面状発熱体の製造方法、導電パターンを備えた基材の製造のための中間構造体および導電パターンを備えた基材
9日前
個人
裁判のAI化
2か月前
個人
地球保全システム
7日前
個人
フラワーコートA
2か月前
個人
工程設計支援装置
1か月前
個人
冷凍食品輸出支援構造
1か月前
個人
介護情報提供システム
2か月前
個人
為替ポイント伊達夢貯
1か月前
個人
残土処理システム
今日
続きを見る
他の特許を見る