TOP
|
特許
|
意匠
|
商標
特許ウォッチ
Twitter
他の特許を見る
10個以上の画像は省略されています。
公開番号
2025136684
公報種別
公開特許公報(A)
公開日
2025-09-19
出願番号
2024035438
出願日
2024-03-08
発明の名称
情報処理システム、情報処理方法、プログラム
出願人
株式会社サトー
代理人
弁理士法人グローバル・アイピー東京
主分類
B41J
21/00 20060101AFI20250911BHJP(印刷;線画機;タイプライター;スタンプ)
要約
【課題】2枚以上の印字媒体を含む1セット分の印字媒体に対するレイアウトを容易にデザインでき、かつ1セット分の印字媒体を発行するときの操作性を良好にする。
【解決手段】本発明のある態様は、情報処理装置と、情報処理装置からデータを取得可能なプリンタと、を含む情報処理システムである。情報処理装置は、プリンタによって1セットを構成する複数の印字媒体の各々に印字される情報の基礎となる複数の印字レイアウトを作成するデータ作成部を備える。プリンタは、複数の印字レイアウトを基に印字媒体を発行する場合、1回の発行指示に応じて1セット分の印字媒体を発行する媒体発行部を備える。
【選択図】図15
特許請求の範囲
【請求項1】
情報処理装置と、前記情報処理装置からデータを取得可能なプリンタと、を含む情報処理システムであって、
前記情報処理装置は、
前記プリンタによって1セットを構成する複数の印字媒体の各々に印字される情報の基礎となる複数の印字レイアウトを作成するデータ作成部を備え、
前記プリンタは、
前記複数の印字レイアウトを基に印字媒体を発行する場合、1回の発行指示に応じて1セット分の印字媒体を発行する媒体発行部を備える、
情報処理システム。
続きを表示(約 1,800 文字)
【請求項2】
前記データ作成部は、1つの画面上で前記複数の印字レイアウトを切り替えて表示可能なユーザインタフェースを提供する、
請求項1に記載された情報処理システム。
【請求項3】
前記データ作成部は、ユーザの操作に基づき、前記複数の印字レイアウトの各々に1以上のオブジェクトを配置するとともに、複数の入力方法の中からユーザによって指定される入力方法により、前記1以上のオブジェクトの各々に対して値を設定し、
前記複数の入力方法は、前記複数の印字レイアウトに配置される第1オブジェクトに対して、前記複数の印字レイアウトのいずれかに配置される前記第1オブジェクト以外の第2オブジェクトに対する値を参照して入力する方法を含む、
請求項1に記載された情報処理システム。
【請求項4】
前記データ作成部は、ユーザの操作に基づき、前記複数の印字レイアウトの各々に対して、日時に関する項目に対応する日時オブジェクトを配置するとともに、各日時オブジェクトに対して、発行時に前記プリンタによって取得された時刻の値を印字するか否かを設定し、
前記プリンタは、発行時に前記プリンタによって取得された時刻の値を印字媒体に印字するように設定されている場合、前記複数の印字レイアウトの各々に配置される日時オブジェクトのいずれに対しても、1セットを構成する複数の印字媒体のうち先頭の印字媒体を発行する時に取得された時刻の値を印字する、
請求項1から3のいずれか一項に記載された情報処理システム。
【請求項5】
前記媒体発行部は、印字媒体が連続的に配置された帯状の連続体から、要求されたセット数の印字媒体を発行し、
前記プリンタは、前記媒体発行部によって発行された印字媒体を前記連続体から切断する切断部を有し、
前記情報処理装置は、前記要求されたセット数の印字媒体の切断方法として、ユーザの選択に基づき、印字媒体を1枚ずつ分離されるように切断する第1方法、1セット分の印字媒体がまとまって分離されるように切断する第2方法、およびユーザに指定されたセット数ごとの印字媒体がまとまって分離されるように切断する第3方法を含む複数の切断方法の中からいずれかの切断方法を設定する切断方法設定部を有する、
請求項1から3のいずれか一項に記載された情報処理システム。
【請求項6】
前記情報処理装置は、前記データ作成部によって作成された前記複数の印字レイアウトに基づくプレビュー画像を表示するプレビュー表示部を備え、
前記プレビュー表示部は、1つの画面上で前記複数の印字レイアウトを切り替えてプレビュー画像を表示可能なユーザインタフェースを提供する、
請求項1から3のいずれか一項に記載された情報処理システム。
【請求項7】
前記データ作成部は、ユーザの操作に応じて、前記1セットを構成する複数の印字媒体のうち先頭ラベル及び/又は末端ラベルとして本体ラベルに付加されるラベルを設定し、前記先頭ラベル及び/又は前記末端ラベルに印字される情報の基礎となる印字レイアウトを作成する、
請求項1から3のいずれか一項に記載された情報処理システム。
【請求項8】
情報処理装置と、前記情報処理装置からデータを取得可能なプリンタと、の間の情報処理方法であって、
前記情報処理装置が、前記プリンタによって1セットを構成する複数の印字媒体の各々に印字される情報の基礎となる複数の印字レイアウトを作成し、
前記プリンタが、前記複数の印字レイアウトを基に印字媒体を発行する場合、1回の発行指示に応じて1セット分の印字媒体を発行する、
情報処理方法。
【請求項9】
印字部を備えたプリンタにインストールされた場合に、
前記プリンタによって1セットを構成する複数の印字媒体の各々に印字される情報の基礎となる複数の印字レイアウトを取得する手順と、
前記複数の印字レイアウトを基に印字媒体を発行する場合、1回の発行指示に応じて1セット分の印字媒体を前記印字部に発行させる手順と、
をコンピュータに実行させるプログラム。
発明の詳細な説明
【技術分野】
【0001】
本発明は、プリンタに関連する情報処理技術に関する。
続きを表示(約 2,400 文字)
【背景技術】
【0002】
従来から小売店等では、販売される商品に貼付されるラベルを発行するラベルプリンタが利用されテールラベルに印字される項目のレイアウトをラベルの貼付対象となる商品ごとにデザインする必要があることから、ラベルプリンタにより印字されるラベルのレイアウトをデザインすることを可能とするプログラムが知られている。
例えば特許文献1には、ラベル印字形態設定プログラムを実行することで、液晶モニタにラベルと同比率のラベル印字形態画面を表示することや、当該画面では表示項目ごとにブロックで区切られ、ユーザ操作に基づいてブロックを選択し、選択したブロックの位置をカーソルキーで上下左右に操作し変更できることが記載されている。さらに、変更後のラベル印字形態を登録し、さらに、登録されたラベル印字形態を用いてラベルを発行することが記載されている。
【先行技術文献】
【特許文献】
【0003】
特開2004-255731号公報
【発明の概要】
【発明が解決しようとする課題】
【0004】
ところで、2枚以上のラベルが商品に貼付される場合がある。例えば商品が弁当である場合、商品の表側には、商品名や価格などを印字したラベルが貼付され、商品の裏側には、商品の原材料名や栄養成分等の詳細な情報を印字したラベルが貼付される場合がある。そのような場合、2枚以上のラベルを1セットとして各ラベルのレイアウトをデザインできるようにすることが望まれる。また、1セットのラベルを1回の発行操作で発行できるようにすることが望まれる。
【0005】
そこで、本発明は、2枚以上の印字媒体を含む1セット分の印字媒体に対するレイアウトを容易にデザインでき、かつ1セット分の印字媒体を発行するときの操作性を良好にすることを目的とする。
【課題を解決するための手段】
【0006】
本発明のある態様は、情報処理装置と、前記情報処理装置からデータを取得可能なプリンタと、を含む情報処理システムであって、
前記情報処理装置は、
前記プリンタによって1セットを構成する複数の印字媒体の各々に印字される情報の基礎となる複数の印字レイアウトを作成するデータ作成部を備え、
前記プリンタは、
前記複数の印字レイアウトを基に印字媒体を発行する場合、1回の発行指示に応じて1セット分の印字媒体を発行する媒体発行部を備える、
情報処理システムである。
【発明の効果】
【0007】
本発明のある態様によれば、2枚以上の印字媒体を含む1セット分の印字媒体に対するレイアウトを容易にデザインでき、かつ1セット分の印字媒体を発行するときの操作性が良好になる。
【図面の簡単な説明】
【0008】
一実施形態の情報処理システムのシステム構成図である。
ラベル作成アプリケーションを実行したときに表示されるプロジェクトファイル作成画面の一例を示す図である。
印字レイアウトの構成例を説明する図である。
ラベル作成アプリケーションにおいてデータウィンドウを説明するための図である。
呼出しテーブルを表示する手順を示す図である。
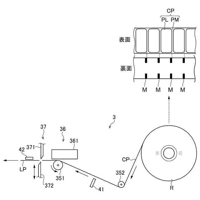
一実施形態のプリンタの構成を示す図である。
一実施形態の情報処理システムの機能ブロック図である。
セット発行において複数枚のラベルで1つの商品に対する情報が印字される例を示す図である。
セット発行において本体ラベルの先頭にラベルを付加した例を示す図である。
ラベル作成アプリケーションにおいてセット発行を設定するときの手順を示す図である。
セット発行が設定された場合のプロジェクトファイル作成画面を示す図である。
ラベル作成アプリケーションにおいて日時オブジェクトに対するリアルタイム発行の設定を説明する図である。
ラベル発行アプリケーションにおいてプレビュー画像の表示態様を例示する図である。
プリンタのラベル発行アプリケーションによってラベルを発行するときの手順を説明する図である。
ラベル発行システムにおいてセット発行を行うときのシーケンスチャートである。
表ラベルと裏ラベルからなる2枚の本体ラベルを1セットとしたときに、リアルタイム発行が有効である場合と無効である場合とでの日時オブジェクトに印字される時刻について例示する図である。
表ラベルと裏ラベルからなる2枚の本体ラベルを1セットとしたときに、切断方法の設定に応じたカット位置を例示する図である。
プリンタにタブレット端末を接続して発行する場合の発行フローを説明する図である。
【発明を実施するための形態】
【0009】
以下に記載する態様は、図面の簡単な説明により説明される図面に限定されるものではない。
【0010】
本発明のある態様の第1の態様は、情報処理装置と、前記情報処理装置からデータを取得可能なプリンタと、を含む情報処理システムであって、
前記情報処理装置は、
前記プリンタによって1セットを構成する複数の印字媒体の各々に印字される情報の基礎となる複数の印字レイアウトを作成するデータ作成部を備え、
前記プリンタは、
前記複数の印字レイアウトを基に印字媒体を発行する場合、1回の発行指示に応じて1セット分の印字媒体を発行する媒体発行部を備える、
情報処理システムである。
(【0011】以降は省略されています)
この特許をJ-PlatPat(特許庁公式サイト)で参照する
関連特許
株式会社サトー
プリンタ
6日前
株式会社サトー
識別バンド
4日前
株式会社サトー
衝撃センサ
25日前
株式会社サトー
衝撃センサ
25日前
株式会社サトー
衝撃センサ
25日前
株式会社サトー
プリンタ、方法
9日前
株式会社サトー
プリンタ、プリンタの制御方法、プログラム
9日前
株式会社サトー
情報処理システム、情報処理方法、プログラム
24日前
株式会社サトー
情報処理システム、情報処理方法、プログラム
16日前
株式会社サトー
情報処理システム、情報処理方法、プログラム
16日前
株式会社サトー
情報処理システム、プログラム、情報処理方法
9日前
株式会社サトー
プリンタ、プログラム、プリンタの情報処理方法
9日前
株式会社サトー
プリンタ、プリンタの情報処理方法、プログラム
9日前
株式会社サトー
プリンタ
1か月前
株式会社サトー
情報処理装置、情報処理システム、情報処理方法及びプログラム
2日前
株式会社サトー
プリンタ、プリンタの情報処理方法、プログラム、情報処理システム
9日前
株式会社サトー
導電パターンを備えた基材、電子デバイス、電磁波シールドフィルムおよび面状発熱体
6日前
株式会社サトー
導電パターンを備えた基材、電子デバイス、電磁波シールドフィルムおよび面状発熱体
6日前
株式会社サトー
導電性膜、導電性基材、電子デバイス、RFタグ、電磁波シールドフィルムおよび面状発熱体
6日前
株式会社サトー
スクリーンメッシュ、スクリーンマスク、導電パターンの製造方法、および導電性基材の製造方法
1か月前
株式会社サトー
スクリーンメッシュ、スクリーンマスク、導電パターンの製造方法、および導電性基材の製造方法
1か月前
株式会社サトー
導電性基材の製造方法、電子デバイスの製造方法、および電磁波シールドフィルムの製造方法、面状発熱体の製造方法
6日前
株式会社サトー
導電性基材の製造方法、電子デバイスの製造方法、および電磁波シールドフィルムの製造方法、面状発熱体の製造方法
6日前
株式会社サトー
導電性基材の製造方法、電子デバイスの製造方法、電磁波シールドフィルムの製造方法、および面状発熱体の製造方法
6日前
株式会社サトー
導電性基材の製造方法、電子デバイスの製造方法、電磁波シールドフィルムの製造方法、および面状発熱体の製造方法
6日前
株式会社サトー
導電パターンを備えた基材の製造方法、電子デバイスの製造方法、電磁波シールドフィルムの製造方法、面状発熱体の製造方法および導電パターンを備えた基材
6日前
株式会社サトー
導電パターンを備えた基材の製造方法、電子デバイスの製造方法、電磁波シールドフィルムの製造方法、面状発熱体の製造方法および導電パターンを備えた基材
6日前
株式会社サトー
導電パターンを備えた基材の製造方法、電子デバイスの製造方法、電磁波シールドフィルムの製造方法、面状発熱体の製造方法および導電パターンを備えた基材の製造用の物品
6日前
株式会社サトー
導電パターンを備えた基材の製造方法、電子デバイスの製造方法、電磁波シールドフィルムの製造方法、面状発熱体の製造方法、導電パターンを備えた基材の製造のための中間構造体および導電パターンを備えた基材
6日前
個人
箔熱転写装置
25日前
シヤチハタ株式会社
印判
4か月前
東レ株式会社
凸版印刷版原版
9か月前
シヤチハタ株式会社
反転式印判
8か月前
キヤノン株式会社
記録装置
18日前
独立行政法人 国立印刷局
印刷物
6か月前
三光株式会社
感熱記録材料
6か月前
続きを見る
他の特許を見る