TOP
|
特許
|
意匠
|
商標
特許ウォッチ
Twitter
他の特許を見る
10個以上の画像は省略されています。
公開番号
2025139102
公報種別
公開特許公報(A)
公開日
2025-09-26
出願番号
2024037864
出願日
2024-03-12
発明の名称
プリンタ、プログラム、プリンタの情報処理方法
出願人
株式会社サトー
代理人
弁理士法人グローバル・アイピー東京
主分類
B41J
29/38 20060101AFI20250918BHJP(印刷;線画機;タイプライター;スタンプ)
要約
【課題】プリンタで発生する事象をプリンタの状態に応じて適切に管理可能とする。
【解決手段】本発明のある一態様に係るプリンタは、プリンタで発生し得る複数の事象の各々に対して、プリンタの状態ごとに、対応する事象に対処するときの優先度を関連付けたデータベースを記憶する記憶部と、当該データベースに基づき、プリンタで発生している1以上の事象の各々に対し、プリンタの現在の状態に応じた優先度を決定する優先度決定部と、を備える。優先度決定部は、プリンタの現在の状態が変化した場合、変化後のプリンタの状態に基づいて各事象に対する優先度を決定する。
【選択図】図4
特許請求の範囲
【請求項1】
プリンタで発生し得る複数の事象の各々に対して、前記プリンタの状態ごとに、対応する事象に対処するときの優先度を関連付けたデータベースを記憶する記憶部と、
前記データベースに基づき、プリンタで発生している1以上の事象の各々に対し、前記プリンタの現在の状態に応じた優先度を決定する優先度決定部と、を備え、
前記優先度決定部は、前記プリンタの現在の状態が変化した場合、変化後の前記プリンタの状態に基づいて各事象に対する優先度を決定する、
プリンタ。
続きを表示(約 1,200 文字)
【請求項2】
前記優先度決定部は、前記プリンタの現在の状態が変化した場合、前記プリンタの変化後の状態に応じた各事象の優先度を決定し、前記プリンタで発生している1以上の事象のうち、前記優先度決定部によって決定された優先度が最も高い事象である第1事象を特定する、
請求項1に記載されたプリンタ。
【請求項3】
前記第1事象の優先度が所定値以上である場合、前記第1事象の情報を含む第1画面を表示する表示部をさらに備えた、
請求項2に記載されたプリンタ。
【請求項4】
前記表示部は、前記プリンタの状態が変化したとき、前記プリンタで発生している1以上の事象のうち前記第1事象が変化した場合には、前記第1画面に含まれる情報を、変化後の第1事象の情報に切り替える、
請求項3に記載されたプリンタ。
【請求項5】
前記表示部は、ユーザによる所定の操作に応じて、前記プリンタで発生している1以上の事象のうち、前記優先度決定部によって決定された優先度が所定値以上である事象を、優先度が高い順に並べて表示する、
請求項1~4のいずれか一項に記載されたプリンタ。
【請求項6】
前記表示部は、前記プリンタで発生している1以上の事象を優先度が高い順に並べる際に、前記優先度決定部によって決定された優先度が同一である複数の事象が含まれる場合、前記複数の事象を事象の発生時刻の順に表示する、
請求項5に記載されたプリンタ。
【請求項7】
前記表示部は、ユーザによる所定の操作に応じて、前記プリンタで発生している1以上の事象のうち、前記優先度決定部によって決定された優先度が所定値未満である事象を、優先度が高い順に並べて表示する、
請求項1~4のいずれか一項に記載されたプリンタ。
【請求項8】
前記表示部は、前記第1事象に対する優先度が所定値以上である場合に、前記第1事象の情報を含む前記第1画面を表示し、
前記優先度決定部は、前記第1画面上においてユーザが前記第1事象の発生を認識したことを示す所定の操作に応じて、前記第1事象に対する優先度を前記所定値未満に低下させる、
請求項3に記載されたプリンタ。
【請求項9】
前記第1画面は、ユーザによって操作可能であって、前記第1事象に応じた1以上の操作対象を含み、
前記表示部は、前記1以上の操作対象のいずれかに対する操作により前記第1事象に関連する画像を表示する、
請求項3に記載されたプリンタ。
【請求項10】
前記プリンタの状態は、前記プリンタがとり得る複数のシステム状態のうちのいずれかである、
請求項1~4のいずれか一項に記載されたプリンタ。
(【請求項11】以降は省略されています)
発明の詳細な説明
【技術分野】
【0001】
本発明は、プリンタに関する。
続きを表示(約 1,800 文字)
【背景技術】
【0002】
従来から、ラベル等の印字媒体を発行するプリンタが知られている。このようなプリンタには、プリンタで発生したエラーを表示可能な表示モニタを備えているものがある(特許文献1)。
【先行技術文献】
【特許文献】
【0003】
特開2004-230610号
【発明の概要】
【発明が解決しようとする課題】
【0004】
ところで、プリンタに設けられる表示モニタは比較的小型ものが多いため、エラーに相当する2以上の事象が発生している場合であっても1つの事象しか表示できないプリンタがある。このようなプリンタでは、エラーに相当する2以上の事象が発生している場合に表示すべき事象は、プリンタのユーザにとってより優先度が高いもの(例えばユーザに即座のアクションを要求するもの)であることが好ましい。また、ユーザにとって事象の優先度は、プリンタの状態(例えば、オンラインでの運用中や、メンテナンス中、スリープ等)に応じて変動し得る。
【0005】
そこで、本発明は、プリンタで発生する事象をプリンタの状態に応じて適切に管理可能とすることを目的とする。
【課題を解決するための手段】
【0006】
本発明のある態様は、プリンタで発生し得る複数の事象の各々に対して、前記プリンタの状態ごとに、対応する事象に対処するときの優先度を関連付けたデータベースを記憶する記憶部と、
前記データベースに基づき、プリンタで発生している1以上の事象の各々に対し、前記プリンタの現在の状態に応じた優先度を決定する優先度決定部と、を備え、
前記優先度決定部は、前記プリンタの現在の状態が変化した場合、変化後の前記プリンタの状態に基づいて各事象に対する優先度を決定する、プリンタである。
【発明の効果】
【0007】
本発明のある態様によれば、プリンタで発生する事象をプリンタの状態に応じて適切に管理可能となる。
【図面の簡単な説明】
【0008】
図1Aは、一実施形態のプリンタについてプリンタカバーが閉鎖状態である場合の斜視図であり、図1Bは、一実施形態のプリンタについてプリンタカバーが開放状態である場合の斜視図である。
一実施形態のプリンタによる印字動作を説明するためのプリンタの概略的な断面図である。
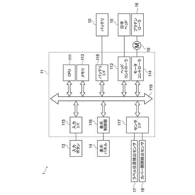
一実施形態のプリンタの機能ブロック図である。
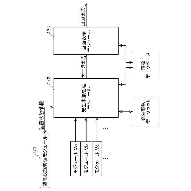
一実施形態のプリンタのファームウェアのユーザ通報制御に関連する機能ブロック図である。
一実施形態のプリンタの装置状態の一覧を示す図である。
各エラーレベルに対する通報種別と装置状態の遷移を示す図である。
事象データベースのデータ構成例を示す図である。
発生事象データセットのデータ構成例を示す図である。
一実施形態のプリンタの表示遷移例を示す図である。
一実施形態のプリンタの表示遷移例を示す図である。
一実施形態のプリンタによる処理を示すフローチャートである。
一実施形態のプリンタによる処理を示すフローチャートである。
一実施形態のプリンタによる処理を示すフローチャートである。
一実施形態のプリンタによる処理を示すフローチャートである。
一実施形態のプリンタの表示遷移例を示す図である。
一実施形態のプリンタの表示遷移例を示す図である。
一実施形態のプリンタの表示遷移例を示す図である。
【発明を実施するための形態】
【0009】
以下に記載する形態は、図面の簡単な説明により説明される図面に限定されるものではない。
【0010】
本発明のある態様の第1の態様は、プリンタで発生し得る複数の事象の各々に対して、前記プリンタの状態ごとに、対応する事象に対処するときの優先度を関連付けたデータベースを記憶する記憶部と、
前記データベースに基づき、プリンタで発生している1以上の事象の各々に対し、前記プリンタの現在の状態に応じた優先度を決定する優先度決定部と、を備え、
前記優先度決定部は、前記プリンタの現在の状態が変化した場合、変化後の前記プリンタの状態に基づいて各事象に対する優先度を決定する、プリンタである。
(【0011】以降は省略されています)
この特許をJ-PlatPat(特許庁公式サイト)で参照する
関連特許
株式会社サトー
プリンタ
6日前
株式会社サトー
識別バンド
4日前
株式会社サトー
衝撃センサ
25日前
株式会社サトー
衝撃センサ
25日前
株式会社サトー
衝撃センサ
25日前
株式会社サトー
プリンタ、方法
9日前
株式会社サトー
プリンタ、プリンタの制御方法、プログラム
9日前
株式会社サトー
情報処理システム、情報処理方法、プログラム
24日前
株式会社サトー
情報処理システム、情報処理方法、プログラム
16日前
株式会社サトー
情報処理システム、情報処理方法、プログラム
16日前
株式会社サトー
情報処理システム、プログラム、情報処理方法
9日前
株式会社サトー
プリンタ、プログラム、プリンタの情報処理方法
9日前
株式会社サトー
プリンタ、プリンタの情報処理方法、プログラム
9日前
株式会社サトー
情報処理装置、情報処理システム、情報処理方法及びプログラム
2日前
株式会社サトー
プリンタ、プリンタの情報処理方法、プログラム、情報処理システム
9日前
株式会社サトー
導電パターンを備えた基材、電子デバイス、電磁波シールドフィルムおよび面状発熱体
6日前
株式会社サトー
導電パターンを備えた基材、電子デバイス、電磁波シールドフィルムおよび面状発熱体
6日前
株式会社サトー
導電性膜、導電性基材、電子デバイス、RFタグ、電磁波シールドフィルムおよび面状発熱体
6日前
株式会社サトー
スクリーンメッシュ、スクリーンマスク、導電パターンの製造方法、および導電性基材の製造方法
1か月前
株式会社サトー
スクリーンメッシュ、スクリーンマスク、導電パターンの製造方法、および導電性基材の製造方法
1か月前
株式会社サトー
導電性基材の製造方法、電子デバイスの製造方法、および電磁波シールドフィルムの製造方法、面状発熱体の製造方法
6日前
株式会社サトー
導電性基材の製造方法、電子デバイスの製造方法、および電磁波シールドフィルムの製造方法、面状発熱体の製造方法
6日前
株式会社サトー
導電性基材の製造方法、電子デバイスの製造方法、電磁波シールドフィルムの製造方法、および面状発熱体の製造方法
6日前
株式会社サトー
導電性基材の製造方法、電子デバイスの製造方法、電磁波シールドフィルムの製造方法、および面状発熱体の製造方法
6日前
株式会社サトー
導電パターンを備えた基材の製造方法、電子デバイスの製造方法、電磁波シールドフィルムの製造方法、面状発熱体の製造方法および導電パターンを備えた基材
6日前
株式会社サトー
導電パターンを備えた基材の製造方法、電子デバイスの製造方法、電磁波シールドフィルムの製造方法、面状発熱体の製造方法および導電パターンを備えた基材
6日前
株式会社サトー
導電パターンを備えた基材の製造方法、電子デバイスの製造方法、電磁波シールドフィルムの製造方法、面状発熱体の製造方法および導電パターンを備えた基材の製造用の物品
6日前
株式会社サトー
導電パターンを備えた基材の製造方法、電子デバイスの製造方法、電磁波シールドフィルムの製造方法、面状発熱体の製造方法、導電パターンを備えた基材の製造のための中間構造体および導電パターンを備えた基材
6日前
個人
箔熱転写装置
25日前
シヤチハタ株式会社
印判
4か月前
東レ株式会社
凸版印刷版原版
9か月前
シヤチハタ株式会社
反転式印判
8か月前
キヤノン株式会社
記録装置
18日前
三光株式会社
感熱記録材料
6か月前
独立行政法人 国立印刷局
印刷物
6か月前
株式会社リコー
液体吐出装置
3か月前
続きを見る
他の特許を見る