TOP
|
特許
|
意匠
|
商標
特許ウォッチ
Twitter
他の特許を見る
10個以上の画像は省略されています。
公開番号
2025139112
公報種別
公開特許公報(A)
公開日
2025-09-26
出願番号
2024037876
出願日
2024-03-12
発明の名称
プリンタ、プリンタの情報処理方法、プログラム、情報処理システム
出願人
株式会社サトー
代理人
弁理士法人グローバル・アイピー東京
主分類
B41J
29/393 20060101AFI20250918BHJP(印刷;線画機;タイプライター;スタンプ)
要約
【課題】現場のユーザがプリンタ内の装置に生じた故障を適切に解決できるようにする。
【解決手段】本発明のある一態様に係るプリンタは、プリンタに搭載されている装置に対して過去に発生した事象を発生時刻の情報と関連付けたデータベースを記憶する記憶部と、ユーザ操作に応じて上記装置に対する自己診断処理を実行するプロセッサと、自己診断処理の実行結果を表示する表示部と、を備える。自己診断処理は、データベースから、上記装置に対して発生した過去の1回以上の事象と各事象の発生時刻の情報とを含む事象履歴情報を取得すること、及び、事象履歴情報と、上記装置の現在の稼動状態を示す稼動情報と、に基づいて、上記装置の経時的な故障有無に関する故障情報を取得すること、を含む。
【選択図】図8
特許請求の範囲
【請求項1】
プリンタに搭載されている装置に対して過去に発生した事象を発生時刻の情報と関連付けたデータベースを記憶する記憶部と、
ユーザ操作に応じて前記装置に対する自己診断処理を実行するプロセッサと、
前記自己診断処理の実行結果を表示する表示部と、を備え、
前記自己診断処理は、
前記データベースから、前記装置に対して発生した過去の1回以上の事象と各事象の発生時刻の情報とを含む事象履歴情報を取得すること、及び、
前記事象履歴情報と、前記装置の現在の稼動状態を示す稼動情報と、に基づいて、前記装置の経時的な故障有無に関する故障情報を取得すること、を含む、
プリンタ。
続きを表示(約 1,600 文字)
【請求項2】
前記自己診断処理は、前記事象履歴情報を基に前記装置に対して発生した事象が変化した日時を特定することを含み、
前記故障情報は、特定した前記日時に関する情報を含む、
請求項1に記載されたプリンタ。
【請求項3】
前記自己診断処理は、前記事象履歴情報を基に前記装置に対して所定の事象が発生した回数に基づく統計値を算出することを含み、
前記故障情報は、前記統計値に関する情報を含む、
請求項1に記載されたプリンタ。
【請求項4】
前記プロセッサは、
前記装置に対して事象が発生する度に、発生した事象を発生時刻の情報と関連付けて前記データベースに記録し、
前記データベースから、前記装置に対して発生した過去の1回以上の事象と各事象の発生時刻の情報とを含む事象履歴情報を取得し、取得した事象履歴情報に基づいて警告出力を行うか否か判定する、
請求項1に記載されたプリンタ。
【請求項5】
前記プロセッサは、前記装置に対して発生する事象として、前記装置の状態を検出するセンサの出力値、又は前記装置の動作に関する計測値を定期的に取得し、取得した前記出力値又は前記計測値を前記データベースに記録する、
請求項1から4のいずれか一項に記載されたプリンタ。
【請求項6】
前記プロセッサは、前記故障情報を、前記装置の個体識別情報と関連付けて前記記憶部に記録する、
請求項1から4のいずれか一項に記載されたプリンタ。
【請求項7】
前記プロセッサは、前記自己診断処理の実行結果として、前記故障情報とともに、前記装置に対してユーザが採るべきアクションを示すテキストを前記表示部に表示させる、
請求項1から4のいずれか一項に記載されたプリンタ。
【請求項8】
前記プロセッサは、
前記プリンタの起動直後にブートローダを実行することで、前記装置に対する検査処理を行い、かつ前記検査処理の結果を記録し、
前記プリンタのシステムソフトウェアが実行可能になった後に、前記検査処理の結果を前記データベースに記録する、
請求項1から4のいずれか一項に記載されたプリンタ。
【請求項9】
プリンタの情報処理方法であって、
前記プリンタに搭載されている装置に対して過去に発生した事象を発生時刻の情報と関連付けて前記プリンタの記憶部のデータベースに記録するステップと、
ユーザ操作に応じて、前記データベースから、前記装置に対して発生した過去の1回以上の事象と各事象の発生時刻の情報とを含む事象履歴情報を取得するステップと、
前記事象履歴情報と、前記装置の現在の稼動状態を示す稼動情報と、に基づいて、前記装置の経時的な故障有無に関する故障情報を取得するステップと、
前記故障情報を前記プリンタの表示部に表示させるステップと、
を含む、プリンタの情報処理方法。
【請求項10】
プリンタにインストールされるプログラムであって、
前記プリンタに搭載されている装置に対して過去に発生した事象を発生時刻の情報と関連付けて前記プリンタの記憶部のデータベースに記録する手順と、
ユーザ操作に応じて、前記データベースから、前記装置に対して発生した過去の1回以上の事象と各事象の発生時刻の情報とを含む事象履歴情報を取得する手順と、
前記事象履歴情報と、前記装置の現在の稼動状態を示す稼動情報と、に基づいて、前記装置の経時的な故障有無に関する故障情報を取得する手順と、
前記故障情報を前記プリンタの表示部に表示させる手順と、
をコンピュータに実行させるためのプログラム。
(【請求項11】以降は省略されています)
発明の詳細な説明
【技術分野】
【0001】
本発明は、プリンタにおける情報処理に関する。
続きを表示(約 1,900 文字)
【背景技術】
【0002】
従来から、自己診断機能を備えたプリンタが知られている。
例えば特許文献1には、自己診断機能により診断された診断結果を記憶手段に記憶させる機能を備えたプリンタについて記載されている。このプリンタは、所定のスイッチを操作すると印字出力すると共に、診断結果に異常なデータがあることが検出されると診断結果の印字出力に異常を示す印字を行うように構成されている。
【先行技術文献】
【特許文献】
【0003】
特開2005-225095号公報
【発明の概要】
【発明が解決しようとする課題】
【0004】
従来のプリンタに備わっている自己診断機能は、プリンタの断線情報やセンサの出力情報等、プリンタ内の装置に対して、現在の故障有無を示す自己診断結果を出力するように構成されている。しかし、現在の故障有無を示す自己診断結果の情報だけでは、サービスマンやオペレータなどの現場のユーザが適切に故障の解決を図る(トラブルシュートを行う)には十分でない場合がある。
【0005】
そこで、本発明は、現場のユーザがプリンタ内の装置に生じた故障を適切に解決できるようにすることを目的とする。
【課題を解決するための手段】
【0006】
本発明のある態様は、プリンタに搭載されている装置に対して過去に発生した事象を発生時刻の情報と関連付けたデータベースを記憶する記憶部と、
ユーザ操作に応じて前記装置に対する自己診断処理を実行するプロセッサと、
前記自己診断処理の実行結果を表示する表示部と、を備え、
前記自己診断処理は、
前記データベースから、前記装置に対して発生した過去の1回以上の事象と各事象の発生時刻の情報とを含む事象履歴情報を取得すること、及び、
前記事象履歴情報と、前記装置の現在の稼動状態を示す稼動情報と、に基づいて、前記装置の経時的な故障有無に関する故障情報を取得すること、を含む、
プリンタである。
【発明の効果】
【0007】
本発明のある態様によれば、現場のユーザがプリンタ内の装置に生じた故障を適切に解決できるようになる。
【図面の簡単な説明】
【0008】
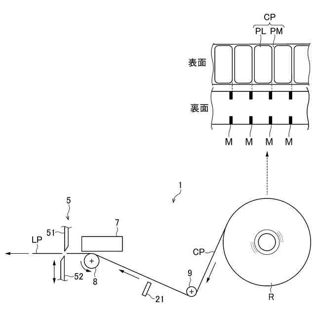
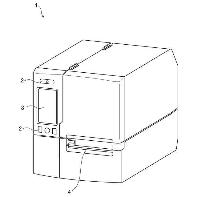
一実施形態のプリンタの斜視図である。
一実施形態のプリンタの内部機構を示す図である。
一実施形態のプリンタに表示される画面の遷移の一例である。
一実施形態のプリンタに表示される画面の遷移の一例である。
一実施形態のプリンタに表示される画面の遷移の一例である。
一実施形態のプリンタの機能ブロック図である。
イベントデータベースのデータ構成例を示す図である。
一実施形態のプリンタにおいて自己診断機能に関連するソフトウェアの機能ブロック図である。
一実施形態のプリンタの装置情報蓄積処理を示すフローチャートである。
一実施形態のプリンタのアラーム発行処理の一例を示すフローチャートである。
一実施形態のプリンタの自己診断処理を示すフローチャートである。
図11に示した自己診断処理をカッタユニットに適用した場合のフローチャートである。
図11に示した自己診断処理をカッタユニットに適用した場合のフローチャートである。
故障ログデータベースのデータ構成例を示す図である。
【発明を実施するための形態】
【0009】
以下に記載する形態は、図面の簡単な説明により説明される図面に限定されるものではない。
なお、この明細書において「装置」とは、プリンタに搭載されている個々の部品、デバイス、あるいはユニットを表すための用語である。
【0010】
本発明のある態様の第1の態様は、プリンタに搭載されている装置に対して過去に発生した事象を発生時刻の情報と関連付けたデータベースを記憶する記憶部と、
ユーザ操作に応じて前記装置に対する自己診断処理を実行するプロセッサと、
前記自己診断処理の実行結果を表示する表示部と、を備え、
前記自己診断処理は、
前記データベースから、前記装置に対して発生した過去の1回以上の事象と各事象の発生時刻の情報とを含む事象履歴情報を取得すること、及び、
前記事象履歴情報と、前記装置の現在の稼動状態を示す稼動情報と、に基づいて、前記装置の経時的な故障有無に関する故障情報を取得すること、を含む、
プリンタである。
(【0011】以降は省略されています)
この特許をJ-PlatPat(特許庁公式サイト)で参照する
関連特許
株式会社サトー
プリンタ
2か月前
株式会社サトー
プリンタ
3日前
株式会社サトー
衝撃センサ
22日前
株式会社サトー
衝撃センサ
22日前
株式会社サトー
衝撃センサ
22日前
株式会社サトー
識別バンド
1日前
株式会社サトー
プリンタ、方法
6日前
株式会社サトー
プリンタ、プリンタの制御方法、プログラム
6日前
株式会社サトー
情報処理システム、プログラム、情報処理方法
6日前
株式会社サトー
情報処理システム、情報処理方法、プログラム
21日前
株式会社サトー
情報処理システム、情報処理方法、プログラム
13日前
株式会社サトー
情報処理システム、情報処理方法、プログラム
13日前
株式会社サトー
プリンタ、プログラム、プリンタの情報処理方法
6日前
株式会社サトー
プリンタ、プリンタの情報処理方法、プログラム
6日前
株式会社サトー
プリンタ
1か月前
株式会社サトー
RFID媒体、RFID媒体の使用方法及び検出システム
1か月前
株式会社サトー
プリンタ
1か月前
株式会社サトー
プリンタ
1か月前
株式会社サトー
プリンタ、プリンタの情報処理方法、プログラム、情報処理システム
6日前
株式会社サトー
導電パターンを備えた基材、電子デバイス、電磁波シールドフィルムおよび面状発熱体
3日前
株式会社サトー
導電パターンを備えた基材、電子デバイス、電磁波シールドフィルムおよび面状発熱体
3日前
株式会社サトー
導電性膜、導電性基材、電子デバイス、RFタグ、電磁波シールドフィルムおよび面状発熱体
3日前
株式会社サトー
RFIDラベル及びRFIDラベルの使用方法
1か月前
株式会社サトー
スクリーンメッシュ、スクリーンマスク、導電パターンの製造方法、および導電性基材の製造方法
1か月前
株式会社サトー
ラベル貼付装置、ラベル貼付方法及びプログラム
1か月前
株式会社サトー
スクリーンメッシュ、スクリーンマスク、導電パターンの製造方法、および導電性基材の製造方法
1か月前
株式会社サトー
導電性基材の製造方法、電子デバイスの製造方法、および電磁波シールドフィルムの製造方法、面状発熱体の製造方法
3日前
株式会社サトー
導電性基材の製造方法、電子デバイスの製造方法、および電磁波シールドフィルムの製造方法、面状発熱体の製造方法
3日前
株式会社サトー
導電性基材の製造方法、電子デバイスの製造方法、電磁波シールドフィルムの製造方法、および面状発熱体の製造方法
3日前
株式会社サトー
導電性基材の製造方法、電子デバイスの製造方法、電磁波シールドフィルムの製造方法、および面状発熱体の製造方法
3日前
株式会社サトー
導電パターンを備えた基材の製造方法、電子デバイスの製造方法、電磁波シールドフィルムの製造方法、面状発熱体の製造方法および導電パターンを備えた基材
3日前
株式会社サトー
導電パターンを備えた基材の製造方法、電子デバイスの製造方法、電磁波シールドフィルムの製造方法、面状発熱体の製造方法および導電パターンを備えた基材
3日前
株式会社サトー
導電パターンを備えた基材の製造方法、電子デバイスの製造方法、電磁波シールドフィルムの製造方法、面状発熱体の製造方法および導電パターンを備えた基材の製造用の物品
3日前
株式会社サトー
導電パターンを備えた基材の製造方法、電子デバイスの製造方法、電磁波シールドフィルムの製造方法、面状発熱体の製造方法、導電パターンを備えた基材の製造のための中間構造体および導電パターンを備えた基材
3日前
個人
箔熱転写装置
22日前
シヤチハタ株式会社
印判
4か月前
続きを見る
他の特許を見る