TOP
|
特許
|
意匠
|
商標
特許ウォッチ
Twitter
他の特許を見る
10個以上の画像は省略されています。
公開番号
2025150996
公報種別
公開特許公報(A)
公開日
2025-10-09
出願番号
2024052195
出願日
2024-03-27
発明の名称
情報処理システム、情報処理方法
出願人
株式会社サトー
代理人
弁理士法人グローバル・アイピー東京
主分類
G06Q
50/10 20120101AFI20251002BHJP(計算;計数)
要約
【課題】廃棄物の処理を行うときに従来よりも精度良く廃棄物を追跡可能とする。
【解決手段】本発明のある態様は、廃棄物を処理する処理業者によって操作される処理業者端末と、前記処理業者端末と通信可能なサーバと、を含む情報処理システムである。この情報処理システムは、廃棄物に対する処理作業が開始される前に、廃棄物に対する処理作業を識別する作業識別情報と、廃棄物を収容する処理前コンテナを識別するコンテナ識別情報と、を関連付ける第1関連付け部と、廃棄物に対する処理作業が終了した後に、上記作業識別情報と、廃棄物に対する処理作業により生じた生成物を収容する処理後コンテナを識別するコンテナ識別情報と、を関連付ける第2関連付け部と、を備える。
【選択図】図4
特許請求の範囲
【請求項1】
廃棄物を処理する処理業者によって操作される処理業者端末と、前記処理業者端末と通信可能なサーバと、を含む情報処理システムであって、
前記廃棄物に対する処理作業が開始される前に、前記廃棄物に対する処理作業を識別する作業識別情報と、前記廃棄物を収容する処理前コンテナを識別するコンテナ識別情報と、を関連付ける第1関連付け部と、
前記廃棄物に対する処理作業が終了した後に、前記作業識別情報と、前記廃棄物に対する処理作業により生じた生成物を収容する処理後コンテナを識別するコンテナ識別情報と、を関連付ける第2関連付け部と、
を備えた情報処理システム。
続きを表示(約 1,800 文字)
【請求項2】
前記第2関連付け部は、前記処理後コンテナのコンテナ識別情報と、前記生成物の種類および重量のうち少なくともいずれかの情報と、を関連付ける、
請求項1に記載された情報処理システム。
【請求項3】
前記第2関連付け部は、前記処理後コンテナのコンテナ識別情報と、前記生成物のステータスと、を関連付ける、
請求項1に記載された情報処理システム。
【請求項4】
前記処理前コンテナおよび前記処理後コンテナの各々には、コンテナ識別情報を含む情報媒体が付されており、
前記処理業者端末は、前記情報媒体から前記処理前コンテナおよび前記処理後コンテナの各々のコンテナ識別情報を取得する、
請求項1に記載された情報処理システム。
【請求項5】
複数のコンテナの各々を識別するコンテナ識別情報と、前記複数のコンテナのステータスを関連付けるコンテナ管理部を備え、
前記コンテナ管理部は、
前記処理作業を開始するために前記廃棄物が前記処理前コンテナから除去された後に、前記処理前コンテナのステータスをコンテナが利用可能であることを示す情報に更新し、
前記生成物が前記処理後コンテナから除去された後に、前記処理後コンテナのステータスをコンテナが利用可能であることを示す情報に更新する、
請求項1に記載された情報処理システム。
【請求項6】
前記第1関連付け部は、前記処理前コンテナのコンテナ識別情報と、前記廃棄物の属性を示す属性情報と、を関連付け、
前記情報処理システムは、
前記処理作業を識別する作業識別情報が、複数の廃棄物の各々を収容する複数の前記処理前コンテナのコンテナ識別情報に関連付けられる前に、前記複数の廃棄物の各々の属性情報が、前記複数の廃棄物を混合させるための所定の基準を満たすか否かを判定する第1判定部を備えた、
請求項1から5のいずれか一項に記載された情報処理システム。
【請求項7】
前記第1関連付け部は、前記処理前コンテナのコンテナ識別情報と、前記廃棄物を処理する際の基準日に対応付けられ、前記廃棄物の処理を管理するための管理識別情報と、を関連付け、
前記第2関連付け部は、前記廃棄物に対する処理作業が終了した後に、前記処理後コンテナのコンテナ識別情報と、前記管理識別情報と、を関連付け、
前記情報処理システムは、
前記基準日から所定期間経過した後に、前記管理識別情報と関連付けられているコンテナ識別情報に対応するステータスが、前記出荷可能品以外であることを示すか否か判定する第2判定部を備えた、
請求項3に記載された情報処理システム。
【請求項8】
前記第1関連付け部は、前記処理前コンテナのコンテナ識別情報と、前記処理前コンテナの保管場所を示す場所情報と、を関連付け、
前記第2関連付け部は、前記処理後コンテナのコンテナ識別情報と、前記処理後コンテナの保管場所を示す場所情報と、を関連付け、
前記情報処理システムは、
前記基準日から所定期間経過した後に、前記管理識別情報と関連付けられているコンテナ識別情報に対応するステータスが、前記出荷可能品以外であることを示す場合に、当該コンテナ識別情報に対応する保管場所を通知する通知部を備えた、
請求項7に記載された情報処理システム。
【請求項9】
前記廃棄物の処理を管理するための第1管理識別情報を取得する第1取得部と、
前記生成物をさらに処理する場合に当該生成物の処理を管理するための第2管理識別情報を取得する第2取得部と、を備え、
前記第2関連付け部は、前記処理後コンテナのコンテナ識別情報と、前記第1管理識別情報と、前記第2管理識別情報と、を関連付ける、
請求項1から5のいずれか一項に記載された情報処理システム。
【請求項10】
前記生成物が有価物を含む場合に、前記廃棄物の量および前記有価物の量に基づいて、リサイクル率を推定する推定部を備えた、
請求項1から5のいずれか一項に記載された情報処理システム。
(【請求項11】以降は省略されています)
発明の詳細な説明
【技術分野】
【0001】
本発明は、廃棄物の処理に関連する情報処理技術に関する。
続きを表示(約 2,700 文字)
【背景技術】
【0002】
廃棄物処理法によれば、産業廃棄物は自らの責任で廃棄物を適正処理しなければならず、その処理を他人に委託する場合は、マニフェストを利用して、委託した廃棄物が最終処分まで適正に処理されたか確認する義務がある。そのため、従来から、廃棄物の排出から最終処分が終了するまでの一連の処理の工程において廃棄物を追跡(トレース)するシステムが提案されている。
例えば特許文献1に記載される廃棄物管理システムでは、サーバは、廃棄物が排出事業所からの搬出された時点でその廃棄物に対し固有の一次トラッキングIDを割り当て、中間処理においてその廃棄物から1または複数の二次生成物が発生した場合には、個々の二次生成物に対しその種別を示す1または複数の二次トラッキングIDを割り当て、一次トラッキングIDと関連付けて保存する。
【先行技術文献】
【特許文献】
【0003】
特許第4361070号
【発明の概要】
【発明が解決しようとする課題】
【0004】
特許文献1に記載されたシステムでは、排出事業所からの搬出された時点での廃棄物と、中間処理において発生した二次生成物と、に対してそれぞれ識別情報(トラッキングID)を割り当てている。しかし、廃棄物と二次生成物に識別情報を割り当てるだけでは、廃棄物がどのような処理を行う対象物なのか、あるいは、二次生成物がどのような処理により生成された物なのか追跡することが難しい。廃棄物に対して複数の処理工程を経て最終生成物を得る場合には尚更である。
【0005】
そこで、本発明は、廃棄物の処理を行うときに従来よりも精度良く廃棄物を追跡可能とすることを目的とする。
【課題を解決するための手段】
【0006】
本発明のある態様は、廃棄物を処理する処理業者によって操作される処理業者端末と、前記処理業者端末と通信可能なサーバと、を含む情報処理システムであって、
前記廃棄物に対する処理作業が開始される前に、前記廃棄物に対する処理作業を識別する作業識別情報と、前記廃棄物を収容する処理前コンテナを識別するコンテナ識別情報と、を関連付ける第1関連付け部と、
前記廃棄物に対する処理作業が終了した後に、前記作業識別情報と、前記廃棄物に対する処理作業により生じた生成物を収容する処理後コンテナを識別するコンテナ識別情報と、を関連付ける第2関連付け部と、
を備えた情報処理システムである。
【発明の効果】
【0007】
本発明のある態様によれば、廃棄物の処理を行うときに従来よりも精度良く廃棄物を追跡できる。
【図面の簡単な説明】
【0008】
一実施形態の廃棄物管理システムに関連して、廃棄物の処理に関連する作業の一連の流れを説明する図である。
一実施形態の廃棄物管理システムに関連して、廃棄物の処理に関連する作業の一連の流れを説明する図である。
一実施形態の廃棄物管理システムにおいて、コンテナIDを取得する方法を説明する図である。
一実施形態の廃棄物管理システムの概略的なシステム構成を示す図である。
一実施形態の廃棄物管理システムの各部の機能ブロック図である。
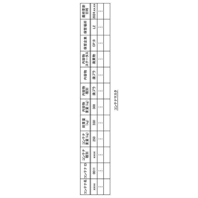
コンテナマスタのデータ構成例を示す図である。
回収作業テーブルと処理作業テーブルのデータ構成例を示す図である。
設置コンテナリスト、回収コンテナリスト、および処理コンテナリストのデータ構成例を示す図である。
処理後保管コンテナリストおよび出荷コンテナリストのデータ構成例を示す図である。
トランザクションデータベースの更新例を示す図である。
トランザクションデータベースの更新例を示す図である。
トランザクションデータベースの更新例を示す図である。
トランザクションデータベースの更新例を示す図である。
トランザクションデータベースの更新例を示す図である。
一実施形態の廃棄物管理システムにおいて、事前準備に対応するシーケンスチャートである。
一実施形態の廃棄物管理システムにおいて、廃棄物引取に対応するシーケンスチャートである。
一実施形態の廃棄物管理システムにおいて、入荷・工場内移動に対応するシーケンスチャートである。
一実施形態の廃棄物管理システムにおいて、廃棄物処理に対応するシーケンスチャートである。
一実施形態の廃棄物管理システムにおいて、出荷に対応するシーケンスチャートである。
処理作業テーブルのデータ構成例を示す図である。
管理用アプリケーションによって表示される画面例を示す図である。
作業用アプリケーションによって表示される画面の遷移例を示す図である。
管理用アプリケーションによって表示される画面の遷移例を示す図である。
作業用アプリケーションによって表示される画面の遷移例を示す図である。
作業用アプリケーションによって表示される画面例を示す図である。
作業用アプリケーションによって表示される画面例を示す図である。
作業用アプリケーションによって表示される画面例を示す図である。
作業用アプリケーションによって表示される画面の遷移例を示す図である。
作業用アプリケーションによって表示される画面例を示す図である。
【発明を実施するための形態】
【0009】
以下に記載する形態は、図面の簡単な説明により説明される図面に限定されるものではない。
【0010】
本発明のある態様の第1の態様は、廃棄物を処理する処理業者によって操作される処理業者端末と、前記処理業者端末と通信可能なサーバと、を含む情報処理システムであって、
前記廃棄物に対する処理作業が開始される前に、前記廃棄物に対する処理作業を識別する作業識別情報と、前記廃棄物を収容する処理前コンテナを識別するコンテナ識別情報と、を関連付ける第1関連付け部と、
前記廃棄物に対する処理作業が終了した後に、前記作業識別情報と、前記廃棄物に対する処理作業により生じた生成物を収容する処理後コンテナを識別するコンテナ識別情報と、を関連付ける第2関連付け部と、
を備えた情報処理システムである。
(【0011】以降は省略されています)
この特許をJ-PlatPat(特許庁公式サイト)で参照する
関連特許
株式会社サトー
プリンタ
12日前
株式会社サトー
衝撃センサ
1か月前
株式会社サトー
衝撃センサ
1か月前
株式会社サトー
識別バンド
10日前
株式会社サトー
弾性体ローラ
2日前
株式会社サトー
弾性体ローラ
2日前
株式会社サトー
プリンタ、方法
15日前
株式会社サトー
情報処理システム、情報処理方法
2日前
株式会社サトー
プリンタ、プリンタの制御方法、プログラム
15日前
株式会社サトー
情報処理システム、情報処理方法、プログラム
1か月前
株式会社サトー
情報処理システム、情報処理方法、プログラム
22日前
株式会社サトー
情報処理システム、情報処理方法、プログラム
22日前
株式会社サトー
情報処理システム、プログラム、情報処理方法
15日前
株式会社サトー
プリンタ、プログラム、プリンタの情報処理方法
15日前
株式会社サトー
プリンタ、プリンタの情報処理方法、プログラム
15日前
株式会社サトー
情報処理装置、情報処理方法、および、プログラム
1日前
株式会社サトー
情報処理装置、情報処理方法、および、プログラム
1日前
株式会社サトー
情報処理装置、情報処理システム、情報処理方法及びプログラム
8日前
株式会社サトー
プリンタ、プリンタの情報処理方法、プログラム、情報処理システム
15日前
株式会社サトー
情報処理装置、情報処理システム、情報処理方法、及び、プログラム
2日前
株式会社サトー
導電パターンを備えた基材、電子デバイス、電磁波シールドフィルムおよび面状発熱体
12日前
株式会社サトー
導電パターンを備えた基材、電子デバイス、電磁波シールドフィルムおよび面状発熱体
12日前
株式会社サトー
導電性膜、導電性基材、電子デバイス、RFタグ、電磁波シールドフィルムおよび面状発熱体
12日前
株式会社サトー
導電性基材の製造方法、電子デバイスの製造方法、および電磁波シールドフィルムの製造方法、面状発熱体の製造方法
12日前
株式会社サトー
導電性基材の製造方法、電子デバイスの製造方法、および電磁波シールドフィルムの製造方法、面状発熱体の製造方法
12日前
株式会社サトー
導電性基材の製造方法、電子デバイスの製造方法、電磁波シールドフィルムの製造方法、および面状発熱体の製造方法
12日前
株式会社サトー
導電性基材の製造方法、電子デバイスの製造方法、電磁波シールドフィルムの製造方法、および面状発熱体の製造方法
12日前
株式会社サトー
導電パターンを備えた基材の製造方法、電子デバイスの製造方法、電磁波シールドフィルムの製造方法、面状発熱体の製造方法および導電パターンを備えた基材
12日前
株式会社サトー
導電パターンを備えた基材の製造方法、電子デバイスの製造方法、電磁波シールドフィルムの製造方法、面状発熱体の製造方法および導電パターンを備えた基材
12日前
株式会社サトー
導電パターンを備えた基材の製造方法、電子デバイスの製造方法、電磁波シールドフィルムの製造方法、面状発熱体の製造方法および導電パターンを備えた基材の製造用の物品
12日前
株式会社サトー
導電パターンを備えた基材の製造方法、電子デバイスの製造方法、電磁波シールドフィルムの製造方法、面状発熱体の製造方法、導電パターンを備えた基材の製造のための中間構造体および導電パターンを備えた基材
12日前
個人
QRコードの彩色
1日前
個人
地球保全システム
10日前
個人
為替ポイント伊達夢貯
1か月前
個人
冷凍食品輸出支援構造
1か月前
個人
残土処理システム
3日前
続きを見る
他の特許を見る