TOP
|
特許
|
意匠
|
商標
特許ウォッチ
Twitter
他の特許を見る
10個以上の画像は省略されています。
公開番号
2025146282
公報種別
公開特許公報(A)
公開日
2025-10-03
出願番号
2024046967
出願日
2024-03-22
発明の名称
情報処理装置、情報処理システム、情報処理方法及びプログラム
出願人
株式会社サトー
代理人
弁理士法人後藤特許事務所
主分類
G06Q
50/10 20120101AFI20250926BHJP(計算;計数)
要約
【課題】ユーザによる物品の継続使用を習慣化させ、この継続使用により二酸化炭素の排出量を削減し、ごみを削減する。
【解決手段】ユーザが使用する物品を識別する物品識別情報とユーザを識別するユーザ識別情報とを対応付けて記憶部に登録する登録部と、物品が使用されたことに応じて読取装置により読み取られた当該物品に係る物品識別情報を読取装置から取得する取得部と、取得部により物品識別情報が取得された場合に、当該物品識別情報に対応する物品の使用に応じて環境に貢献したことを示す環境貢献度情報を生成する生成部と、取得部により取得された物品識別情報に対応するユーザ識別情報に基づいて、環境貢献度情報に対する特典情報をユーザに通知する通知制御部と、を有する、情報処理装置である。
【選択図】図5
特許請求の範囲
【請求項1】
ユーザが使用する物品を識別する物品識別情報と前記ユーザを識別するユーザ識別情報とを対応付けて記憶部に登録する登録部と、
前記物品が使用されたことに応じて読取装置により読み取られた当該物品に係る前記物品識別情報を前記読取装置から取得する取得部と、
前記取得部により前記物品識別情報が取得された場合に、当該物品識別情報に対応する前記物品の使用に応じて環境に貢献したことを示す環境貢献度情報を生成する生成部と、
前記取得部により取得された前記物品識別情報に対応する前記ユーザ識別情報に基づいて、前記環境貢献度情報に対する特典情報を前記ユーザに通知する通知制御部と、を有する、
情報処理装置。
続きを表示(約 1,700 文字)
【請求項2】
請求項1に記載の情報処理装置であって、
前記物品は、飲食物を入れるための容器であり、
前記読取装置は、
前記物品識別情報を読み取る読取部と、前記読取部により読み取られた前記物品識別情報を前記情報処理装置に送信する制御を実行する制御部とを備える通信機器であり、
前記物品を洗浄する洗浄部を備える機器であって、前記洗浄部にセットされた前記容器を洗浄する洗浄機、又は、前記洗浄機の周囲に設置される、
情報処理装置。
【請求項3】
請求項2に記載の情報処理装置であって、
前記制御部は、前記洗浄部に前記容器がセットされ、前記容器の洗浄動作が実行されている間、前記読取部により前記物品識別情報が継続して読み取られたことを条件に、当該容器が洗浄されたと判定し、当該物品識別情報を前記情報処理装置に送信する、
情報処理装置。
【請求項4】
請求項2に記載の情報処理装置であって、
前記生成部は、前記取得部により前記物品識別情報が取得された場合に、当該物品識別情報に対応する前記容器の容量に相当する他の容器の製造時の二酸化炭素の排出量から、当該容器を洗浄する際の消費電力及び水量から推定される洗浄時の二酸化炭素の排出量を減算することで、当該容器の洗浄に係る二酸化炭素削減量を算出し、前記二酸化炭素削減量に基づいて前記環境貢献度情報を生成する、
情報処理装置。
【請求項5】
請求項4に記載の情報処理装置であって、
前記生成部は、前記容器の製造時の二酸化炭素の排出量から、前記二酸化炭素削減量を減算することで、累積の二酸化炭素削減量を算出し、前記累積の二酸化炭素削減量に基づいて前記環境貢献度情報を生成する、
情報処理装置。
【請求項6】
請求項1に記載の情報処理装置であって、
前記生成部は、前記取得部による前記物品識別情報の取得からの経過時間が時間閾値以上となったタイミング以降に、前記取得部により当該物品識別情報が取得された場合に当該物品識別情報に対応する前記物品の使用回数を増加させる、
情報処理装置。
【請求項7】
請求項1から6の何れかに記載の情報処理装置であって、
前記生成部は、前記取得部により前記物品識別情報が取得された回数を前記物品の使用回数として含む前記環境貢献度情報を生成し、
前記通知制御部は、前記使用回数が回数閾値を超えた場合に前記特典情報を前記ユーザに付与する、
情報処理装置。
【請求項8】
請求項7に記載の情報処理装置であって、
複数の前記回数閾値と、複数の前記回数閾値に応じた前記特典情報の種類との関係が予め設定される、
情報処理装置。
【請求項9】
請求項7に記載の情報処理装置であって、
前記登録部は、複数の前記ユーザのそれぞれについて前記物品識別情報と前記ユーザ識別情報とを前記ユーザ毎に対応付けて前記記憶部に登録し、
前記生成部は、前記環境貢献度情報を前記ユーザ毎に生成し、
前記通知制御部は、前記ユーザ毎に生成された前記環境貢献度情報に含まれる前記使用回数の合計値が前記回数閾値を超えた場合に前記特典情報を複数の前記ユーザに付与する、
情報処理装置。
【請求項10】
請求項1から6の何れかに記載の情報処理装置であって、
前記登録部は、前記物品識別情報及び前記ユーザ識別情報に対応付けて当該物品識別情報に対応する前記物品の使用状況に関する使用情報を前記記憶部に登録し、
前記生成部は、前記取得部により前記物品識別情報が取得された場合に、前記記憶部に登録されている当該物品識別情報に対応する前記使用情報を更新し、当該更新された前記使用情報に基づいて前記環境貢献度情報を生成する、
情報処理装置。
(【請求項11】以降は省略されています)
発明の詳細な説明
【技術分野】
【0001】
本発明は、ユーザが使用する物品に関する情報を扱うことが可能な情報処理装置、情報処理システム、情報処理方法及びプログラムに関する。
続きを表示(約 1,900 文字)
【背景技術】
【0002】
従来、ユーザによる物品の使用を促すための技術が提案されている。例えば、個人識別コードを付した飲料用カップが飲料自動販売機にセットされると、その個人識別コードを読み取り、個人毎の販売数が予め決められた値に達すると、その回の販売を特典付きの販売とする技術が提案されている(例えば、特許文献1参照)。
【先行技術文献】
【特許文献】
【0003】
特開2000-076539号公報
【発明の概要】
【発明が解決しようとする課題】
【0004】
上述した従来技術では、飲料自動販売機で飲料用カップを使用して飲料を購入することに応じて特典を受けられるため、各個人のカップの使用を促すことが可能である。ここで、近年では、マイボトルと称される飲料容器が普及している。ユーザは、マイボトルに所望の飲料を入れて持ち歩くことが可能である。しかし、マイボトルの利用後には洗浄等が煩雑であるため、自宅等でマイボトルに所望の飲料を入れて使用した後には、そのマイボトルを洗浄せずに、マイボトル以外の他の容器(例えば、ペットボトル、樹脂製のカップ)を使用することが多いと考えられる。このように、マイボトル以外の他の容器の使用が増加すると、他の容器の製造時の二酸化炭素の排出量が増加し、他の容器を廃棄する際のごみが増加する。
【0005】
ここで、近年では、マイボトルを容易に洗浄することが可能な洗浄機が提案されている。そこで、このような洗浄機を利用して、マイボトルの継続使用を習慣化させ、この継続使用により二酸化炭素の排出量を削減し、ごみを削減することが重要である。また、マイボトル以外の他の物品についても同様に、物品の継続使用を習慣化させ、この継続使用により二酸化炭素の排出量を削減し、ごみを削減することが重要である。
【0006】
本発明は、ユーザによる物品の継続使用を習慣化させ、この継続使用により二酸化炭素の排出量を削減し、ごみを削減することを目的とする。
【課題を解決するための手段】
【0007】
本発明のある態様は、ユーザが使用する物品を識別する物品識別情報とユーザを識別するユーザ識別情報とを対応付けて記憶部に登録する登録部と、物品が使用されたことに応じて読取装置により読み取られた当該物品に係る物品識別情報を読取装置から取得する取得部と、取得部により物品識別情報が取得された場合に、当該物品識別情報に対応する物品の使用に応じて環境に貢献したことを示す環境貢献度情報を生成する生成部と、取得部により取得された物品識別情報に対応するユーザ識別情報に基づいて、環境貢献度情報に対する特典情報をユーザに通知する通知制御部とを有する情報処理装置である。
【発明の効果】
【0008】
本発明のある態様によれば、ユーザによる物品の継続使用を習慣化させ、この継続使用により二酸化炭素の排出量を削減し、ごみを削減することができる。
【図面の簡単な説明】
【0009】
図1は、飲料容器の蓋部の外観構成例を示す上面図である。
図2は、飲料容器の外観構成例を示す側面図である。
図3は、洗浄機の外観構成例を示す図である。
図4は、飲料容器がセットされた洗浄機の外観構成例を示す図である。
図5は、情報処理システムのシステム構成例を示すブロック図である。
図6は、使用情報DBに格納されている各情報を模式的に示す図である。
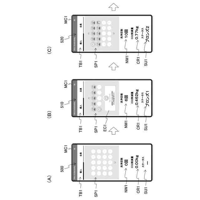
図7は、電子機器の表示部の遷移例を示す図である。
図8は、電子機器の表示部の遷移例を示す図である。
図9は、電子機器の表示部の遷移例を示す図である。
図10は、電子機器の表示部の遷移例を示す図である。
図11は、通信機器における物品識別情報送信処理例を示すフローチャートである。
図12は、サーバにおける特典情報付与処理例を示すフローチャートである。
図13は、情報処理システムのシステム構成例を示すブロック図である。
図14は、洗浄機における洗浄回数カウント処理例を示すフローチャートである。
図15は、サーバにおける特典情報付与処理例を示すフローチャートである。
【発明を実施するための形態】
【0010】
以下に記載する形態は、図面の簡単な説明により説明される図面に限定されるものではない。
(【0011】以降は省略されています)
この特許をJ-PlatPat(特許庁公式サイト)で参照する
関連特許
株式会社サトー
プリンタ
7日前
株式会社サトー
識別バンド
5日前
株式会社サトー
衝撃センサ
26日前
株式会社サトー
衝撃センサ
26日前
株式会社サトー
衝撃センサ
26日前
株式会社サトー
プリンタ、方法
10日前
株式会社サトー
プリンタ、プリンタの制御方法、プログラム
10日前
株式会社サトー
情報処理システム、情報処理方法、プログラム
25日前
株式会社サトー
情報処理システム、情報処理方法、プログラム
17日前
株式会社サトー
情報処理システム、情報処理方法、プログラム
17日前
株式会社サトー
情報処理システム、プログラム、情報処理方法
10日前
株式会社サトー
プリンタ、プログラム、プリンタの情報処理方法
10日前
株式会社サトー
プリンタ、プリンタの情報処理方法、プログラム
10日前
株式会社サトー
プリンタ
1か月前
株式会社サトー
プリンタ
1か月前
株式会社サトー
情報処理装置、情報処理システム、情報処理方法及びプログラム
3日前
株式会社サトー
プリンタ、プリンタの情報処理方法、プログラム、情報処理システム
10日前
株式会社サトー
導電パターンを備えた基材、電子デバイス、電磁波シールドフィルムおよび面状発熱体
7日前
株式会社サトー
導電パターンを備えた基材、電子デバイス、電磁波シールドフィルムおよび面状発熱体
7日前
株式会社サトー
導電性膜、導電性基材、電子デバイス、RFタグ、電磁波シールドフィルムおよび面状発熱体
7日前
株式会社サトー
RFIDラベル及びRFIDラベルの使用方法
1か月前
株式会社サトー
スクリーンメッシュ、スクリーンマスク、導電パターンの製造方法、および導電性基材の製造方法
1か月前
株式会社サトー
スクリーンメッシュ、スクリーンマスク、導電パターンの製造方法、および導電性基材の製造方法
1か月前
株式会社サトー
導電性基材の製造方法、電子デバイスの製造方法、および電磁波シールドフィルムの製造方法、面状発熱体の製造方法
7日前
株式会社サトー
導電性基材の製造方法、電子デバイスの製造方法、および電磁波シールドフィルムの製造方法、面状発熱体の製造方法
7日前
株式会社サトー
導電性基材の製造方法、電子デバイスの製造方法、電磁波シールドフィルムの製造方法、および面状発熱体の製造方法
7日前
株式会社サトー
導電性基材の製造方法、電子デバイスの製造方法、電磁波シールドフィルムの製造方法、および面状発熱体の製造方法
7日前
株式会社サトー
導電パターンを備えた基材の製造方法、電子デバイスの製造方法、電磁波シールドフィルムの製造方法、面状発熱体の製造方法および導電パターンを備えた基材
7日前
株式会社サトー
導電パターンを備えた基材の製造方法、電子デバイスの製造方法、電磁波シールドフィルムの製造方法、面状発熱体の製造方法および導電パターンを備えた基材
7日前
株式会社サトー
導電パターンを備えた基材の製造方法、電子デバイスの製造方法、電磁波シールドフィルムの製造方法、面状発熱体の製造方法および導電パターンを備えた基材の製造用の物品
7日前
株式会社サトー
導電パターンを備えた基材の製造方法、電子デバイスの製造方法、電磁波シールドフィルムの製造方法、面状発熱体の製造方法、導電パターンを備えた基材の製造のための中間構造体および導電パターンを備えた基材
7日前
個人
工程設計支援装置
1か月前
個人
フラワーコートA
2か月前
個人
地球保全システム
5日前
個人
介護情報提供システム
2か月前
個人
為替ポイント伊達夢貯
1か月前
続きを見る
他の特許を見る