TOP
|
特許
|
意匠
|
商標
特許ウォッチ
Twitter
他の特許を見る
10個以上の画像は省略されています。
公開番号
2025141565
公報種別
公開特許公報(A)
公開日
2025-09-29
出願番号
2024041571
出願日
2024-03-15
発明の名称
プリンタ
出願人
株式会社サトー
代理人
弁理士法人後藤特許事務所
主分類
B41J
29/00 20060101AFI20250919BHJP(印刷;線画機;タイプライター;スタンプ)
要約
【課題】電源ケーブルを引っ張った際に、プラグがジャックから簡単に抜けるようにする。
【解決手段】プリンタは、電源ケーブルのプラグが接続されるジャックと、ジャックの軸方向に突出して設けられ、ジャックに接続されたプラグの倒れを抑制するプラグガイドと、を備え、プラグガイドは、軸方向の高さが変化する傾斜部を有する。
【選択図】図7
特許請求の範囲
【請求項1】
電源ケーブルのプラグが接続されるジャックと、
前記ジャックの軸方向に突出して設けられ、前記ジャックに接続された前記プラグの倒れを抑制するプラグガイドと、
を備え、
前記プラグガイドは、前記軸方向の高さが変化する傾斜部を有する、
プリンタ。
続きを表示(約 940 文字)
【請求項2】
請求項1に記載のプリンタであって、
前記プラグガイドは、前記ジャックを囲む円筒状に形成されている、
プリンタ。
【請求項3】
請求項1に記載のプリンタであって、
前記傾斜部は、前記プリンタを底面の垂線方向から見た場合に、前記ジャックから最も近い前記プリンタの角部側の高さが高い、
プリンタ。
【請求項4】
請求項1に記載のプリンタであって、
前記傾斜部は、前記プリンタを底面と平行に見た場合に、前記ジャックを挟んで前記底面とは反対側に位置する、
プリンタ。
【請求項5】
請求項2に記載のプリンタであって、
前記プラグガイドは、前記傾斜部として、第1傾斜部と第2傾斜部とを有し、
前記第1傾斜部は、前記プラグガイドの周方向において、時計回り方向に向かって高さが高くなり、
前記第2傾斜部は、前記プラグガイドの前記周方向において、反時計回り方向に向かって高さが高くなる、
プリンタ。
【請求項6】
請求項1又は2に記載のプリンタであって、
前記プラグガイドは、インターフェースカバーの一部である、
プリンタ。
【請求項7】
請求項6に記載のプリンタであって、
前記インターフェースカバーは、前記プリンタから着脱可能である、
プリンタ。
【請求項8】
請求項6に記載のプリンタであって、
前記インターフェースカバーは、
前記プラグガイドに嵌合するキャップと、
前記プラグガイドの側面から延出し、前記プラグガイドと前記キャップとを接続する接続部と、
を有し、
前記接続部は、前記プリンタを底面の垂線方向から見た場合に、前記ジャックから最も近い前記プリンタの角部側の前記側面から延出する、
プリンタ。
【請求項9】
請求項1に記載のプリンタであって、
前記ジャック及び前記プラグガイドは、前記プリンタを底面の垂線方向から見た場合に、前記プリンタの角部近傍に位置する、
プリンタ。
発明の詳細な説明
【技術分野】
【0001】
本発明は、プリンタに関する。
続きを表示(約 1,200 文字)
【背景技術】
【0002】
特許文献1には、過大な引張力が作用したときでも簡単に抜けてしまわないプラグを備えた電子機器が開示されている。
【先行技術文献】
【特許文献】
【0003】
特開2016-157591号公報
【発明の概要】
【発明が解決しようとする課題】
【0004】
上記の技術とは反対に、電源ケーブルを引っ張った際にプラグがジャックから簡単に抜けるようにしたいという要望がある。電源ケーブルを引っ張った際にプラグがジャックから簡単に抜けることで、電源ケーブルやジャックに過度の外力が加わることを防止できる。よって、電源ケーブルやジャックを保護することができる。
【0005】
本発明は、このような技術的課題に鑑みてなされたものであり、電源ケーブルを引っ張った際に、プラグがジャックから簡単に抜けるようにすることを目的とする。
【課題を解決するための手段】
【0006】
本発明のある態様によれば、電源ケーブルのプラグが接続されるジャックと、前記ジャックの軸方向に突出して設けられ、前記ジャックに接続された前記プラグの倒れを抑制するプラグガイドと、を備え、前記プラグガイドは、前記軸方向の高さが変化する傾斜部を有する、プリンタが提供される。
【発明の効果】
【0007】
上記態様によれば、電源ケーブルを引っ張った際にプラグが軸回りに回転して傾斜部に乗り上げると、プラグを回転させる力がプラグをジャックから引き抜く方向に作用する。よって、プラグがジャックから簡単に抜けるようになる。
【図面の簡単な説明】
【0008】
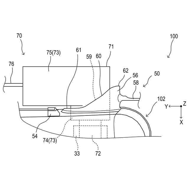
図1は、本発明の実施形態に係るプリンタの斜視図である。
図2は、プリンタの平面図である。
図3は、プリンタの左側面図である。
図4は、インターフェースカバーの斜視図である。
図5は、図4の矢視Vである。
図6は、ジャックに接続したプラグをプリンタの左側面側から見た図である。
図7は、ジャックに接続したプラグをプリンタの底面側から見た図である。
図8は、ジャックに接続したプラグが軸回りに回転する様子をプリンタの左側面側から見た図である。
図9は、ジャックに接続したプラグが軸回りに回転する様子をプリンタの底面側から見た図である。
【発明を実施するための形態】
【0009】
以下に記載する形態は、図面の簡単な説明により説明される図面に限定されるものではない。
【0010】
(1)本発明のある態様は、電源ケーブルのプラグが接続されるジャックと、前記ジャックの軸方向に突出して設けられ、前記ジャックに接続された前記プラグの倒れを抑制するプラグガイドと、を備え、前記プラグガイドは、前記軸方向の高さが変化する傾斜部を有する、プリンタである。
(【0011】以降は省略されています)
この特許をJ-PlatPat(特許庁公式サイト)で参照する
関連特許
株式会社サトー
プリンタ
2か月前
株式会社サトー
プリンタ
3日前
株式会社サトー
識別バンド
1日前
株式会社サトー
衝撃センサ
2か月前
株式会社サトー
衝撃センサ
22日前
株式会社サトー
衝撃センサ
22日前
株式会社サトー
衝撃センサ
22日前
株式会社サトー
プリンタ、方法
6日前
株式会社サトー
RFIDインレイ
2か月前
株式会社サトー
プリンタ、プログラム、情報処理方法
2か月前
株式会社サトー
プリンタ、プリンタの制御方法、プログラム
6日前
株式会社サトー
情報処理システム、情報処理方法、プログラム
13日前
株式会社サトー
情報処理システム、プログラム、情報処理方法
6日前
株式会社サトー
情報処理システム、情報処理方法、プログラム
13日前
株式会社サトー
情報処理システム、情報処理方法、プログラム
21日前
株式会社サトー
プリンタ、プリンタの情報処理方法、プログラム
6日前
株式会社サトー
プリンタ、プログラム、プリンタの情報処理方法
6日前
株式会社サトー
プリンタ
1か月前
株式会社サトー
RFID媒体、RFID媒体の使用方法及び検出システム
1か月前
株式会社サトー
プリンタ
1か月前
株式会社サトー
プリンタ
1か月前
株式会社サトー
情報処理システム、情報処理装置、プログラム、情報処理方法
2か月前
株式会社サトー
プリンタ、プリンタの情報処理方法、プログラム、情報処理システム
6日前
株式会社サトー
導電パターンを備えた基材、電子デバイス、電磁波シールドフィルムおよび面状発熱体
3日前
株式会社サトー
導電パターンを備えた基材、電子デバイス、電磁波シールドフィルムおよび面状発熱体
3日前
株式会社サトー
導電性膜、導電性基材、電子デバイス、RFタグ、電磁波シールドフィルムおよび面状発熱体
3日前
株式会社サトー
RFIDラベル及びRFIDラベルの使用方法
1か月前
株式会社サトー
スクリーンメッシュ、スクリーンマスク、導電パターンの製造方法、および導電性基材の製造方法
1か月前
株式会社サトー
スクリーンメッシュ、スクリーンマスク、導電パターンの製造方法、および導電性基材の製造方法
1か月前
株式会社サトー
ラベル貼付装置、ラベル貼付方法及びプログラム
1か月前
株式会社サトー
導電性基材の製造方法、電子デバイスの製造方法、電磁波シールドフィルムの製造方法、および面状発熱体の製造方法
3日前
株式会社サトー
導電性基材の製造方法、電子デバイスの製造方法、電磁波シールドフィルムの製造方法、および面状発熱体の製造方法
3日前
株式会社サトー
導電性基材の製造方法、電子デバイスの製造方法、および電磁波シールドフィルムの製造方法、面状発熱体の製造方法
3日前
株式会社サトー
導電性基材の製造方法、電子デバイスの製造方法、および電磁波シールドフィルムの製造方法、面状発熱体の製造方法
3日前
株式会社サトー
導電パターンを備えた基材の製造方法、電子デバイスの製造方法、電磁波シールドフィルムの製造方法、面状発熱体の製造方法および導電パターンを備えた基材
3日前
株式会社サトー
導電パターンを備えた基材の製造方法、電子デバイスの製造方法、電磁波シールドフィルムの製造方法、面状発熱体の製造方法および導電パターンを備えた基材
3日前
続きを見る
他の特許を見る