TOP
|
特許
|
意匠
|
商標
特許ウォッチ
Twitter
他の特許を見る
10個以上の画像は省略されています。
公開番号
2025139548
公報種別
公開特許公報(A)
公開日
2025-09-26
出願番号
2025012630
出願日
2025-01-29
発明の名称
プリンタ、方法
出願人
株式会社サトー
代理人
弁理士法人グローバル・アイピー東京
主分類
B41J
11/70 20060101AFI20250918BHJP(印刷;線画機;タイプライター;スタンプ)
要約
【課題】切断部の劣化状態の判断精度を向上させること。
【解決手段】印字媒体の搬送経路上に設けられた切断部であって、第1の刃と、第1の位置と第2の位置の間を移動可能な第2の刃とを有し、前記第2の刃が前記第1の位置から前記第2の位置に移動する間に印字媒体を前記第2の刃とで挟んで切断する切断部と、前記第2の刃が前記第1の位置から前記第2の位置に移動するまでの第1の時間と、前記第2の刃が前記第2の位置から前記第1の位置に移動するまでの第2の時間とを計測する計測部と、前記第1の時間と第1の閾値とを比較した第1の比較結果または前記第2の時間と第2の閾値とを比較した第2の比較結果に基づいて前記切断部の状態を判断する判断部とを有する、プリンタ。
【選択図】図10
特許請求の範囲
【請求項1】
印字媒体の搬送経路上に設けられた切断部であって、第1の刃と、第1の位置と第2の位置の間を移動可能な第2の刃とを有し、前記第2の刃が前記第1の位置から前記第2の位置に移動する間に印字媒体を前記第1の刃とで挟んで切断する切断部と、
前記第2の刃が前記第1の位置から前記第2の位置に移動するまでの第1の時間と、前記第2の刃が前記第2の位置から前記第1の位置に移動するまでの第2の時間とを計測する計測部と、
前記第1の時間と第1の閾値とを比較した第1の比較結果または前記第2の時間と第2の閾値とを比較した第2の比較結果に基づいて前記切断部の状態を判断する判断部と、
を有する、プリンタ。
続きを表示(約 1,300 文字)
【請求項2】
前記判断部は、前記第1の時間が前記第1の閾値よりも大きい場合及び前記第2の時間が前記第2の閾値よりも大きい場合の少なくともいずれかの場合に、アラートを通知する、請求項1に記載のプリンタ。
【請求項3】
前記判断部は、前記第1の時間が前記第1の閾値よりも大きい場合に第1のアラートを通知し、
前記第1のアラートは、前記切断部の摩耗に関する情報を含む、請求項2に記載のプリンタ。
【請求項4】
前記判断部は、前記第2の時間が前記第2の閾値よりも大きい場合に第2のアラートを通知し、
前記第2のアラートは、前記切断部に対する異物付着に関する情報を含む、請求項2に記載のプリンタ。
【請求項5】
前記判断部は、前記第1の時間が前記第1の閾値よりも大きくて且つ前記第2の時間が前記第2の閾値よりも大きい場合に第3のアラートを通知し、
前記第3のアラートは、前記切断部の故障に関する情報を含む、請求項2に記載のプリンタ。
【請求項6】
表示部を有し、
前記判断部は、前記アラートを前記表示部に表示させることで通知する、請求項2に記載のプリンタ。
【請求項7】
前記第2の刃の位置が前記第1の位置である場合に、前記第2の刃の位置が前記第1の位置でない場合とは異なる信号を出力する第1の検知部と、
前記第2の刃の位置が前記第2の位置である場合に、前記第2の刃の位置が前記第2の位置でない場合とは異なる信号を出力する第2の検知部と、
をさらに有し、
前記計測部は、前記第1の検知部及び前記第2の検知部の各々から出力される信号に基づいて、前記第1の時間及び前記第2の時間を計測する、請求項1に記載のプリンタ。
【請求項8】
複数の印字媒体の種類と、前記複数の印字媒体の種類毎に固有の前記第1の閾値及び前記第2の閾値と、が関連付けられて記録されているデータベースにアクセス可能であって、
印字媒体を収容する収容部と、
前記収容部に収容される印字媒体の種類を示す媒体情報を取得する取得部と、
を有し、
前記判断部は、前記データベースを参照し、前記取得部によって取得された媒体情報によって示される印字媒体に関連付けられた前記第1の閾値と前記第2の閾値とを特定する、請求項1に記載のプリンタ。
【請求項9】
第1の刃及び第2の刃の複数の組合せと、夫々の前記組合せ毎に固有の前記第1の閾値及び前記第2の閾値と、が関連付けられて記録されているデータベースにアクセス可能であって、
前記切断部の有する前記第1の刃及び前記第2の刃の組合せを示す組合せ情報を取得する取得部を有し、
前記判断部は、前記データベースを参照し、前記取得部によって取得された組合せ情報によって示される第1の刃及び第2の刃の組合せに関連付けられた前記第1の閾値と前記第2の閾値を特定する、請求項1に記載のプリンタ。
【請求項10】
前記第1の刃は、所定の位置で固定された状態となるように設けられる、請求項1に記載のプリンタ。
(【請求項11】以降は省略されています)
発明の詳細な説明
【技術分野】
【0001】
本発明は、プリンタ及び方法に関する。
続きを表示(約 2,000 文字)
【背景技術】
【0002】
固定刃及び可動刃を含む切断部を有するプリンタにおいては、固定刃及び可動刃の汚損または破損と、駆動機構及び駆動モータの不具合とを含む複数の原因によって切断部が劣化する。特に、プリンタの印字媒体が台紙無しラベルである場合、ラベルの粘着剤の、固定刃及び/または可動刃への付着が切断部の劣化の原因に含まれる。
特許文献1に記載されるように、固定刃と、切断位置及び開放位置の間を駆動機構及び駆動モータで往復動する可動刃とを備え、可動刃が開放位置及び切断位置を一往復したときに要した往復時間を計測して、計測した往復時間と閾値とを比較し、計測した往復時間が閾値を超えたときに、固定刃及び可動刃のクリーニング時期である、と判断するプリンタが知られている。
【先行技術文献】
【特許文献】
【0003】
特開2018-183906号公報
【発明の概要】
【発明が解決しようとする課題】
【0004】
しかしながら、特許文献1のように、切断部の劣化を可動刃の往復時間で判断する場合、往動の時間のみが増加したのか、それとも復動の時間のみが増加したのか、あるいは往動及び復動の両者の時間が増加したのか、の何れに該当するのかを判断できない。そのため、切断部の劣化を可動刃の往復時間で判断する場合、往復時間が閾値を超えたときに、切断部の劣化を引き起こした原因を特定する必要があるので、プリンタのメンテナンス作業の効率が悪い。
【0005】
本発明は、切断部の劣化状態の判断精度を向上させることを目的とする。
【課題を解決するための手段】
【0006】
本発明のある態様は、印字媒体の搬送経路上に設けられた切断部であって、第1の刃と、第1の位置と第2の位置の間を移動可能な第2の刃とを有し、前記第2の刃が前記第1の位置から前記第2の位置に移動する間に印字媒体を前記第1の刃とで挟んで切断する切断部と、
前記第2の刃が前記第1の位置から前記第2の位置に移動するまでの第1の時間と、前記第2の刃が前記第2の位置から前記第1の位置に移動するまでの第2の時間とを計測する計測部と、
前記第1の時間と第1の閾値とを比較した第1の比較結果または前記第2の時間と第2の閾値とを比較した第2の比較結果に基づいて前記切断部の状態を判断する判断部と、
を有する、プリンタである。
【発明の効果】
【0007】
本発明のある態様によれば、切断部の劣化状態の判断精度を向上させることができる。
【図面の簡単な説明】
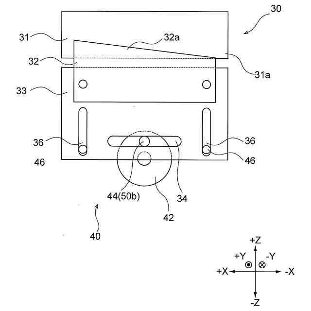
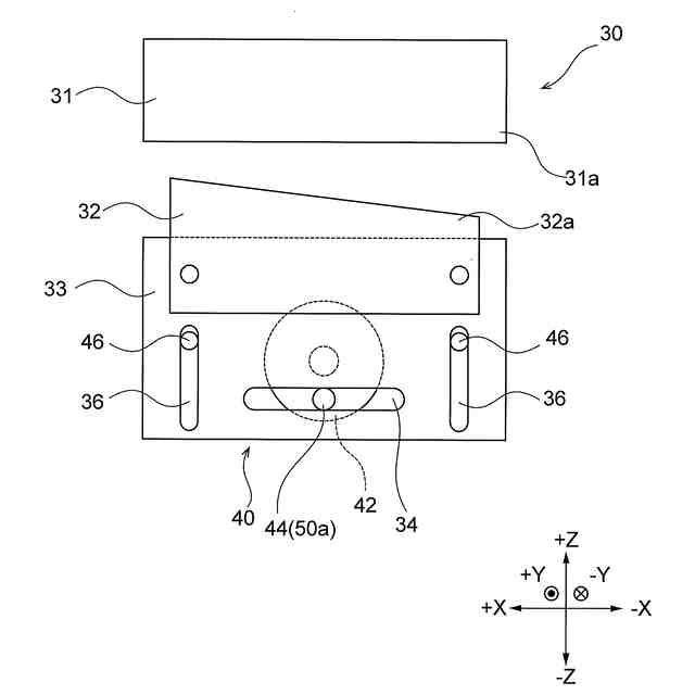
【0008】
実施形態に係るプリンタの斜視図である。
実施形態に係るプリンタの内部構造を示す概略配置図である。
実施形態に係るプリンタのブロック図である。
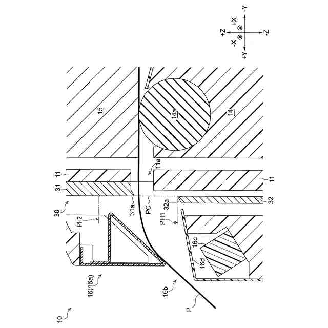
実施形態に係る可動刃の位置が第1の位置であるときの、プリンタの排出装置周りの側面断面図である。
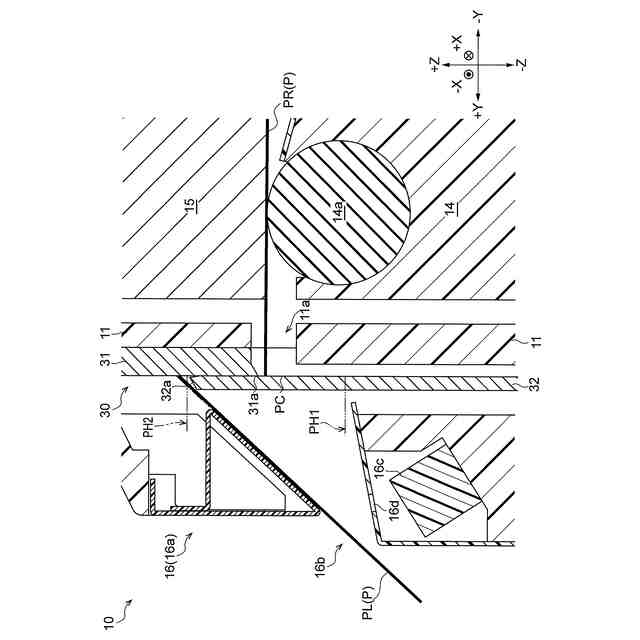
実施形態に係る可動刃が第1の位置から第2の位置に移動したときの、プリンタの排出装置周りの側面断面図である。
実施形態に係る可動刃が第2の位置から第1の位置に移動したときの、プリンタの排出装置周りの側面断面図である。
実施形態に係る可動刃の位置が第1の位置であるときの、切断部周りの構成を示す正面図である。
実施形態に係る可動刃の位置が第2の位置であるときの、切断部周りの構成を示す正面図である。
実施形態に係るデータベースの内容を示すテーブル図である。
実施形態に係るプリンタの動作を示すフローチャートである。
実施形態に係る判断部の動作の詳細を示すフローチャートである。
実施形態に係る切断部の変形例の主要な構成を示す斜視図である。
【発明を実施するための形態】
【0009】
以下に記載する形態は、図面の簡単な説明により説明される図面に限定されるものではない。
【0010】
本発明のある態様の第1の態様は、印字媒体の搬送経路上に設けられた切断部であって、第1の刃と、第1の位置と第2の位置の間を移動可能な第2の刃と、を有し、前記第2の刃が前記第1の位置から前記第2の位置に移動する間に印字媒体を前記第1の刃とで挟んで切断する切断部と、
前記第2の刃が前記第1の位置から前記第2の位置に移動するまでの第1の時間と、前記第2の刃が前記第2の位置から前記第1の位置に移動するまでの第2の時間と、を計測する計測部と、
前記第1の時間と第1の閾値とを比較した第1の比較結果または前記第2の時間と第2の閾値とを比較した第2の比較結果に基づいて前記切断部の状態を判断する判断部と、
を有する、プリンタである。
(【0011】以降は省略されています)
この特許をJ-PlatPat(特許庁公式サイト)で参照する
関連特許
株式会社サトー
プリンタ
6日前
株式会社サトー
識別バンド
4日前
株式会社サトー
衝撃センサ
25日前
株式会社サトー
衝撃センサ
25日前
株式会社サトー
衝撃センサ
25日前
株式会社サトー
プリンタ、方法
9日前
株式会社サトー
プリンタ、プリンタの制御方法、プログラム
9日前
株式会社サトー
情報処理システム、情報処理方法、プログラム
24日前
株式会社サトー
情報処理システム、情報処理方法、プログラム
16日前
株式会社サトー
情報処理システム、情報処理方法、プログラム
16日前
株式会社サトー
情報処理システム、プログラム、情報処理方法
9日前
株式会社サトー
プリンタ、プログラム、プリンタの情報処理方法
9日前
株式会社サトー
プリンタ、プリンタの情報処理方法、プログラム
9日前
株式会社サトー
プリンタ
1か月前
株式会社サトー
プリンタ
1か月前
株式会社サトー
情報処理装置、情報処理システム、情報処理方法及びプログラム
2日前
株式会社サトー
プリンタ、プリンタの情報処理方法、プログラム、情報処理システム
9日前
株式会社サトー
導電パターンを備えた基材、電子デバイス、電磁波シールドフィルムおよび面状発熱体
6日前
株式会社サトー
導電パターンを備えた基材、電子デバイス、電磁波シールドフィルムおよび面状発熱体
6日前
株式会社サトー
導電性膜、導電性基材、電子デバイス、RFタグ、電磁波シールドフィルムおよび面状発熱体
6日前
株式会社サトー
RFIDラベル及びRFIDラベルの使用方法
1か月前
株式会社サトー
スクリーンメッシュ、スクリーンマスク、導電パターンの製造方法、および導電性基材の製造方法
1か月前
株式会社サトー
スクリーンメッシュ、スクリーンマスク、導電パターンの製造方法、および導電性基材の製造方法
1か月前
株式会社サトー
導電性基材の製造方法、電子デバイスの製造方法、および電磁波シールドフィルムの製造方法、面状発熱体の製造方法
6日前
株式会社サトー
導電性基材の製造方法、電子デバイスの製造方法、および電磁波シールドフィルムの製造方法、面状発熱体の製造方法
6日前
株式会社サトー
導電性基材の製造方法、電子デバイスの製造方法、電磁波シールドフィルムの製造方法、および面状発熱体の製造方法
6日前
株式会社サトー
導電性基材の製造方法、電子デバイスの製造方法、電磁波シールドフィルムの製造方法、および面状発熱体の製造方法
6日前
株式会社サトー
導電パターンを備えた基材の製造方法、電子デバイスの製造方法、電磁波シールドフィルムの製造方法、面状発熱体の製造方法および導電パターンを備えた基材
6日前
株式会社サトー
導電パターンを備えた基材の製造方法、電子デバイスの製造方法、電磁波シールドフィルムの製造方法、面状発熱体の製造方法および導電パターンを備えた基材
6日前
株式会社サトー
導電パターンを備えた基材の製造方法、電子デバイスの製造方法、電磁波シールドフィルムの製造方法、面状発熱体の製造方法および導電パターンを備えた基材の製造用の物品
6日前
株式会社サトー
導電パターンを備えた基材の製造方法、電子デバイスの製造方法、電磁波シールドフィルムの製造方法、面状発熱体の製造方法、導電パターンを備えた基材の製造のための中間構造体および導電パターンを備えた基材
6日前
個人
箔熱転写装置
25日前
シヤチハタ株式会社
印判
4か月前
東レ株式会社
凸版印刷版原版
9か月前
シヤチハタ株式会社
反転式印判
8か月前
三菱製紙株式会社
感熱記録材料
10か月前
続きを見る
他の特許を見る