TOP
|
特許
|
意匠
|
商標
特許ウォッチ
Twitter
他の特許を見る
10個以上の画像は省略されています。
公開番号
2025149793
公報種別
公開特許公報(A)
公開日
2025-10-08
出願番号
2024140604
出願日
2024-08-22
発明の名称
端末、無線通信方法及び基地局
出願人
株式会社NTTドコモ
代理人
インフォート弁理士法人
主分類
H04W
24/10 20090101AFI20251001BHJP(電気通信技術)
要約
【課題】通信品質/スループットを向上させること。
【解決手段】本開示の一態様に係る端末は、端末によって開始されるビーム報告(UEIBR)をトリガする特定のイベントの設定を受信する受信部と、前記設定に基づいて前記UEIBRの送信を制御する制御部と、を有し、前記特定のイベントは、少なくとも1つの新規ビームの品質がM番目に品質が悪いアクティベートされた送信設定指示(TCI)状態から導出される参照信号(RS)よりも閾値を超えて良くなることである。
【選択図】図7
特許請求の範囲
【請求項1】
端末によって開始されるビーム報告(UEIBR)をトリガする特定のイベントの設定を受信する受信部と、
前記設定に基づいて前記UEIBRの送信を制御する制御部と、を有し、
前記特定のイベントは、少なくとも1つの新規ビームの品質がM番目に品質が悪いアクティベートされた送信設定指示(TCI)状態から導出される参照信号(RS)よりも閾値を超えて良くなることである、端末。
続きを表示(約 660 文字)
【請求項2】
前記制御部は、M番目以下の最も品質が悪いアクティベートされたTCI状態から導出される1つ以上のRSを現在のビームとして報告に含める、請求項1に記載の端末。
【請求項3】
前記制御部は、M番目以上の最も品質が悪いアクティベートされたTCI状態から導出される1つ以上のRSを報告に含める、請求項1に記載の端末。
【請求項4】
前記制御部は、更新すべきRS又はTCI状態を識別する情報を報告に含める、請求項1に記載の端末。
【請求項5】
端末によって開始されるビーム報告(UEIBR)をトリガする特定のイベントの設定を受信するステップと、
前記設定に基づいて前記UEIBRの送信を制御するステップと、を有し、
前記特定のイベントは、少なくとも1つの新規ビームの品質がM番目に品質が悪いアクティベートされた送信設定指示(TCI)状態から導出される参照信号(RS)よりも閾値を超えて良くなることである、端末の無線通信方法。
【請求項6】
端末によって開始されるビーム報告(UEIBR)をトリガする特定のイベントの設定を送信する送信部と、
前記設定に基づいて端末から送信される前記UEIBRの受信を制御する制御部と、を有し、
前記特定のイベントは、少なくとも1つの新規ビームの品質がM番目に品質が悪いアクティベートされた送信設定指示(TCI)状態から導出される参照信号(RS)よりも閾値を超えて良くなることである、基地局。
発明の詳細な説明
【技術分野】
【0001】
本開示は、次世代移動通信システムにおける端末、無線通信方法及び基地局に関する。
続きを表示(約 1,500 文字)
【背景技術】
【0002】
Universal Mobile Telecommunications System(UMTS)ネットワークにおいて、更なる高速データレート、低遅延などを目的としてLong Term Evolution(LTE)が仕様化された(非特許文献1)。また、LTE(Third Generation Partnership Project(3GPP(登録商標)) Release(Rel.)8、9)の更なる大容量、高度化などを目的として、LTE-Advanced(3GPP Rel.10-14)が仕様化された。
【0003】
LTEの後継システム(例えば、5th generation mobile communication system(5G)、5G+(plus)、6th generation mobile communication system(6G)、New Radio(NR)、3GPP Rel.15以降などともいう)も検討されている。
【先行技術文献】
【非特許文献】
【0004】
3GPP TS 36.300 V8.12.0 “Evolved Universal Terrestrial Radio Access (E-UTRA) and Evolved Universal Terrestrial Radio Access Network (E-UTRAN); Overall description; Stage 2 (Release 8)”、2010年4月
【発明の概要】
【発明が解決しようとする課題】
【0005】
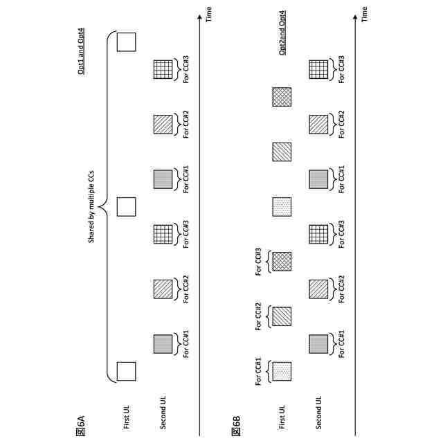
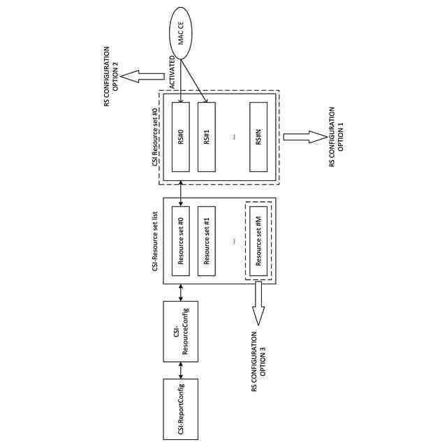
将来の無線通信システム(例えば、NR、Rel.19以降)において、端末(ユーザ端末(user terminal)、User Equipment(UE))によって開始される(イベントに基づく(イベントベースド))ビーム報告(UE-initiated Beam Report(UEIBR))がサポートされることが検討されている。
【0006】
このようなビーム報告は、Rel.19以降のMIMO/モビリティにおいてサポートされることが検討されている。
【0007】
しかしながら、UEIBRについて検討が十分でないケースがある。この検討が十分でない場合、より低遅延の通信を実現することができず、通信品質/スループットの向上の抑制を招くおそれがある。
【0008】
そこで、本開示は、通信品質/スループットを向上させることができる端末、無線通信方法及び基地局を提供することを目的の1つとする。
【課題を解決するための手段】
【0009】
本開示の一態様に係る端末は、端末によって開始されるビーム報告(UEIBR)をトリガする特定のイベントの設定を受信する受信部と、前記設定に基づいて前記UEIBRの送信を制御する制御部と、を有し、前記特定のイベントは、少なくとも1つの新規ビームの品質がM番目に品質が悪いアクティベートされた送信設定指示(TCI)状態から導出される参照信号(RS)よりも閾値を超えて良くなることである。
【発明の効果】
【0010】
本開示の一態様によれば、通信品質/スループットを向上させることができる。
【図面の簡単な説明】
(【0011】以降は省略されています)
この特許をJ-PlatPat(特許庁公式サイト)で参照する
関連特許
サクサ株式会社
中継装置
4日前
サクサ株式会社
中継装置
3日前
WHISMR合同会社
収音装置
1か月前
キヤノン株式会社
撮像装置
1か月前
アイホン株式会社
電気機器
25日前
キヤノン電子株式会社
画像読取装置
1か月前
株式会社リコー
画像形成装置
1か月前
サクサ株式会社
無線通信装置
3日前
個人
ワイヤレスイヤホン対応耳掛け
23日前
サクサ株式会社
無線通信装置
3日前
株式会社リコー
画像形成装置
2か月前
株式会社リコー
画像形成装置
1か月前
サクサ株式会社
無線システム
2日前
個人
発信機及び発信方法
2日前
ブラザー工業株式会社
読取装置
2か月前
キヤノン株式会社
撮像システム
25日前
株式会社ニコン
撮像装置
2か月前
株式会社JVCケンウッド
通信システム
9日前
国立大学法人電気通信大学
小型光学装置
1か月前
キヤノン電子株式会社
シート材搬送装置
2か月前
沖電気工業株式会社
画像形成装置
5日前
有限会社フィデリックス
マイクロフォン
9日前
株式会社松平商会
携帯機器カバー
1か月前
沖電気工業株式会社
画像形成装置
13日前
大日本印刷株式会社
写真撮影装置
24日前
パテントフレア株式会社
水中電波通信法
2か月前
株式会社小糸製作所
画像照射装置
1か月前
DXO株式会社
情報処理システム
2か月前
パテントフレア株式会社
超高速電波通信
1か月前
個人
回動アームを構築する関節モジュール
5日前
株式会社JVCケンウッド
スピーカ
1か月前
株式会社国際電気
遠隔監視システム
1か月前
株式会社リコー
画像形成装置
1か月前
日本無線株式会社
無線通信システム
1か月前
ダイハツ工業株式会社
人流取得装置
3日前
株式会社大林組
監視システム
1か月前
続きを見る
他の特許を見る