TOP
|
特許
|
意匠
|
商標
特許ウォッチ
Twitter
他の特許を見る
公開番号
2025149507
公報種別
公開特許公報(A)
公開日
2025-10-08
出願番号
2024050211
出願日
2024-03-26
発明の名称
液体吐出装置
出願人
セイコーエプソン株式会社
代理人
個人
,
個人
,
個人
主分類
B41J
2/17 20060101AFI20251001BHJP(印刷;線画機;タイプライター;スタンプ)
要約
【課題】インクミストの影響を低減することができる液体吐出装置を提供する。
【解決手段】媒体に対し走査されるキャリッジと、前記媒体を搬送する搬送部と、前記キャリッジに搭載され、前記媒体に対しインクを吐出するヘッドユニットと、前記キャリッジを内包するハウジングユニットと、を備える液体吐出装置であって、前記ハウジングユニットは、第1波長を含む第1光を出力する照射部を有し、前記ヘッドユニットは、駆動信号を生成する駆動信号生成回路を含む駆動基板と、前記駆動信号が印加されることで液体を吐出させる圧電素子を含むヘッドと、前記駆動信号生成回路を内包するヘッドハウジングと、光触媒が塗布された第1フィルターと、前記第1フィルターを通じて外気を前記ヘッドハウジングの内部に引き込むことで前記駆動信号生成回路を冷却するファンと、を有し、前記光触媒は、前記第1波長と反応し前記インクを分解する、液体吐出装置。
【選択図】図2
特許請求の範囲
【請求項1】
媒体に対し走査されるキャリッジと、
前記媒体を搬送する搬送部と、
前記キャリッジに搭載され、前記媒体に対しインクを吐出するヘッドユニットと、
前記キャリッジを内包するハウジングユニットと、
を備える液体吐出装置であって、
前記ハウジングユニットは、第1波長を含む第1光を出力する照射部を有し、
前記ヘッドユニットは、
駆動信号を生成する駆動信号生成回路を含む駆動基板と、
前記駆動信号が印加されることで液体を吐出させる圧電素子を含むヘッドと、
前記駆動信号生成回路を内包するヘッドハウジングと、
光触媒が塗布された第1フィルターと、
前記第1フィルターを通じて外気を前記ヘッドハウジングの内部に引き込むことで前記駆動信号生成回路を冷却するファンと、
を有し、
前記光触媒は、前記第1波長と反応し前記インクを分解する、
液体吐出装置。
続きを表示(約 250 文字)
【請求項2】
前記キャリッジのキャリッジレールに沿って複数の前記照射部が設けられている、
請求項1に記載の液体吐出装置。
【請求項3】
前記第1フィルターは、ルーバー構造である、
請求項1または請求項2に記載の液体吐出装置。
【請求項4】
前記照射部は、白色LEDである、
請求項1または請求項2に記載の液体吐出装置。
【請求項5】
前記照射部は、印刷時に照射している、
請求項1または請求項2に記載の液体吐出装置。
発明の詳細な説明
【技術分野】
【0001】
本開示は、液体吐出装置に関する。
続きを表示(約 3,300 文字)
【背景技術】
【0002】
液体であるインクを吐出して画像および文書を印刷するインクジェットプリンターなどの液体吐出装置が知られている(例えば、特許文献1-2参照。)。
インクジェットプリンターでは、一般的に、キャリッジの上に駆動信号生成回路を配置したオンキャリッジ方式と、本体側に駆動信号生成回路を配置し、フレキシブルフラットケーブルを経由してキャリッジ上のヘッドに駆動信号を供給するオフキャリッジ方式がある。本明細書では、説明の便宜上、オンキャリッジ方式をオンキャリと呼ぶ場合がある。
【0003】
特許文献1の記載内容について説明する(例えば、特許文献1の段落0002-0003、段落0007を参照。)。
インクジェットプリンターなどの液体吐出装置には、圧電素子を用いたものが知られている。圧電素子は、例えば、ピエゾ素子である。
圧電素子は、インクジェットのヘッドにおいて複数のノズルのそれぞれに対応して設けられ、それぞれが駆動信号にしたがって駆動されることにより、それぞれのノズルから所定のタイミングで所定量のインクが吐出されて、ドットが形成される。
圧電素子は電気的にみればコンデンサーのような容量性負荷であるため、各ノズルの圧電素子を動作させるためには十分な電流を供給する必要がある。このため、液体吐出装置においては、駆動回路が増幅回路によって増幅した駆動信号をヘッドに供給して、圧電素子を駆動する構成となっている。
【0004】
例えば、ヘッドが搭載されたキャリッジが走査されて印刷が行われるシリアルプリンターなどの液体吐出装置においては、一般に、プリンターの本体側に設けられた増幅回路で増幅した高電圧の駆動信号がケーブルを介してキャリッジに搭載されたヘッドに供給される。
このような液体吐出装置においては、ケーブルの長さはキャリッジの走査幅の2倍以上必要となり、ケーブルが筐体の内部の部材と擦れることで生じる静電気、あるいは、ケーブルがループ状となっているためにアンテナ効果によって拾いやすい電波ノイズなど、各種の外乱ノイズの影響によって、ケーブルを伝搬する駆動信号の波形が歪み、印字品質が低下するといった問題があった。
特に、一般にA2判サイズ以上の大きな紙に印刷可能な大判プリンターでは、ケーブルがより長くなるため、ケーブルを伝搬する駆動信号の波形がより歪みやすく、印字品質が低下しやすい。なお、大判プリンターは、例えば、ラージフォーマットプリンターと呼ばれてもよい。
このような問題に対して、キャリッジにヘッドとともに駆動回路も搭載して駆動信号の伝搬経路を短くすることによって、ノイズの影響による駆動波形の歪みを低減する液体吐出装置が検討されていた。
【0005】
一方、インクジェットプリンターなどの液体吐出装置において、高速印刷または高精細印刷を実現するためにはノズルの数が多くなり、その結果、クリーニング動作または印刷動作において、単位時間当たりに吐出されるインクの量も非常に多くなる。
吐出されたインクの一部はミスト化して空中に浮遊し、筐体の内部の各所に付着するが、圧電素子の駆動のために高電圧で動作する駆動回路はインクミストが吸着しやすいという問題があった。
インクミストは、水以外の成分も含むため導電性を有しており、駆動回路に付着したミストが凝集して導体液膜となった場合、予期せぬ短絡経路が発生してしまい、その結果、圧電素子の駆動が停止すること、あるいは、インクの誤吐出が生じることなど、予期せぬ不具合が発生する可能性があった。
【0006】
特許文献2の記載内容について説明する(例えば、特許文献2の段落0071-0072、段落0084を参照。)。
回路基板の回路形成面とカバーとの間に形成される空間は、一例として、回路基板及びカバーにより密閉された封止空間である場合が想定されるが、他の例として、回路基板及びカバーとの間に存在する間隙を介して、収納ユニットの外側の空間と連通するような開放空間である場合も想定され得る。
例えば、駆動信号生成ユニットが収納ユニットに収納され、更に、収納ユニットの内部の空間において、駆動信号生成ユニットを覆うように熱伝導部材が設けられる。このため、熱伝導部材が設けられない態様と比較して、駆動信号生成ユニットに対する塵埃の付着の可能性を低減することができるとともに、吐出部からの反応性インクの吐出に伴い発生した反応性インクのミストが、駆動信号生成ユニットに対して付着する可能性を低減することができる。このように、本例では、熱伝導部材が設けられない態様と比較して、駆動信号生成ユニットに対する反応性インクのミストの付着に起因して、駆動信号生成ユニットにおいて短絡または漏電等の不具合が発生する可能性を低減することができる。
【先行技術文献】
【特許文献】
【0007】
特開2017-165039号公報
特開2023-135814号公報
【発明の概要】
【発明が解決しようとする課題】
【0008】
しかしながら、従来の技術では、波形精度を向上させるために駆動回路をオンキャリ構成としたプリンターにおいては、駆動回路の冷却性確保のための通風孔等からインクミストが侵入し、基板がショートしてしまうという課題があった。
これに対して特許文献1の技術では、フラッシングボックスの上をキャリッジが通過しないことでインクミストの対策を行っている。しかし、一日当たりの稼働時間が長く、要求耐用年数も長いDTF(Direct to Film)のような大型産業機械では、機内にミストが漂い続けるため、機内の駆動回路基板には少しずつながらミストが溜まっていってしまう。その結果、電気基板が導電性があるミストで短絡され、基板の破壊に至るケースが考えられた。
また、特許文献2の技術では、オンキャリ構成の駆動回路においては、キャリッジの上の限られたスペースで密に駆動回路が配置されているため、非常に高温となってしまうヘッドユニットを十分に冷却することができなかった。
【課題を解決するための手段】
【0009】
上記課題を解決するために一態様は、媒体に対し走査されるキャリッジと、前記媒体を搬送する搬送部と、前記キャリッジに搭載され、前記媒体に対しインクを吐出するヘッドユニットと、前記キャリッジを内包するハウジングユニットと、を備える液体吐出装置であって、前記ハウジングユニットは、第1波長を含む第1光を出力する照射部を有し、前記ヘッドユニットは、駆動信号を生成する駆動信号生成回路を含む駆動基板と、前記駆動信号が印加されることで液体を吐出させる圧電素子を含むヘッドと、前記駆動信号生成回路を内包するヘッドハウジングと、光触媒が塗布された第1フィルターと、前記第1フィルターを通じて外気を前記ヘッドハウジングの内部に引き込むことで前記駆動信号生成回路を冷却するファンと、を有し、前記光触媒は、前記第1波長と反応し前記インクを分解する、液体吐出装置である。
【図面の簡単な説明】
【0010】
実施形態に係るプリンターの概略構成を示す図である。
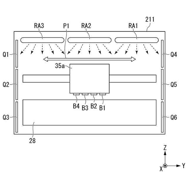
実施形態に係るプリンターにおいて印刷を実行する印刷領域を示す平面図である。
実施形態に係るプリンターの全体の概略構成を示す断面図である。
実施形態に係る光触媒が用いられた概略構成を示す図である。
実施形態に係る第1フィルターを上方から見た外観の一例を示す図である。
実施形態に係る第1板部の構成例を示す図である。
実施形態に係る複数の照射部が用いられた概略構成を示す図である。
【発明を実施するための形態】
(【0011】以降は省略されています)
この特許をJ-PlatPat(特許庁公式サイト)で参照する
関連特許
個人
箔熱転写装置
1か月前
シヤチハタ株式会社
印判
4か月前
キヤノン株式会社
記録装置
25日前
株式会社リコー
液体吐出装置
4か月前
株式会社リコー
画像形成装置
1か月前
独立行政法人 国立印刷局
貼付機構
1か月前
株式会社リコー
画像形成装置
13日前
株式会社リコー
印刷システム
13日前
独立行政法人 国立印刷局
貼付装置
1か月前
株式会社リコー
液体吐出装置
2か月前
株式会社リコー
画像形成装置
9日前
ブラザー工業株式会社
プリンタ
2か月前
独立行政法人 国立印刷局
潜像印刷物
1か月前
ブラザー工業株式会社
液体吐出ヘッド
25日前
ブラザー工業株式会社
プリンタ
4か月前
キヤノン株式会社
画像形成装置
3か月前
キヤノン株式会社
画像記録装置
25日前
理想科学工業株式会社
印刷装置
17日前
ブラザー工業株式会社
プリンタ
2か月前
独立行政法人 国立印刷局
潜像形成体
9日前
キヤノン株式会社
画像処理装置
4か月前
キヤノン株式会社
画像形成装置
1か月前
株式会社リコー
画像形成システム
9日前
独立行政法人 国立印刷局
偽造防止印刷物
2か月前
株式会社リコー
感熱記録媒体
10日前
独立行政法人 国立印刷局
潜像画像形成体
3日前
キヤノン株式会社
画像形成システム
13日前
独立行政法人 国立印刷局
インキ交換機構
2か月前
株式会社リコー
液体吐出装置
2か月前
株式会社リコー
画像記録装置
4か月前
株式会社リコー
液体を吐出する装置
10日前
キヤノン株式会社
画像形成システム
13日前
個人
小型記録媒体への印刷システム
1か月前
キヤノン株式会社
画像形成装置
1か月前
イーデーエム株式会社
定ピッチ印字システム
3か月前
ブラザー工業株式会社
プリンタ
3か月前
続きを見る
他の特許を見る