TOP
|
特許
|
意匠
|
商標
特許ウォッチ
Twitter
他の特許を見る
公開番号
2025149242
公報種別
公開特許公報(A)
公開日
2025-10-08
出願番号
2024049769
出願日
2024-03-26
発明の名称
ロジックモデル作成支援装置およびロジックモデル作成支援方法
出願人
株式会社日立製作所
代理人
藤央弁理士法人
主分類
G06F
16/28 20190101AFI20251001BHJP(計算;計数)
要約
【課題】ロジックモデルの作成の効率化を図ること。
【解決手段】ロジックモデル作成支援装置は、第1指標と前記第1指標の第1抽象度とを関連付けて記憶する記憶部と、第2指標の入力を受け付ける入力部と、前記入力部によって入力された第2指標に類似する第1指標を前記記憶部から抽出する抽出部と、前記抽出部によって抽出された前記類似する第1指標の第1抽象度を前記第2指標の第2抽象度に設定する設定部と、前記第2指標と前記設定部によって設定された第2抽象度とを関連付けて前記記憶部に登録する登録部と、を有する。
【選択図】図8
特許請求の範囲
【請求項1】
第1指標と前記第1指標の第1抽象度とを関連付けて記憶する記憶部と、
第2指標の入力を受け付ける入力部と、
前記入力部によって入力された第2指標に類似する第1指標を前記記憶部から抽出する抽出部と、
前記抽出部によって抽出された前記類似する第1指標の第1抽象度を前記第2指標の第2抽象度に設定する設定部と、
前記第2指標と前記設定部によって設定された第2抽象度とを関連付けて前記記憶部に登録する登録部と、
を有することを特徴とするロジックモデル作成支援装置。
続きを表示(約 1,300 文字)
【請求項2】
請求項1に記載のロジックモデル作成支援装置であって、
前記抽出部は、前記第2指標が前記第1指標と一致しない場合、前記第2指標に類似する第1指標を前記記憶部から抽出する、
ことを特徴とするロジックモデル作成支援装置。
【請求項3】
請求項1に記載のロジックモデル作成支援装置であって、
前記記憶部は、前記第1指標と前記第1抽象度と前記第1指標が所属する階層とを関連付けて記憶し、
前記入力部は、前記第2指標および前記第2指標が所属する階層の入力を受け付け、
前記抽出部は、前記第2指標が所属する階層に所属しかつ前記第2指標に類似する第1指標を、前記記憶部から抽出する、
ことを特徴とするロジックモデル作成支援装置。
【請求項4】
請求項1に記載のロジックモデル作成支援装置であって、
前記抽出部は、前記第1指標が前記第2指標が所属する階層に所属しかつ前記第2指標が前記第1指標と一致しない場合、前記第2指標が所属する階層に所属しかつ前記第2指標に類似する第1指標を、前記記憶部から抽出する、
ことを特徴とするロジックモデル作成支援装置。
【請求項5】
請求項1に記載のロジックモデル作成支援装置であって、
前記設定部は、前記第2抽象度よりも高い第1抽象度の第1指標をターゲット候補指標に設定し、
前記登録部は、前記第2指標と前記第2抽象度と前記ターゲット候補指標とを関連付けて前記記憶部に登録する、
ことを特徴とするロジックモデル作成支援装置。
【請求項6】
請求項1に記載のロジックモデル作成支援装置であって、
前記設定部は、前記第2抽象度よりも低い第1抽象度の第1指標をソース候補指標に設定し、
前記登録部は、前記第2指標と前記第2抽象度と前記ソース候補指標とを関連付けて前記記憶部に登録する、
ことを特徴とするロジックモデル作成支援装置。
【請求項7】
請求項1に記載のロジックモデル作成支援装置であって、
前記第2指標を示すノードを、ロジックモデルの構成要素として表示可能に出力する出力部と、
を有することを特徴とするロジックモデル作成支援装置。
【請求項8】
請求項1に記載のロジックモデル作成支援装置であって、
前記類似する第1指標を表示可能に出力する出力部と、
を有することを特徴とするロジックモデル作成支援装置。
【請求項9】
請求項5に記載のロジックモデル作成支援装置であって、
前記ターゲット候補指標を選択可能に出力する出力部と、
を有することを特徴とするロジックモデル作成支援装置。
【請求項10】
請求項9に記載のロジックモデル作成支援装置であって、
前記出力部は、前記ターゲット候補指標が選択されると、前記ターゲット候補指標を示すノードをロジックモデルの構成要素として表示可能に出力する、
を有することを特徴とするロジックモデル作成支援装置。
(【請求項11】以降は省略されています)
発明の詳細な説明
【技術分野】
【0001】
本発明は、ロジックモデルの作成を支援するロジックモデル作成支援装置およびロジックモデル作成支援方法に関する。
続きを表示(約 2,300 文字)
【背景技術】
【0002】
多様な価値観を尊重した社会づくり、地域づくりの重要性が高まる中、少子高齢化などの様々な社会課題により担い手不足や資金不足などが起こっている。そのような中で、手厚く一人一人に寄り添った事業の遂行は難しく、新たな事業の提案や遂行をする余力もなくなっている。また、地域で物理的にできることをやっても住民が受け入れてくれず、他の地域で成功したことを取り入れても、実行のしやすさや住民にとっての重要度は地域ごとに異なってしまう。
【0003】
下記特許文献1は、情報システム構築に関する提案書や仕様書といった特定の案件に関する文書群で一般的な意味と異なる意味を有して使用されている多義語を判別してその文章の曖昧さを改善する多義語抽出システムを開示する。この多義語抽出システムは、入力を受けた所定の文章中の各単語を抽出する単語分析部と、任意の単語を基軸単語として選択し、該基軸単語と共起関係とみなされる基軸単語共起語とその共起数とで表される基軸単語共起ベクトルを抽出する基軸単語共起ベクトル抽出部と、基軸単語共起ベクトルの各基軸単語共起語の共起語概念を一般概念から推定する共起語概念推定部と、推定した共起語概念群について、対応する共起語概念間の類似性に基づき、選択した基軸単語に関する各基軸単語共起語のクラスタリングを行う共起語分類部と、複数のクラスタが存在した際に多義語候補として抽出する多義語候補推定部と、抽出した候補を出力する多義語候補出力部とを設ける。
【先行技術文献】
【特許文献】
【0004】
特開2013-020431号公報
【発明の概要】
【発明が解決しようとする課題】
【0005】
しかしながら、ロジックモデルの作成は社会的インパクトの明確化、ロジックモデルを構築する指標の抽出、指標間のつながりの構築、つながりの重みづけ等のステップが非常に多く複雑で、工数がかかってしまう場合がある。中でも指標の抽出と指標間のつながりを構築するには、様々な観点で物事を考える必要があり、特にロジックモデルの作成に慣れていない人にとっては非常に困難な作業となる。たとえば、ロジックモデルの作成には、あるノードに対して因果関係のあるノードを探索する必要があるが、特許文献1では因果関係のあるノードを抽出することができない。このため、ロジックモデルのノードの探索が手作業で行われる。
【0006】
本発明は、ロジックモデルの作成の効率化を図ることを目的とする。
【課題を解決するための手段】
【0007】
本願において開示される発明の一側面となるロジックモデル作成支援装置は、1指標と前記第1指標の第1抽象度とを関連付けて記憶する記憶部と、第2指標の入力を受け付ける入力部と、前記入力部によって入力された第2指標に類似する第1指標を前記記憶部から抽出する抽出部と、前記抽出部によって抽出された前記類似する第1指標の第1抽象度を前記第2指標の第2抽象度に設定する設定部と、前記第2指標と前記設定部によって設定された第2抽象度とを関連付けて前記記憶部に登録する登録部と、を有することを特徴とする。
【発明の効果】
【0008】
本発明の代表的な実施の形態によれば、ロジックモデルの作成の効率化を図ることができる。前述した以外の課題、構成及び効果は、以下の実施例の説明により明らかにされる。
【図面の簡単な説明】
【0009】
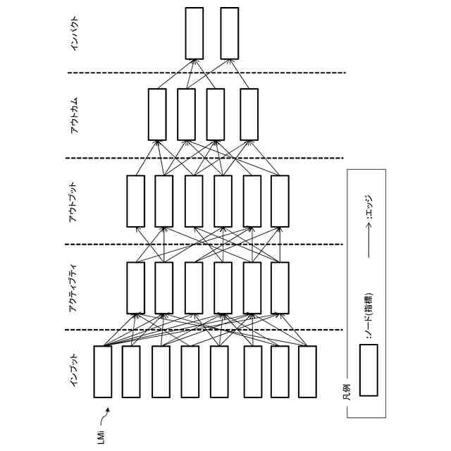
図1は、ロジックモデルの一例を示す説明図である。
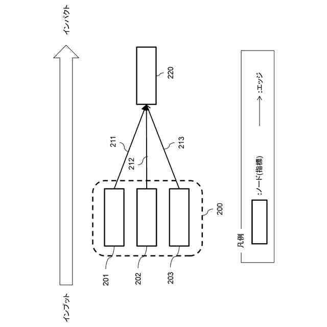
図2は、ノード間の接続構造の一例を示す説明図である。
図3は、ロジックモデル作成システムのシステム構成例を示す説明図である。
図4は、コンピュータのハードウェア構成例を示すブロック説明図である。
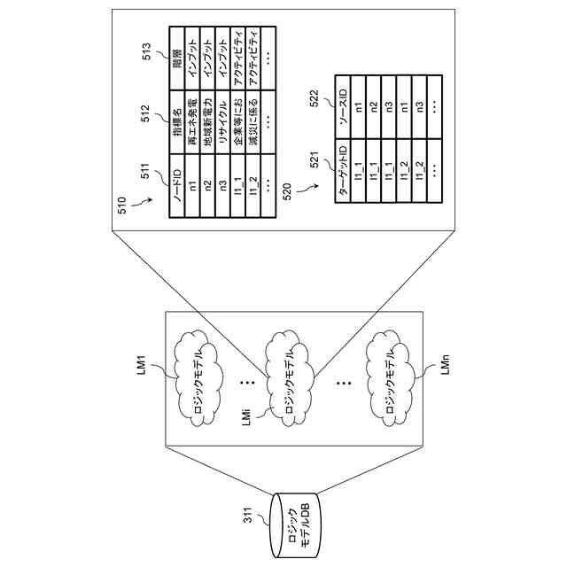
図5は、ロジックモデルDBの一例を示す説明図である。
図6は、抽象度DBの一例を示す説明図である。
図7は、指標DBの一例を示す説明図である。
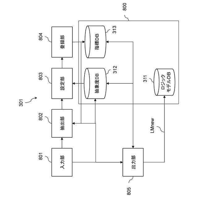
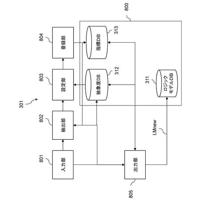
図8は、ロジックモデル作成支援装置の機能的構成例を示すブロック図である。
図9は、ロジックモデル作成支援装置による指標情報登録処理手順例を示すフローチャートである。
図10は、ロジックモデルの生成時における画面遷移例1を示す説明図である。
図11は、ロジックモデルの生成時における画面遷移例2を示す説明図である。
図12は、ロジックモデルの生成時における画面遷移例3を示す説明図である。
図13は、ロジックモデルの生成時における画面遷移例4を示す説明図である。
図14は、ロジックモデルの生成時における画面遷移例5を示す説明図である。
図15は、ロジックモデルの生成時における画面遷移例6を示す説明図である。
図16は、ロジックモデルの生成時における画面遷移例7を示す説明図である。
図17は、ロジックモデルの生成時における画面遷移例8を示す説明図である。
図18は、ロジックモデルの生成時における画面遷移例9を示す説明図である。
【発明を実施するための形態】
【0010】
<図1 ロジックモデル>
ロジックモデルとは、対象を理解するための論理的なネットワーク構造を示すモデルである。たとえば、対象が施策であれば、ロジックモデルは、ある施策がその目的を達成するに至るまでの論理的な因果関係を明示した施策の論理的なネットワーク構造を示すモデルである。
(【0011】以降は省略されています)
この特許をJ-PlatPat(特許庁公式サイト)で参照する
関連特許
株式会社日立製作所
形状制御システム
9日前
株式会社日立製作所
ソフトウェア生成システム
3日前
株式会社日立製作所
情報処理装置、情報処理方法
2日前
株式会社日立製作所
管理システムおよび管理方法
11日前
株式会社日立製作所
情報処理装置及び情報処理方法
11日前
株式会社日立製作所
費用対効果算出方法および装置
9日前
株式会社日立製作所
回転電機および電動機システム
7日前
株式会社日立製作所
情報処理装置及び情報処理方法
7日前
株式会社日立製作所
電力変換器およびインバータ装置
11日前
株式会社日立製作所
蒸発乾固装置および蒸発乾固方法
1日前
株式会社日立製作所
情報処理システム、及び予測方法
8日前
株式会社日立製作所
物流計画システム及び物流計画方法
9日前
株式会社日立製作所
計算機システム及びデータ検索方法
11日前
株式会社日立製作所
情報処理システム、及び情報処理方法
2日前
株式会社日立製作所
データ出力装置およびデータ出力方法
11日前
株式会社日立製作所
半導体装置および半導体装置の駆動方法
3日前
株式会社日立製作所
設計図書のチェックシステムおよび方法
7日前
株式会社日立製作所
説明情報生成装置及び説明情報生成方法
1日前
株式会社日立製作所
故障要因分析装置及び故障要因分析方法
1日前
株式会社日立製作所
臨床試験計画装置および臨床試験計画方法
2日前
株式会社日立製作所
仮想空間生成装置および仮想空間生成方法
7日前
株式会社日立製作所
ビル設備制御システム及びビル設備制御方法
11日前
株式会社日立製作所
統合装置、統合方法、および統合プログラム
11日前
株式会社日立製作所
作業認識支援システム及び作業認識支援方法
11日前
株式会社日立製作所
在室人数計測システムおよび在室人数計測方法
11日前
株式会社日立製作所
仮想化システム及び仮想化システムの制御方法
9日前
株式会社日立製作所
二次電池用制御装置および二次電池の制御方法
11日前
株式会社日立製作所
テスト支援システム、および、テスト支援方法
9日前
株式会社日立製作所
ノイズ低減方法、装置、電子機器及び可読媒体
8日前
株式会社日立製作所
ドキュメント生成装置、ドキュメント生成方法
11日前
株式会社日立製作所
磁場発生装置およびそれを用いた磁気冷凍装置
11日前
株式会社日立製作所
仮想化システム及び仮想化システムの制御方法
9日前
株式会社日立製作所
制御設計支援方法、および、制御設計支援装置
3日前
株式会社日立製作所
システム障害監視装置及びシステム障害監視方法
8日前
株式会社日立製作所
エレベーター、操作盤、エレベーターの制御方法
7日前
株式会社日立製作所
システム、システムが実行する方法、プログラム
11日前
続きを見る
他の特許を見る