TOP
|
特許
|
意匠
|
商標
特許ウォッチ
Twitter
他の特許を見る
10個以上の画像は省略されています。
公開番号
2025141290
公報種別
公開特許公報(A)
公開日
2025-09-29
出願番号
2024041161
出願日
2024-03-15
発明の名称
データ出力装置およびデータ出力方法
出願人
株式会社日立製作所
代理人
藤央弁理士法人
主分類
G16Z
99/00 20190101AFI20250919BHJP(特定の用途分野に特に適合した情報通信技術)
要約
【課題】解析装置が用いる解析データの存在確認を解析前にすること。
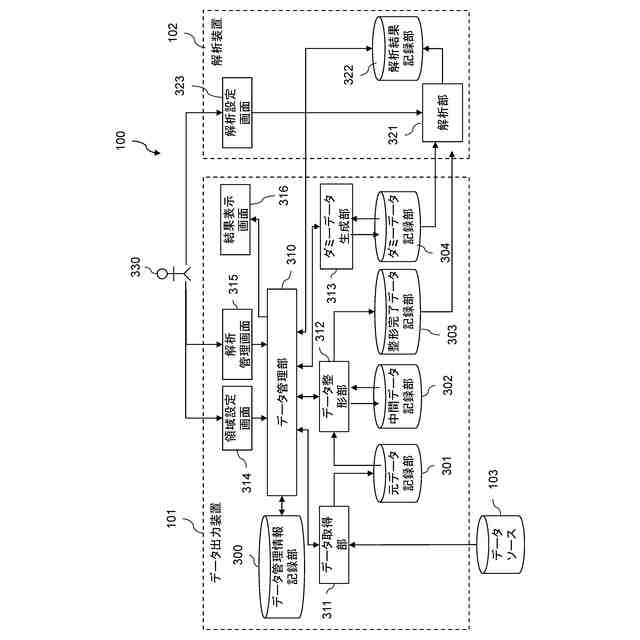
【解決手段】プログラムを実行するプロセッサと、前記プログラムを記憶する記憶デバイスと、を有するデータ出力装置は、自然環境に関する第1時系列データを記憶するデータソースと、前記データ出力装置からの解析対象データを入力して前記自然環境に関する解析を実行する解析装置と、通信可能に接続され、前記解析対象データを記録可能な記録部を有し、前記プロセッサは、前記自然環境に関する解析条件の入力を受け付ける入力処理と、前記入力処理によって入力された解析条件に該当する第1解析対象データが前記記録部に存在するか否かを判定する第1判定処理と、前記第1判定処理による第1判定結果に基づいて、前記第1解析対象データを前記解析装置に出力する第1出力処理と、を実行する。
【選択図】図3
特許請求の範囲
【請求項1】
プログラムを実行するプロセッサと、前記プログラムを記憶する記憶デバイスと、を有するデータ出力装置であって、
自然環境に関する第1時系列データを記憶するデータソースと、前記データ出力装置からの解析対象データを入力して前記自然環境に関する解析を実行する解析装置と、通信可能に接続され、
前記解析対象データを記録可能な記録部を有し、
前記プロセッサは、
前記自然環境に関する解析条件の入力を受け付ける入力処理と、
前記入力処理によって入力された解析条件に該当する第1解析対象データが前記記録部に存在するか否かを判定する第1判定処理と、
前記第1判定処理による第1判定結果に基づいて、前記第1解析対象データを前記解析装置に出力する第1出力処理と、
を実行することを特徴とするデータ出力装置。
続きを表示(約 1,700 文字)
【請求項2】
請求項1に記載のデータ出力装置であって、
前記プロセッサは、
前記第1解析対象データが前記記録部に存在しないと判定された場合、前記データソースから前記第1解析対象データを取得する第1取得処理と、
前記第1取得処理によって取得された前記第1解析対象データを前記記録部に記録する第1記録処理と、を実行し、
前記第1出力処理では、前記プロセッサは、前記第1解析対象データを前記解析装置に出力する、
ことを特徴とするデータ出力装置。
【請求項3】
請求項2に記載のデータ出力装置であって、
前記第1取得処理では、前記プロセッサは、複数の前記第1解析対象データを取得し、
前記第1記録処理では、前記プロセッサは、前記第1解析対象データが取得される都度、前記記録部に記録し、
前記プロセッサは、
前記第1取得処理による取得が開始されてから終了するまでの間に、前記記録部に記録された前記第1解析対象データに基づいて、前記解析装置での初期解析に利用するダミーデータを生成する生成処理と、を実行し、
前記第1出力処理では、前記プロセッサは、前記ダミーデータを前記解析装置に出力する、
ことを特徴とするデータ出力装置。
【請求項4】
請求項2に記載のデータ出力装置であって、
前記プロセッサは、
前記第1解析対象データを整形する整形処理を実行し、
前記第1出力処理では、前記プロセッサは、前記整形処理による整形済みの前記第1解析対象データを前記解析装置に出力する、
ことを特徴とするデータ出力装置。
【請求項5】
請求項4に記載のデータ出力装置であって、
前記プロセッサは、
前記解析条件に含まれる解析対象期間から外れた第2解析対象データが前記記録部に存在するか否かを判定する第2判定処理と、
前記解析装置による前記第1解析対象データを用いた第1解析の終了後に、前記第2判定処理による第2判定結果に基づいて、前記第2解析対象データを前記解析装置に出力する第2出力処理と、
を実行することを特徴とするデータ出力装置。
【請求項6】
請求項5に記載のデータ出力装置であって、
前記プロセッサは、
前記第2解析対象データが前記記録部に存在しないと判定された場合、前記データソースから前記第2解析対象データを取得する第2取得処理と、
前記第2取得処理によって取得された前記第2解析対象データを前記記録部に記録する第2記録処理と、を実行し、
前記第2出力処理では、前記プロセッサは、前記第1解析の終了後に、前記第2解析対象データを前記解析装置に出力する、
ことを特徴とするデータ出力装置。
【請求項7】
請求項6に記載のデータ出力装置であって、
前記第2取得処理では、前記プロセッサは、前記第1解析の実行中に、前記データソースから前記第2解析対象データを取得する、
ことを特徴とするデータ出力装置。
【請求項8】
プログラムを実行するプロセッサと、前記プログラムを記憶する記憶デバイスと、を有するデータ出力装置が実行するデータ出力方法であって、
自然環境に関する第1時系列データを記憶するデータソースと、前記データ出力装置からの解析対象データを入力して前記自然環境に関する解析を実行する解析装置と、通信可能に接続され、
前記解析対象データを記録可能な記録部を有し、
前記プロセッサは、
前記自然環境に関する解析条件の入力を受け付ける入力処理と、
前記入力処理によって入力された解析条件に該当する第1解析対象データが前記記録部に存在するか否かを判定する第1判定処理と、
前記第1判定処理による第1判定結果に基づいて、前記第1解析対象データを前記解析装置に出力する第1出力処理と、
を実行することを特徴とするデータ出力方法。
発明の詳細な説明
【技術分野】
【0001】
本発明は、データを出力するデータ出力装置およびデータ出力方法に関する。
続きを表示(約 1,700 文字)
【背景技術】
【0002】
自然環境に関するデータを解析するシミュレーションには、洪水予測、河川流量および水質の予測、再生エネルギーの発電量予測、農作物の収量予測など、多様な用途が存在する。これらの予測計算にあたっては、入力データとして高精度かつ数十年の長期にわたる気象情報が必要となる。
【0003】
一般的に、気象データとしては、特定地点における時系列の観測データと、地域内における分布量を記録した分布データと、が存在する。前者は、代表的には気象観測点における気温、降水量、日射量などの観測値であり、後者は、気象レーダーによる降水量、気象シミュレーションの結果に基づく気温、および気象シミュレーションの結果に基づく風速の分布データである。
【0004】
これらの気象データを活用する上で以下の課題がある。気象観測点の配置が疎らであることから、時系列の観測データは対象地域から地理的に離れた地点での情報であるため、その精度に疑問が生じる。分布データは大量の格子点情報を含んでいる中から関心地点にかかわる情報のみを抽出する処理が必要となる。
【0005】
また、両者に共通する課題として、外部のデータソースに依存することによりそのデータ転送能力の制約を受ける。一例として、河川流域の20年分の気象データ取得には数時間程度を要し、当該取得時間は、シミュレーション本体の計算時間に対して無視できないほど長い。
【0006】
具体的には、データ転送能力の制約として、外部のデータソースが極めて大量のデータを取り扱っており、利用頻度の低い情報は低速のアーカイブ領域から呼び出す必要があることに起因する。また、データの保存形式の制約として、複数枚(たとえば、1タイムステップ1時間とした場合、1年間で8760枚分)の分布データをすべて呼び出し、関心地点の時系列データとして書き出すことに起因する。
【0007】
下記特許文献1は、洪水復旧解析ツールの方法を開示する。この洪水復旧解析ツールの方法は、複数のセルに分割された地理的領域の気象情報にアクセスし、気象情報に基づいて流出データを生成する複数の処理を含む。流出データは、領域の各セルの地表面上の予測される規制されずに流れる水を含む。さらに、この洪水復旧解析ツールの方法は、セル間の水の流入及び流出の予測を生成し、地理的領域内の各セルの複数のサブセルについて、セル間の流入および流出の予測および水理モデルに基づいて各サブセル内の予測される水深を計算する複数の処理を含む。さらに、この洪水復旧解析ツールの方法は、地理的領域内の各サブセルの予測される水深を示す洪水氾濫マップを生成し、洪水氾濫マップを表示デバイスのユーザインタフェースにおいて提示する複数の処理を含む。
【0008】
下記非特許文献1は、“Data Rods”と呼ばれる時系列データセットをあらかじめ作成して保持する方法を開示する。
【先行技術文献】
【特許文献】
【0009】
国際公開WO2019/204254号
【非特許文献】
【0010】
Teng, William, Rui, Hualan, Strub, Richard, and Vollmer, Bruce, 2016. Optimal Reorganization of NASA Earth Science Data for Enhanced Accessibility and Usability for the Hydrology Community. Journal of the American Water Resources Association (JAWRA) 52( 4): 825- 835. DOI: 10.1111/1752-1688.12405
【発明の概要】
【発明が解決しようとする課題】
(【0011】以降は省略されています)
この特許をJ-PlatPat(特許庁公式サイト)で参照する
関連特許
株式会社日立製作所
鉄道車両
8日前
株式会社日立製作所
半導体装置
16日前
株式会社日立製作所
形状制御システム
2日前
株式会社日立製作所
ガス濃度測定装置
8日前
株式会社日立製作所
欠陥知識循環システム
22日前
株式会社日立製作所
計画装置および計画方法
14日前
株式会社日立製作所
管理システムおよび管理方法
4日前
株式会社日立製作所
訓練システムおよび訓練方法
4日前
株式会社日立製作所
費用対効果算出方法および装置
2日前
株式会社日立製作所
状態検知装置及び状態検知方法
16日前
株式会社日立製作所
情報処理装置及び情報処理方法
今日
株式会社日立製作所
回転電機および電動機システム
今日
株式会社日立製作所
人物特性推定システム及び方法
23日前
株式会社日立製作所
情報処理装置及び情報処理方法
4日前
株式会社日立製作所
電力変換器およびインバータ装置
4日前
株式会社日立製作所
電子機器および電子機器制御方法
16日前
株式会社日立製作所
情報処理システム、及び予測方法
1日前
株式会社日立製作所
異常検知システム及び異常検知方法
14日前
株式会社日立製作所
障害対応システム及び障害対応方法
22日前
株式会社日立製作所
計算機システム及びデータ検索方法
4日前
株式会社日立製作所
建物管理システム及び建物管理方法
14日前
株式会社日立製作所
音声分析システム及び音声分析方法
8日前
株式会社日立製作所
昇降機システム及び昇降機制御方法
4日前
株式会社日立製作所
Webページ更新管理装置及び方法
8日前
株式会社日立製作所
物流計画システム及び物流計画方法
2日前
株式会社日立製作所
データ出力装置およびデータ出力方法
4日前
株式会社日立製作所
通貨管理システム、及び通貨管理方法
8日前
株式会社日立製作所
制御装置、制御方法およびプログラム
16日前
株式会社日立製作所
電力監視システムおよび電力監視方法
14日前
株式会社日立製作所
設計図書のチェックシステムおよび方法
今日
株式会社日立製作所
計算機システム及びタスクの割当制御方法
14日前
株式会社日立製作所
支援装置、支援方法、及び支援プログラム
14日前
株式会社日立製作所
仮想空間生成装置および仮想空間生成方法
今日
株式会社日立製作所
電力運用管理システム及び電力運用管理方法
14日前
株式会社日立製作所
サービス管理システム及びサービス管理方法
14日前
株式会社日立製作所
作業認識支援システム及び作業認識支援方法
4日前
続きを見る
他の特許を見る