TOP
|
特許
|
意匠
|
商標
特許ウォッチ
Twitter
他の特許を見る
10個以上の画像は省略されています。
公開番号
2025150985
公報種別
公開特許公報(A)
公開日
2025-10-09
出願番号
2024052179
出願日
2024-03-27
発明の名称
説明情報生成装置及び説明情報生成方法
出願人
株式会社日立製作所
代理人
藤央弁理士法人
主分類
G06F
21/57 20130101AFI20251002BHJP(計算;計数)
要約
【課題】セキュリティ対策の妥当性についての適切な説明を低工数で得る。
【解決手段】説明情報生成装置は、システムに対するセキュリティ対策の準拠対象であるルールを示す準拠対象情報と、説明を受ける相手である説明相手を示す説明相手情報と、の少なくとも一方を保持し、当該システムに対する当該セキュリティ対策の妥当性についての説明である妥当性説明の具体性の程度を示す説明レベルを、当該少なくとも一方に基づいて決定し、当該決定した説明レベルに基づいて、妥当性説明を生成し、当該生成した妥当性説明を出力するためのデータを生成する。
【選択図】図1
特許請求の範囲
【請求項1】
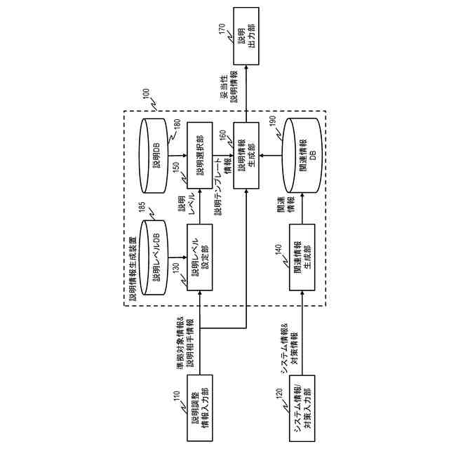
説明情報生成装置であって、
プロセッサとメモリとを備え、
前記メモリは、システムに対するセキュリティ対策の準拠対象であるルールを示す準拠対象情報と、説明を受ける相手である説明相手を示す説明相手情報と、の少なくとも一方を保持し、
前記プロセッサは、
前記システムに対する前記セキュリティ対策の妥当性についての説明である妥当性説明の具体性の程度を示す説明レベルを、前記少なくとも一方に基づいて決定し、
前記決定した説明レベルに基づいて、前記妥当性説明を生成し、
前記生成した妥当性説明を出力するためのデータを生成する、説明情報生成装置。
続きを表示(約 1,700 文字)
【請求項2】
請求項1に記載の説明情報生成装置であって、
前記メモリは、前記準拠対象と前記説明相手の少なくとも一方と、前記説明レベルと、の対応を示す説明レベル情報を保持し、
前記プロセッサは、前記説明レベルの決定において、前記準拠対象情報と前記説明相手情報の少なくとも一方が示す準拠対象と説明相手の少なくとも一方に対応する説明レベルを、前記説明レベル情報から取得する、説明情報生成装置。
【請求項3】
請求項2に記載の説明情報生成装置であって、
前記プロセッサは、
前記出力した妥当性説明の説明レベルの再設定指示を受け付け、
前記再設定指示が示す説明レベルに基づいて、前記妥当性説明を再生成し、
前記再生成した妥当性説明を出力するためのデータを生成する、説明情報生成装置。
【請求項4】
請求項2に記載の説明情報生成装置であって、
前記メモリは、
前記説明レベルと、変数を含む説明文と当該変数の種別とを示す説明テンプレートと、の対応情報である説明テンプレート情報と、
前記変数に割り当てられる情報の候補を、前記変数の種別ごとに示す関連情報と、を保持し、
前記プロセッサは、
前記決定した説明レベルに対応する説明テンプレートを前記説明テンプレート情報から取得し、
前記取得した説明テンプレートに含まれる変数の種別に対応する前記候補を前記関連情報から取得し、
前記取得した候補を前記取得した説明テンプレートの変数に割り当てることで、前記妥当性説明を生成する、説明情報生成装置。
【請求項5】
請求項4に記載の説明情報生成装置であって、
前記説明テンプレート情報において、前記説明レベルが高いほど当該説明レベルに対応する説明テンプレートに含まれる変数の個数が多い、説明情報生成装置。
【請求項6】
請求項4に記載の説明情報生成装置であって、
前記説明テンプレートにおける前記変数を除く部分、及び前記関連情報における前記候補が自然言語で記述されている、説明情報生成装置。
【請求項7】
請求項4に記載の説明情報生成装置であって、
前記プロセッサは、
前記取得した説明テンプレートの少なくとも1つの変数において前記候補を割り当てられないと判定した場合、
前記少なくとも1つの変数それぞれの種別を示し、かつ前記少なくとも1つの変数に割り当てる追加情報の入力をユーザに促すための追加情報入力画面、を出力するための情報を生成する、説明情報生成装置。
【請求項8】
請求項7に記載の説明情報生成装置であって、
前記プロセッサは、前記追加情報に関する質問文及び前記追加情報の入力行動を前記ユーザに促すための行動指示文を、所定のアルゴリズムに基づいて生成し、
前記追加情報入力画面を出力するための情報に、前記生成した質問文及び前記行動指示文を含める、説明情報生成装置。
【請求項9】
請求項4に記載の説明情報生成装置であって、
前記説明テンプレート情報は、前記説明テンプレートに対応する評価値を示し、
前記プロセッサは、前記決定した説明レベルに対応する説明テンプレートのうち、前記評価値が最も高い説明テンプレートを前記説明テンプレート情報から取得する、説明情報生成装置。
【請求項10】
請求項9に記載の説明情報生成装置であって、
前記プロセッサは、
前記生成した妥当性説明を出力するためのデータに当該妥当性説明に対する前記評価値の入力を受け付けるための情報を含め、
前記生成した妥当性説明に対する前記評価値の入力を受け付け、
前記説明テンプレート情報における前記取得した説明テンプレートの評価値を、前記入力を受け付けた評価値に基づいて更新する、説明情報生成装置。
(【請求項11】以降は省略されています)
発明の詳細な説明
【技術分野】
【0001】
本発明は、説明情報生成装置及び説明情報生成方法に関する。
続きを表示(約 1,800 文字)
【背景技術】
【0002】
一般的な情報システムのみならず、産業、医療、鉄道、自動車、及び電力等の社会インフラを支えるOT(Operational Technology)システム/産業制御システムにおいてもDX(Digital Transformation)が推進される一方で、サイバー攻撃の脅威が高まっている。
【0003】
そのため、安心かつ安全な産業制御システムの実現には、サイバー攻撃に対応するセキュリティ対策が求められる。また、そのようなセキュリティ対策の実施を義務化する法規として欧州のサイバーレジリエンス法や日本の経済安全保障推進法に代表される法規制の策定やISO/IEC 62443に代表される産業制御システム向けのセキュリティ対策に関する標準化、さらにより具体的なセキュリティ対策の指針を示すガイドラインの策定も進んでいる。
【0004】
本技術分野の背景技術として、国際公開第2023/105629号(特許文献1)がある。この公報には、「システムに内在するセキュリティリスクの時間変化に基づいて、対策を選択することに貢献する、セキュリティ対策立案システムを提供する。セキュリティ対策立案システムは、診断対象のシステムに含まれる一つ以上の資産のリスク値を計算する機能部と、機能部の計算する資産のリスク値の将来のリスク推定値を推定する、リスク変化推定部と、リスク変化推定部で推定された将来のリスク値に基づいて対策案を選択する対策決定部を含む。」と記載されている(要約参照)。
【先行技術文献】
【特許文献】
【0005】
国際公開第2023/105629号
【発明の概要】
【発明が解決しようとする課題】
【0006】
今後は、上記に示す法規制や標準などに準拠したセキュリティ対策を実施したうえで、当該セキュリティ対策が実施されたことが妥当であるかについての説明、即ち「セキュリティ対策の妥当性についての説明」が求められる。この説明は、法規制や標準などへの準拠を調達要求となった場合や、万一のサイバー攻撃に起因するセキュリティインシデントが発生した際の関係ステークホルダーへの説明責任を果たす場面などで必要となる。そのため、今後のセキュリティ対策の妥当性についての説明を行うための方法が必要とされる。
【0007】
特許文献1に記載の技術は、システムを構成する資産に対するセキュリティ対策を時間変化するリスク値に基づいて決定するが、特許文献1に記載の技術を用いて、当該決定されたセキュリティ対策の妥当性を説明するためには、このリスク値を用いることとなる。
【0008】
しかし、法規制や標準等の準拠対象に準拠した妥当なセキュリティ対策の説明については、説明状況、及び説明者又は被説明者の要望又は希望等、に応じて説明の内容を調整することが求められる。従って、セキュリティ対策の妥当性の説明に、特許文献1に記載の技術のリスク値が用いられるだけでは、説明の内容の調整が適切にされないおそれがある。
【0009】
また、セキュリティ対策の妥当性の説明に用いることができる情報(根拠及びエビデンスなど)は膨大であり、かつ説明自体の表現方法も多様であるために、必要十分な説明の作成するためにはシステム、セキュリティ、及び準拠対象等に関する知識を有した専門家が時間(工数)をかける必要がある。そこで、本発明の一態様は、セキュリティ対策の妥当性についての適切な説明を低工数で得る。
【課題を解決するための手段】
【0010】
上記課題を解決するために、本発明の一態様は以下の構成を採用する。説明情報生成装置は、プロセッサとメモリとを備え、前記メモリは、システムに対するセキュリティ対策の準拠対象であるルールを示す準拠対象情報と、説明を受ける相手である説明相手を示す説明相手情報と、の少なくとも一方を保持し、前記プロセッサは、前記システムに対する前記セキュリティ対策の妥当性についての説明である妥当性説明の具体性の程度を示す説明レベルを、前記少なくとも一方に基づいて決定し、前記決定した説明レベルに基づいて、前記妥当性説明を生成し、前記生成した妥当性説明を出力するためのデータを生成する。
【発明の効果】
(【0011】以降は省略されています)
この特許をJ-PlatPat(特許庁公式サイト)で参照する
関連特許
株式会社日立製作所
鉄道車両
5日前
株式会社日立製作所
ガス分離システム
5日前
株式会社日立製作所
調停案提示システム
6日前
株式会社日立製作所
部品管理装置及び方法
12日前
株式会社日立製作所
ソフトウェア生成システム
15日前
株式会社日立製作所
情報処理装置、情報処理方法
14日前
株式会社日立製作所
治療効果予測システムおよび方法
6日前
株式会社日立製作所
蒸発乾固装置および蒸発乾固方法
13日前
株式会社日立製作所
計算機システム及び障害対処支援方法
6日前
株式会社日立製作所
情報処理システム、及び情報処理方法
14日前
株式会社日立製作所
情報処理システム、及び情報処理方法
12日前
株式会社日立製作所
圧延設定支援装置及び圧延設定支援方法
5日前
株式会社日立製作所
設計図書のチェックシステムおよび方法
19日前
株式会社日立製作所
半導体装置および半導体装置の駆動方法
15日前
株式会社日立製作所
故障要因分析装置及び故障要因分析方法
13日前
株式会社日立製作所
説明情報生成装置及び説明情報生成方法
13日前
株式会社日立製作所
燃料電池ブロックおよび燃料電池システム
6日前
株式会社日立製作所
臨床試験計画装置および臨床試験計画方法
14日前
株式会社日立製作所
制御設計支援方法、および、制御設計支援装置
15日前
株式会社日立製作所
制御装置,移動体,制御システム及び制御方法
8日前
株式会社日立製作所
搬送装置を制御する制御システム及び制御方法
5日前
株式会社日立製作所
不具合文書処理装置、及び不具合文書処理方法
今日
株式会社日立製作所
エレベーター、操作盤、エレベーターの制御方法
19日前
株式会社日立製作所
生産ラインを編成する装置、システムおよび方法
7日前
株式会社日立製作所
異常事象対処支援装置および異常事象対処支援方法
7日前
株式会社日立製作所
エンティティ抽出システム、エンティティ選択方法
7日前
株式会社日立製作所
クラウドデータベースシステム及びデータ管理方法
14日前
株式会社日立製作所
情報処理装置、情報処理方法、及び情報処理プログラム
今日
株式会社日立製作所
行動処理装置、行動処理方法および行動処理プログラム
19日前
株式会社日立製作所
運用管理装置、運用管理方法、及び運用管理プログラム
15日前
株式会社日立製作所
ストレージシステム及びストレージシステムの制御方法
13日前
株式会社日立製作所
速度異常検出装置、乗客コンベア及び速度異常検出方法
14日前
株式会社日立製作所
水電解システムの運用装置及び水電解システムの運用方法
13日前
株式会社日立製作所
情報処理方法、情報処理プログラム、及び情報処理システム
12日前
株式会社日立製作所
ロボット制御装置、ロボット、及び、ロボット制御システム
13日前
株式会社日立製作所
代替材料提案システム、代替材料提案方法およびプログラム
14日前
続きを見る
他の特許を見る