TOP
|
特許
|
意匠
|
商標
特許ウォッチ
Twitter
他の特許を見る
公開番号
2025144901
公報種別
公開特許公報(A)
公開日
2025-10-03
出願番号
2024044818
出願日
2024-03-21
発明の名称
エレベーター、操作盤、エレベーターの制御方法
出願人
株式会社日立製作所
代理人
弁理士法人信友国際特許事務所
主分類
B66B
1/46 20060101AFI20250926BHJP(巻上装置;揚重装置;牽引装置)
要約
【課題】非接触センサーによる誤登録を防止することが可能なエレベーターを提供する。
【解決手段】複数の非接触センサーを有する操作盤と、前記各非接触センサーからの信号を処理する信号処理部と、前記信号処理部での処理結果に基づいて乗りかごの駆動を制御する制御装置とを備えたエレベーターにおいて、前記各非接触センサーは、前記各非接触センサーに対して所定距離の範囲内に近接する物体の面積を検知可能であり、前記信号処理部は、前記各非接触センサーでの前記物体の検知面積に基づいて、非接触センサーが操作されたか否かを判断するエレベーターである。
【選択図】図3
特許請求の範囲
【請求項1】
複数の非接触センサーを有する操作盤と、前記各非接触センサーからの信号を処理する信号処理部と、前記信号処理部での処理結果に基づいて乗りかごの駆動を制御する制御装置とを備えたエレベーターにおいて、
前記各非接触センサーは、前記各非接触センサーに対して所定距離の範囲内に近接する物体の面積を検知可能であり、
前記信号処理部は、前記各非接触センサーでの前記物体の検知面積に基づいて、非接触センサーが操作されたか否かを判断する
エレベーター。
続きを表示(約 1,000 文字)
【請求項2】
前記信号処理部は、物体の近接を検知した前記各非接触センサーのうち、前記検知面積が予め設定した閾値以下の非接触センサーのみを、操作された非接触センサーであると判断する
請求項1に記載のエレベーター。
【請求項3】
前記信号処理部は、前記各非接触センサーのうちの複数の非接触センサーが物体の近接を同時に検知した場合、前記非接触センサーの感度を一時的に低下させる
請求項1に記載のエレベーター。
【請求項4】
前記信号処理部は、前記非接触センサーの感度を低下させた状態で、前記検知面積が予め設定した閾値以下である非接触センサーのみを、操作された非接触センサーであると判断する
請求項3に記載のエレベーター。
【請求項5】
前記信号処理部は、前記各非接触センサーのうちの複数の非接触センサーが物体の近接を同時に検知した場合、前記検知面積が最も大きい非接触センサーのみを、操作された非接触センサーであると判断する
請求項1に記載のエレベーター。
【請求項6】
前記各非接触センサーは、呼びを登録するためのセンサーであり、
前記制御装置は、前記信号処理部において操作されたと判断した非接触センサーに対応する呼びを登録する
請求項1に記載のエレベーター。
【請求項7】
前記信号処理部は、前記操作盤に設けられている
請求項1に記載のエレベーター。
【請求項8】
前記操作盤は、前記各非接触センサーに対応する複数の接触センサーを有し、
前記制御装置は、前記信号処理部からの信号および前記各接触センサーからの信号に基づいて、乗りかごの駆動を制御する
請求項1に記載のエレベーター。
【請求項9】
前記各非接触センサーと前記各接触センサーとは、同一の操作ボタンの範囲に配置されている
請求項8に記載のエレベーター。
【請求項10】
複数の非接触センサーと、前記各非接触センサーからの信号を処理する信号処理部とを備えた操作盤において、
前記各非接触センサーは、前記各非接触センサーに対して所定距離の範囲内に近接する物体の面積を検出可能であり、
前記信号処理部は、前記各非接触センサーでの前記物体の検出面積に基づいて、前記各非接触センサーのオン/オフを判断する
操作盤。
(【請求項11】以降は省略されています)
発明の詳細な説明
【技術分野】
【0001】
本発明は、エレベーター、操作盤、エレベーターの制御方法に関する。
続きを表示(約 1,600 文字)
【背景技術】
【0002】
非接触で乗りかごの呼びを登録する技術として、下記特許文献1に開示の技術がある。この特許文献1には、「選択部は、各非接触センサが操作を検出したタイミング(順序)が遅い第1センサに対する操作を選択し、早い第2センサに対する操作を非選択とする。あるいは、操作盤の右側がかごの隅部に近い場合、選択部は、より該隅部に近い方の列に属する第1センサに対する操作を選択し、より該隅部から遠い方の列に属する第2センサに対する操作を非選択としてもよい。」と記載されている。
【先行技術文献】
【特許文献】
【0003】
特開2022-2991号公報
【発明の概要】
【発明が解決しようとする課題】
【0004】
しかしながら上述した技術では、操作者である乗客の手の動きによっては、意図しない登録が実施される場合もあり、また鞄や荷物の接近による誤登録が発生する場合もある。
【0005】
そこで本発明は、非接触センサーによる誤登録を防止することが可能なエレベーター、操作盤、およびエレベーター制御方法を提供することを目的とする。
【課題を解決するための手段】
【0006】
上記課題を解決するために、例えば特許請求の範囲に記載の構成を採用する。
本願は上記課題を解決する手段を複数含んでいるが、その一例を挙げるならば、複数の非接触センサーを有する操作盤と、前記各非接触センサーからの信号を処理する信号処理部と、前記信号処理部での処理結果に基づいて乗りかごの駆動を制御する運転制御部とを備えたエレベーターにおいて、前記各非接触センサーは、前記各非接触センサーに対して所定距離の範囲内に近接する物体の面積を検知可能であり、前記信号処理部は、前記各非接触センサーでの前記物体の検知面積に基づいて、非接触センサーが操作されたか否かを判断するエレベーターである。
【発明の効果】
【0007】
本発明により、非接触センサーによる誤登録を防止することが可能なエレベーター、操作盤、およびエレベーター制御方法を提供することを目的とする。
【図面の簡単な説明】
【0008】
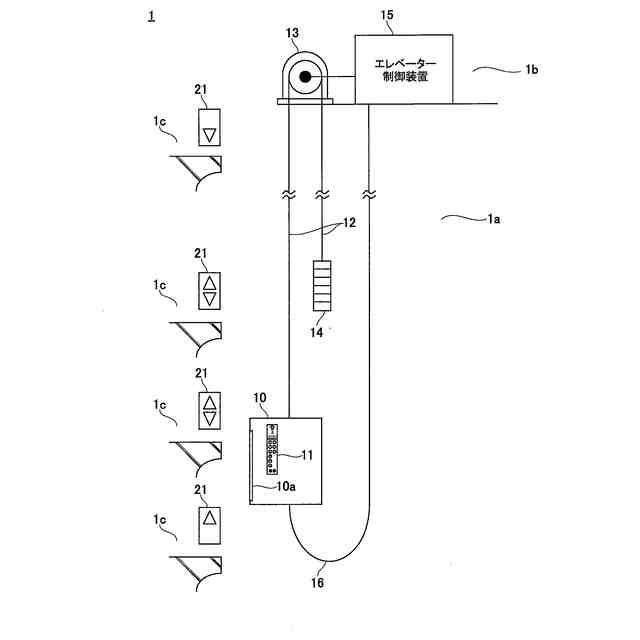
実施形態に係るエレベーターの全体構成図である。
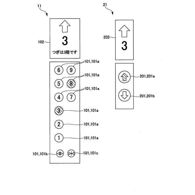
実施形態に係るエレベーターの操作盤の外観を示す図である。
実施形態に係るエレベーターのブロック図である。
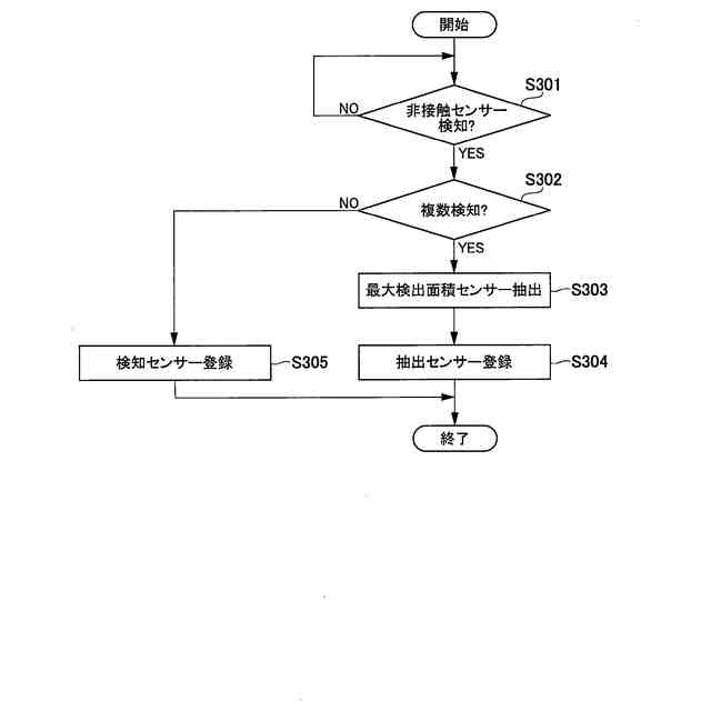
実施形態に係るエレベーターの制御方法の第1例を示すフローチャートである。
非接触センサーによる検出範囲を説明する図(その1)である。
非接触センサーによる検出範囲を説明する図(その2)である。
実施形態に係るエレベーターの制御方法の第2例を示すフローチャートである。
実施形態に係るエレベーターの制御方法の第3例を示すフローチャートである。
【発明を実施するための形態】
【0009】
以下、本発明を適用した実施の形態を図面に基づいて詳細に説明する。ここでは先ず、本発明の操作盤を有するエレベーターの構成を説明し、次いでこの操作盤の操作によって実施されるエレベーターの制御方法の各例を説明する。なお、実施形態において参照する図面においては、同一構成要素に同一の符号を付し、重複する説明は省略する。
【0010】
≪エレベーター≫
図1は、実施形態に係るエレベーター1の全体構成図である。図1に示すエレベーター1は、乗りかご10を有する。乗りかご10は、かご内に乗り込むためのかごドア10aを有し、また内部には、以降に詳細に説明するかご内操作盤11が設けられている。このような乗りかご10は、建物に沿って上下方向に延びる走行路1a内に、主ロープ12によって吊り下げされたものである。
(【0011】以降は省略されています)
この特許をJ-PlatPat(特許庁公式サイト)で参照する
関連特許
株式会社日立製作所
制御装置
1か月前
株式会社日立製作所
鉄道車両
13日前
株式会社日立製作所
半導体装置
21日前
株式会社日立製作所
レール把持装置
1か月前
株式会社日立製作所
形状制御システム
7日前
株式会社日立製作所
ガス濃度測定装置
13日前
株式会社日立製作所
欠陥知識循環システム
27日前
株式会社日立製作所
受診支援装置および方法
1か月前
株式会社日立製作所
計画装置および計画方法
19日前
株式会社日立製作所
ソフトウェア生成システム
1日前
株式会社日立製作所
対話システムおよび対話方法
1か月前
株式会社日立製作所
訓練システムおよび訓練方法
9日前
株式会社日立製作所
直動接点および巻線切替装置
1か月前
株式会社日立製作所
管理システムおよび管理方法
9日前
株式会社日立製作所
情報処理装置、情報処理方法
今日
株式会社日立製作所
情報処理装置及び情報処理方法
9日前
株式会社日立製作所
費用対効果算出方法および装置
7日前
株式会社日立製作所
人物特性推定システム及び方法
28日前
株式会社日立製作所
回転電機および電動機システム
5日前
株式会社日立製作所
情報処理装置及び情報処理方法
5日前
株式会社日立製作所
搬送制御装置及び搬送制御方法
1か月前
株式会社日立製作所
状態検知装置及び状態検知方法
21日前
株式会社日立製作所
電力変換器およびインバータ装置
9日前
株式会社日立製作所
再エネ調達手段選定支援システム
1か月前
株式会社日立製作所
情報処理システム、情報処理方法
1か月前
株式会社日立製作所
情報処理システム、及び予測方法
6日前
株式会社日立製作所
電子機器および電子機器制御方法
21日前
株式会社日立製作所
設計支援装置および設計支援方法
1か月前
株式会社日立製作所
計算機システム及びデータ検索方法
9日前
株式会社日立製作所
Webページ更新管理装置及び方法
13日前
株式会社日立製作所
建物管理システム及び建物管理方法
19日前
株式会社日立製作所
音声分析システム及び音声分析方法
13日前
株式会社日立製作所
昇降機システム及び昇降機制御方法
9日前
株式会社日立製作所
情報処理システム及び情報処理方法
1か月前
株式会社日立製作所
異常検知システム及び異常検知方法
19日前
株式会社日立製作所
障害対応システム及び障害対応方法
27日前
続きを見る
他の特許を見る