TOP
|
特許
|
意匠
|
商標
特許ウォッチ
Twitter
他の特許を見る
10個以上の画像は省略されています。
公開番号
2025134153
公報種別
公開特許公報(A)
公開日
2025-09-17
出願番号
2024031874
出願日
2024-03-04
発明の名称
電子機器および電子機器制御方法
出願人
株式会社日立製作所
代理人
弁理士法人信友国際特許事務所
主分類
G06F
11/07 20060101AFI20250909BHJP(計算;計数)
要約
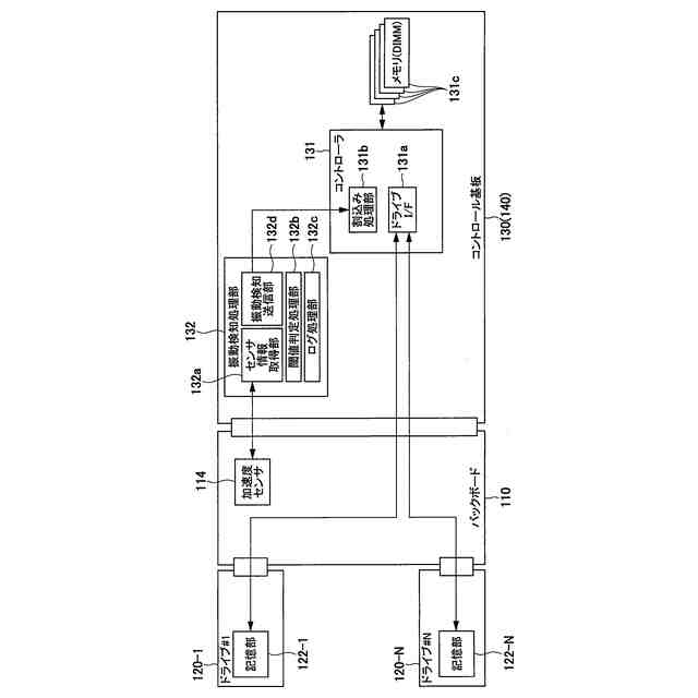
【課題】ストレージ装置等の電気機器において、地震等の衝撃発生時に、コネクタ等による接続に異常が発生し、データ転送できない際の対処が簡単な構成で行えるようにする。
【解決手段】データを記憶するドライブ装置120と、ドライブ装置120と他の装置とのデータ転送を制御するコントローラ131が配置されたコントロール基板130とが、コネクタ111,113を介して接続される電子機器100に適用される。電子機器100は、加速度センサ114と、加速度センサ114が上限の閾値を超える加速度を検知したとき、ドライブ装置120とコントローラ131との通信状態を制御して、コネクタなどを介した接続に異常が発生している可能性がある期間、ドライブ装置120によるデータ転送を一時停止させ、加速度センサ114が下限の閾値を以下の加速度を検知したとき、一時停止したデータ転送を再開させる振動検知処理部132と、を備える。
【選択図】図1
特許請求の範囲
【請求項1】
データを記憶するドライブ装置と、前記ドライブ装置と他の装置とのデータ転送を制御するコントローラが配置されたコントロール基板とが、コネクタを介して接続される電子機器であり、
振動の発生を検知する加速度センサと、
前記加速度センサが上限の閾値を超える加速度を検知したとき、前記ドライブ装置と前記コントローラとの通信状態を制御して、前記ドライブ装置によるデータ転送を一時停止させ、前記加速度センサが下限の閾値を以下の加速度を検知したとき、前記一時停止が行われたデータ転送を再開させる振動検知処理部と、を備える
電子機器。
続きを表示(約 950 文字)
【請求項2】
前記振動検知処理部は、前記コントローラに対して、前記ドライブ装置との通信のステートを、通常ステートからデータ転送停止のステートに変化させ、再開時に、前記通常ステートに変化させる
請求項1に記載の電子機器。
【請求項3】
前記データ転送停止のステートの間、前記コントロール基板に配置されたメモリが、転送中のデータを蓄積し、前記一時停止が行われたデータ転送の再開後に、前記メモリが蓄積したデータを前記ドライブ装置に転送する
請求項2に記載の電子機器。
【請求項4】
前記メモリがデータの蓄積ができない状況になったとき、当該電子機器を停止処理する
請求項3に記載の電子機器。
【請求項5】
前記ドライブ装置と、前記コントロール基板は、筐体に取り付けられたバックボードに装着され、
前記加速度センサは、前記バックボードに配置した
請求項1に記載の電子機器。
【請求項6】
前記ドライブ装置と、前記コントロール基板は、筐体に取り付けられたバックボードに装着され、さらに前記コントロール基板の一部は、前記筐体にネジで取り付けられ、
前記加速度センサは、前記コントロール基板の前記ネジが取り付けられた箇所の近傍に配置した
請求項1に記載の電子機器。
【請求項7】
前記振動検知処理部は、前記上限の閾値と前記下限の閾値を、外部からの指示で変更できるようにした
請求項1に記載の電子機器。
【請求項8】
データを記憶するドライブ装置と、前記ドライブ装置と他の装置とのデータ転送を制御するコントローラが配置されたコントロール基板とが、コネクタを介して接続される電子機器に適用される電子機器制御方法であり、
振動の発生を検知する加速度センサが検知した加速度が、上限の閾値を超えるとき、前記ドライブ装置によるデータ転送を一時停止させる一時停止処理と、
前記一時停止処理を行った後に、前記加速度センサが下限の閾値を以下の加速度を検知したとき、前記一時停止が行われたデータ転送を再開させる再開処理と、を含む
電子機器制御方法。
発明の詳細な説明
【技術分野】
【0001】
本発明は、電子機器および電子機器制御方法に関する。
続きを表示(約 1,900 文字)
【背景技術】
【0002】
電子機器の1つとして、大容量のデータを記憶するストレージ装置が各種開発されている。ストレージ装置は、ソリッドステートドライブ(Solid State Drive:SSD)やハードディスクドライブ(Hard Disk Drive:HDD)を使用したものが一般的である。
これらのストレージ装置は、SSDやHDDなどのドライブ装置を、複数組み合わせて必要な記録容量を確保すると共に、その複数のドライブ装置を制御するコントローラを備えている。
【0003】
複数のドライブ装置やコントローラは、バックボードと称される基板に、コネクタを介して接続される。なお、装置の冗長性を持たせるために、コントローラの基板についても、複数用意する場合がある。
複数のドライブ装置やコントローラ基板を、コネクタを介して接続した場合、データ転送中に、地震などによる衝撃が加わった場合、コネクタを介したデータ転送に異常が発生する可能性がある。
【0004】
すなわち、コネクタは、機構的に多少の振動では切り離されない構造になっているが、振動によってチャタリングが起きるため、データ転送状態が不安定になる場合がある。特に近年は、データ転送時の転送レートが高くなる傾向にあると共に、コネクタ自体も微細化しているため、振動発生時にデータ転送が正しくできない場合が増えている。
【0005】
ストレージ装置では、データ転送中に異常が発生して、データ転送が途切れた場合、どの箇所のデータがロスしたのかがわからないため、記録データを全てチェックする必要がある。このため、各ストレージ装置は、データ転送完了までに非常に長い時間を必要とする。また、異常の発生状況によっては、自動で復旧しない場合も考えられる。したがって、ストレージ装置は、地震などの衝撃に対処することが好ましい。
【0006】
特許文献1には、情報処理装置において、落下等による衝撃を受ける可能性の予測を加速度センサによって検出する技術が記載されている。この特許文献1に記載された技術は、落下等による衝撃の影響を受けている可能性のある転送中のセクタを判断する。そして、そのセクタの情報をレジスタに書き込ませ、転送再開時にレジスタに保存されたデータから転送を再開するようにしている。
【先行技術文献】
【特許文献】
【0007】
特開2005-182773号公報
【発明の概要】
【発明が解決しようとする課題】
【0008】
特許文献1に記載される技術は、装置の落下中であることを検知して、落下した装置が床などで当たって衝撃を受ける前に、レジスタに保存するようにしている。しかし、特許文献1に記載される技術は、地震のように、不用意に発生する衝撃には対処することができない。
従来、地震のような衝撃に対処するためには、例えばストレージ装置を、免震装置を介して配置して、地震が発生してもストレージ装置が揺れない構造とすることが考えられる。しかしながら、そのような免震装置を使用すると、ストレージ装置が大掛かりなものになり、高価な構成になってしまうという問題がある。
【0009】
本発明は、これらの点に鑑みて、ストレージ装置などの電気機器において、地震などの衝撃発生時に、簡単な構成でデータ転送ができない状況の対処が可能な電子機器および電子機器制御方法を提供することを目的とする。
【課題を解決するための手段】
【0010】
上記課題を解決するために、例えば請求の範囲に記載の構成を採用する。
本願は、上記課題を解決する手段を複数含んでいるが、その一例を挙げるならば、電子機器として、データを記憶するドライブ装置と、ドライブ装置と他の装置とのデータ転送を制御するコントローラが配置されたコントロール基板とが、コネクタを介して接続される構成であり、振動の発生を検知する加速度センサと、加速度センサが上限の閾値を超える加速度を検知したとき、ドライブ装置とコントローラとの通信状態をコントローラが制御して、ドライブ装置とコントローラとのデータ転送を一時停止させ、加速度センサが下限の閾値を以下の加速度を検知したとき、一時停止したデータ転送を再開させる振動検知処理部とを備える。
【発明の効果】
(【0011】以降は省略されています)
この特許をJ-PlatPat(特許庁公式サイト)で参照する
関連特許
株式会社日立製作所
鉄道車両
13日前
株式会社日立製作所
制御装置
1か月前
株式会社日立製作所
半導体装置
21日前
株式会社日立製作所
レール把持装置
1か月前
株式会社日立製作所
形状制御システム
7日前
株式会社日立製作所
ガス濃度測定装置
13日前
株式会社日立製作所
環境評価システム
1か月前
株式会社日立製作所
欠陥知識循環システム
27日前
株式会社日立製作所
計画装置および計画方法
19日前
株式会社日立製作所
受診支援装置および方法
1か月前
株式会社日立製作所
ソフトウェア生成システム
1日前
株式会社日立製作所
管理システムおよび管理方法
9日前
株式会社日立製作所
対話システムおよび対話方法
1か月前
株式会社日立製作所
直動接点および巻線切替装置
1か月前
株式会社日立製作所
訓練システムおよび訓練方法
9日前
株式会社日立製作所
情報処理装置、情報処理方法
今日
株式会社日立製作所
情報処理装置及び情報処理方法
9日前
株式会社日立製作所
状態検知装置及び状態検知方法
21日前
株式会社日立製作所
人物特性推定システム及び方法
28日前
株式会社日立製作所
搬送制御装置及び搬送制御方法
1か月前
株式会社日立製作所
情報処理装置及び情報処理方法
5日前
株式会社日立製作所
回転電機および電動機システム
5日前
株式会社日立製作所
費用対効果算出方法および装置
7日前
株式会社日立製作所
電子機器および電子機器制御方法
21日前
株式会社日立製作所
電力変換器およびインバータ装置
9日前
株式会社日立製作所
再エネ調達手段選定支援システム
1か月前
株式会社日立製作所
情報処理システム、及び予測方法
6日前
株式会社日立製作所
情報処理システム、情報処理方法
1か月前
株式会社日立製作所
設計支援装置および設計支援方法
1か月前
株式会社日立製作所
物流計画システム及び物流計画方法
7日前
株式会社日立製作所
Webページ更新管理装置及び方法
13日前
株式会社日立製作所
計算機システム及びデータ検索方法
9日前
株式会社日立製作所
建物管理システム及び建物管理方法
19日前
株式会社日立製作所
異常検知システム及び異常検知方法
19日前
株式会社日立製作所
音声分析システム及び音声分析方法
13日前
株式会社日立製作所
情報抽出システム及び情報抽出方法
1か月前
続きを見る
他の特許を見る