TOP
|
特許
|
意匠
|
商標
特許ウォッチ
Twitter
他の特許を見る
公開番号
2025132803
公報種別
公開特許公報(A)
公開日
2025-09-10
出願番号
2024030608
出願日
2024-02-29
発明の名称
人物特性推定システム及び方法
出願人
株式会社日立製作所
代理人
弁理士法人サンネクスト国際特許事務所
主分類
G06T
7/00 20170101AFI20250903BHJP(計算;計数)
要約
【課題】心理特性の推定のための専用の行動を対象者が行うこと無しに対象者の心理特性を推定する。
【解決手段】システムは、対象者により行われた行動に関わり一つ又は複数のセンサによる計測に基づく計測データを対象者装置から受け、当該計測データから、対象者意思の指定を除く全て又は一部の行動である関連行動の関連行動データを生成する。システムは、一つ又は複数の関連行動の各々についての関連行動データを基に、それぞれが非言語特徴量である一つ又は複数の行動特徴量を取得し、当該一つ又は複数の行動特徴量を基に、対象者の心理特性を推定する。システムは、推定された当該心理特性を表すデータである推定心理特性データを出力する。
【選択図】図1
特許請求の範囲
【請求項1】
一つ又は複数のセンサを有する装置である対象者装置に接続されたインターフェース装置と、
前記インターフェース装置に接続された演算装置と
を備え、
前記演算装置は、対象者により行われた行動に関わり前記一つ又は複数のセンサによる計測に基づく計測データを前記対象者装置から前記インターフェース装置を通じて受け、
前記演算装置は、当該計測データから、対象者意思の指定を除く全て又は一部の行動である関連行動の関連行動データを生成し、
前記演算装置は、一つ又は複数の関連行動の各々についての関連行動データを基に、それぞれが非言語特徴量である一つ又は複数の行動特徴量を取得し、当該一つ又は複数の行動特徴量を基に、前記対象者の心理特性を推定し、
前記演算装置は、推定された当該心理特性を表すデータである推定心理特性データを出力する、
人物特性推定システム。
続きを表示(約 1,900 文字)
【請求項2】
前記一つ又は複数のセンサは、カメラを含み、
前記計測データは、前記カメラにより撮影された前記対象者が映っている動画を表すデータである動画データを含み、
前記演算装置は、前記動画データから、前記対象者の頭部それ自体の領域又は前記対象者の頭部を含んだ領域である頭部領域を認識し、
前記演算装置は、当該頭部領域に関し算出された行動特徴量のエンハンス量を、当該頭部領域以外に関し算出された行動特徴量のエンハンス量よりも大きくする、
請求項1に記載の人物特性推定システム。
【請求項3】
前記演算装置は、前記対象者の行動がどのぐらい大きいかの行動特徴量のエンハンス量を、前記対象者の行動がどのぐらい小さいかの行動特徴量のエンハンス量よりも大きくする、
請求項1に記載の人物特性推定システム。
【請求項4】
関連行動の関連行動データから関連行動の値である関連行動値が取得され、
前記対象者の行動がどのぐらい大きいかの行動特徴量は、関連行動値の時系列の平均値、標準偏差、中央値、第三四分位及び最大値の少なくとも一つであり、
前記対象者の行動がどのぐらい小さいかの行動特徴量は、関連行動値の時系列の最小値、第一四分位及び第二四分位の少なくとも一つである、
請求項3に記載の人物特性推定システム。
【請求項5】
前記関連行動データとして、前記対象者へ質問が提供されてから当該質問に対して回答がされるまでの回答時間の長さを表すデータがあり、
前記一つ又は複数の行動特徴量は、前記回答時間又はその変化量に基づく行動特徴量を含む、
請求項1に記載の人物特性推定システム。
【請求項6】
前記一つ又は複数のセンサは、カメラを含み、
前記計測データは、前記カメラにより撮影された前記対象者が映っている動画を表すデータである動画データを含み、
関連行動データから関連行動の値である関連行動値が取得され、
行動特徴量は、関連行動値の時系列から取得され、
前記演算装置は、前記動画データの測定窓範囲毎に、当該測定窓範囲を構成する連続したフレームの関連行動値の変化が条件を満たすか判定し、当該判定の結果が真の場合、当該条件を満たす関連行動値を外れ値として検出し、検出された外れ値を補正する、
請求項1に記載の人物特性推定システム。
【請求項7】
前記演算装置は、前記測定窓範囲毎に、当該測定窓範囲内の中央値に対する各関連行動値の標準偏差を推定し、中央値から標準偏差のN倍より大きい関連行動値が当該測定窓範囲内にあるか否かを判定し(Nは1より大きい所定の値)、当該判定結果が真の関連行動値である外れ値がある場合、当該外れ値を中央値に置き換える、
請求項6に記載の人物特性推定システム。
【請求項8】
前記計測データは、仮想ロボットが面接官であり対象者が被面接者である面接であるセルフ面接において前記対象者により行われた行動に関わり前記一つ又は複数のセンサによる計測に基づくデータである、
請求項1に記載の人物特性推定システム。
【請求項9】
対象者により行われた行動に関わり一つ又は複数のセンサによる計測に基づく計測データを対象者装置から受け、
当該計測データから、対象者意思の指定を除く全て又は一部の行動である関連行動の関連行動データを生成し、
一つ又は複数の関連行動の各々についての関連行動データを基に、それぞれが非言語特徴量である一つ又は複数の行動特徴量を取得し、当該一つ又は複数の行動特徴量を基に、前記対象者の心理特性を推定し、
推定された当該心理特性を表すデータである推定心理特性データを出力する、
ことをコンピュータにより行う人物特性推定方法。
【請求項10】
対象者により行われた行動に関わり一つ又は複数のセンサによる計測に基づく計測データを対象者装置から受け、
当該計測データから、対象者意思の指定を除く全て又は一部の行動である関連行動の関連行動データを生成し、
一つ又は複数の関連行動の各々についての関連行動データを基に、それぞれが非言語特徴量である一つ又は複数の行動特徴量を取得し、当該一つ又は複数の行動特徴量を基に、前記対象者の心理特性を推定し、
推定された当該心理特性を表すデータである推定心理特性データを出力する、
ことをコンピュータに実行させるコンピュータプログラム。
発明の詳細な説明
【技術分野】
【0001】
本発明は、概して、人物特性の推定のための技術に関する。
続きを表示(約 2,000 文字)
【背景技術】
【0002】
人物特性の一例として、心理特性(パーソナリティ)がある。心理特性の推定技術として、例えば、特許文献1に開示の技術が知られている。特許文献1に開示の技術は、ユーザの発話データに加えてテキストデータに基づきユーザの心理特性を推定する。
【0003】
なお、人物の心理状態を推定する技術として、特許文献2及び特許文献3に開示の技術が知られている。特許文献2に開示の技術は、ユーザのバイタルデータを基にユーザの心理状態を推定する。特許文献3に開示の技術は、生徒の授業を受ける様子を基に生徒の心理特性を推定する。
【先行技術文献】
【特許文献】
【0004】
US10,957,306
特開2022-179438号公報
特開2023-061407号公報
【発明の概要】
【発明が解決しようとする課題】
【0005】
特許文献1に開示の技術では、対象者が、心理特性推定とは別の目的で用意された質問に回答する他に、心理特性推定のために発話等の別の行動をしなくてはならない。そのような別の行動を対象者が行ってくれるとは限らず、故に、対象者について心理特性が推定されるとは限らない。また、入力としてのテキストデータの作成に多大な時間を要するという課題も考えられる。
【0006】
特許文献2及び特許文献3に開示の技術では、一時的な心理状態は推定されるものの、人物固有の心理特性を推定することはできない。
【課題を解決するための手段】
【0007】
システムは、対象者により行われた行動に関わり一つ又は複数のセンサによる計測に基づく計測データを対象者装置から受け、当該計測データから、対象者意思の指定を除く全て又は一部の行動である関連行動の関連行動データを生成する。システムは、一つ又は複数の関連行動の各々についての関連行動データを基に、それぞれが非言語特徴量である一つ又は複数の行動特徴量を取得し、当該一つ又は複数の行動特徴量を基に、対象者の心理特性を推定する。システムは、推定された当該心理特性を表すデータである推定心理特性データを出力する。
【発明の効果】
【0008】
本発明によれば、心理特性の推定のための専用の行動を対象者が行うこと無しに対象者の心理特性を推定することができる。
【図面の簡単な説明】
【0009】
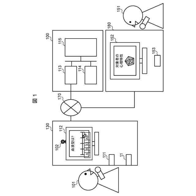
第1の実施形態に係るシステム全体の構成例を示す。
第1の実施形態に係るシステム全体におけるデータと機能を示す。
第1の実施形態で行われる処理の流れの例を示す。
対象、対象詳細、データ項目及び行動特徴量の関係の例を示す。
カメラフレームにおける人物とランドマーク検出の例を示す。
頭部に関する行動特徴量分布の例を示す。
肩に関する行動特徴量分布の例を示す。
調和性と最大回答時間との関係の例を示す。
第2の実施形態に係るシステム全体におけるデータと機能を示す。
外れ値判定の例の説明図である。
第1及び第2の実施形態に係る人物特性推定システムのプラクティカルアプリケーションの一例を示す。
【発明を実施するための形態】
【0010】
以下の説明では、「インターフェース装置」は、一つ以上のインターフェースデバイスでよい。当該一つ以上のインターフェースデバイスは、下記のうちの少なくとも一つでよい。
・一つ以上のI/O(Input/Output)インターフェースデバイスであるI/Oインターフェース装置。I/O(Input/Output)インターフェースデバイスは、I/Oデバイスと遠隔の表示用計算機とのうちの少なくとも一つに対するインターフェースデバイスである。表示用計算機に対するI/Oインターフェースデバイスは、通信インターフェースデバイスでよい。少なくとも一つのI/Oデバイスは、ユーザインターフェースデバイス、例えば、キーボード及びポインティングデバイスのような入力デバイスと、表示デバイスのような出力デバイスとのうちのいずれでもよい。
・一つ以上の通信インターフェースデバイスである通信インターフェース装置。一つ以上の通信インターフェースデバイスは、一つ以上の同種の通信インターフェースデバイス(例えば一つ以上のNIC(Network Interface Card))であってもよいし二つ以上の異種の通信インターフェースデバイス(例えばNICとHBA(Host Bus Adapter))であってもよい。
(【0011】以降は省略されています)
この特許をJ-PlatPat(特許庁公式サイト)で参照する
関連特許
株式会社日立製作所
鉄道車両
9日前
株式会社日立製作所
半導体装置
17日前
株式会社日立製作所
形状制御システム
3日前
株式会社日立製作所
ガス濃度測定装置
9日前
株式会社日立製作所
欠陥知識循環システム
23日前
株式会社日立製作所
計画装置および計画方法
15日前
株式会社日立製作所
管理システムおよび管理方法
5日前
株式会社日立製作所
訓練システムおよび訓練方法
5日前
株式会社日立製作所
費用対効果算出方法および装置
3日前
株式会社日立製作所
状態検知装置及び状態検知方法
17日前
株式会社日立製作所
情報処理装置及び情報処理方法
1日前
株式会社日立製作所
回転電機および電動機システム
1日前
株式会社日立製作所
人物特性推定システム及び方法
24日前
株式会社日立製作所
情報処理装置及び情報処理方法
5日前
株式会社日立製作所
電力変換器およびインバータ装置
5日前
株式会社日立製作所
電子機器および電子機器制御方法
17日前
株式会社日立製作所
情報処理システム、及び予測方法
2日前
株式会社日立製作所
異常検知システム及び異常検知方法
15日前
株式会社日立製作所
障害対応システム及び障害対応方法
23日前
株式会社日立製作所
計算機システム及びデータ検索方法
5日前
株式会社日立製作所
建物管理システム及び建物管理方法
15日前
株式会社日立製作所
音声分析システム及び音声分析方法
9日前
株式会社日立製作所
昇降機システム及び昇降機制御方法
5日前
株式会社日立製作所
Webページ更新管理装置及び方法
9日前
株式会社日立製作所
物流計画システム及び物流計画方法
3日前
株式会社日立製作所
データ出力装置およびデータ出力方法
5日前
株式会社日立製作所
通貨管理システム、及び通貨管理方法
9日前
株式会社日立製作所
制御装置、制御方法およびプログラム
17日前
株式会社日立製作所
電力監視システムおよび電力監視方法
15日前
株式会社日立製作所
設計図書のチェックシステムおよび方法
1日前
株式会社日立製作所
計算機システム及びタスクの割当制御方法
15日前
株式会社日立製作所
支援装置、支援方法、及び支援プログラム
15日前
株式会社日立製作所
仮想空間生成装置および仮想空間生成方法
1日前
株式会社日立製作所
電力運用管理システム及び電力運用管理方法
15日前
株式会社日立製作所
サービス管理システム及びサービス管理方法
15日前
株式会社日立製作所
作業認識支援システム及び作業認識支援方法
5日前
続きを見る
他の特許を見る