TOP
|
特許
|
意匠
|
商標
特許ウォッチ
Twitter
他の特許を見る
10個以上の画像は省略されています。
公開番号
2025138373
公報種別
公開特許公報(A)
公開日
2025-09-25
出願番号
2024037423
出願日
2024-03-11
発明の名称
Webページ更新管理装置及び方法
出願人
株式会社日立製作所
代理人
弁理士法人サンネクスト国際特許事務所
主分類
G06F
40/194 20200101AFI20250917BHJP(計算;計数)
要約
【課題】
Webページの更新履歴をユーザが容易かつ短時間で確認できるようWebページの更新を管理し得るWebページ更新管理装置及び方法を提案する。
【解決手段】
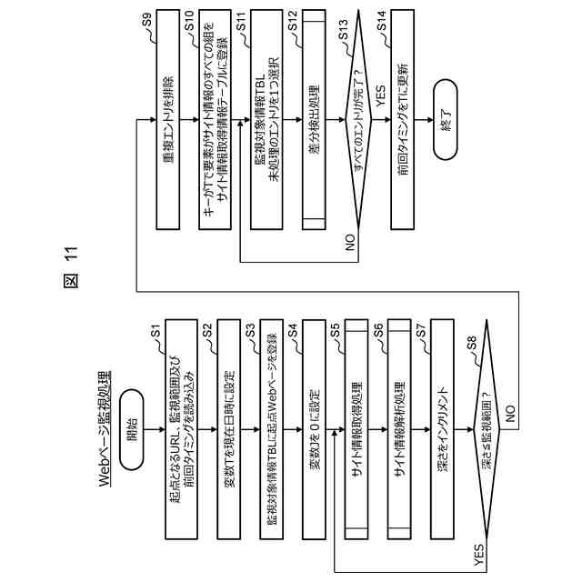
Webページの更新を管理するWebページ更新管理装置及び当該Webページ更新管理装置により実行されるWebページ更新管理方法であって、監視範囲内の各Webページの情報を定期的又は不定期にそれぞれ取得し、監視範囲内の指定されたWebページについて、異なる2つのタイミングで取得した情報を比較して差分を検出し、検出した差分を表示するようにした。
【選択図】 図11
特許請求の範囲
【請求項1】
Webページの更新を管理するWebページ更新管理装置において、
監視範囲内の各前記Webページの情報を定期的又は不定期にそれぞれ取得する情報取得部と、
監視範囲内の指定された前記Webページについて、異なる2つのタイミングで前記情報取得部により取得された前記情報を比較して差分を検出する差分検出部と、
前記差分検出部により検出された前記差分を表示する表示部と
を備えることを特徴とするWebページ更新管理装置。
続きを表示(約 1,600 文字)
【請求項2】
前記Webページの監視範囲は、
起点となる前記Webページ及び当該Webページからの深さを設定することにより指定され、
前記情報取得部は、
監視範囲内の起点となる前記Webページの情報を取得し、取得した情報を解析して当該Webページにリンクが張られた他の前記WebページのURLを抽出した後、
URLを抽出した監視範囲内の各前記Webページの情報をそれぞれ取得し、取得した前記Webページの情報を解析して当該Webページにリンクが張られた前記監視範囲内の他のWebページのURLを抽出する処理を、前記監視範囲として設定された前記深さまで繰り返すようにして、監視範囲内のすべての前記Webページの情報を取得する
ことを特徴とする請求項1に記載のWebページ更新管理装置。
【請求項3】
前記異なる2つのタイミングは、
前記情報取得部が前記Webページの情報を取得した直近2回のタイミングである
ことを特徴とする請求項1に記載のWebページ更新管理装置。
【請求項4】
前記異なる2つのタイミングは、
前記情報取得部が前記Webページの情報を取得したタイミングのうち、ユーザにより指定された任意の2つのタイミングである
ことを特徴とする請求項1に記載のWebページ更新管理装置。
【請求項5】
前記表示部は、
前記差分検出部により検出された前記差分として、該当箇所の内容と、差分の種類とを表示する
ことを特徴とする請求項1に記載のWebページ更新管理装置。
【請求項6】
Webページの更新を管理するWebページ更新管理装置により実行される管理方法であって、
監視範囲内の各前記Webページの情報を定期的又は不定期にそれぞれ取得する第1のステップと、
監視範囲内の指定された前記Webページについて、異なる2つのタイミングで取得した前記情報を比較して差分を検出する第2のステップと、
検出した前記差分を表示する第3のステップと
を備えることを特徴とするWebページ更新管理方法。
【請求項7】
前記Webページの監視範囲は、
起点となる前記Webページ及び当該Webページからの深さを設定することにより指定され、
前記第1のステップにおいて、前記Webページ更新管理装置は、
監視範囲内の起点となる前記Webページの情報を取得し、取得した情報を解析して当該Webページにリンクが張られた他の前記WebページのURLを抽出した後、
URLを抽出した監視範囲内の各前記Webページの情報をそれぞれ取得し、取得した前記Webページの情報を解析して当該Webページにリンクが張られた前記監視範囲内の他のWebページのURLを抽出する処理を、前記監視範囲として設定された前記深さまで繰り返すようにして、監視範囲内のすべての前記Webページの情報を取得する
ことを特徴とする請求項6に記載のWebページ更新管理方法。
【請求項8】
前記異なる2つのタイミングは、
前記Webページの情報を取得した直近2回のタイミングである
ことを特徴とする請求項6に記載のWebページ更新管理方法。
【請求項9】
前記異なる2つのタイミングは、
前記Webページの情報を取得したタイミングのうち、ユーザにより指定された任意の2つのタイミングである
ことを特徴とする請求項6に記載のWebページ更新管理方法。
【請求項10】
前記第3のステップにおいて、前記Webページ更新管理装置は、
検出した前記差分として、該当箇所の内容と、差分の種類とを表示する
ことを特徴とする請求項6に記載のWebページ更新管理方法。
発明の詳細な説明
【技術分野】
【0001】
本発明はWebページ更新管理装置及び方法に関し、例えば、Webページの更新を管理するWebページ更新管理装置に適用して好適なものである。
続きを表示(約 1,300 文字)
【背景技術】
【0002】
システムの管理者や利用者は、システムを正常に稼働させるため又は異常が発生する前に対応するために、そのシステムのベンダが適宜公開するそのシステムに関する更新やサービス終了などの通達情報を確実に取得する必要がある。
【0003】
一方で、システムの通達情報は、管理者や利用者に直接通達されず、そのベンダのWebサイトの特定のWebページで公開され又は既存のWebページを更新することでのみ通達される場合も多い。
【0004】
このため、このような場合に、システムの管理者や利用者は、かかるWebサイトのWebページを開いて過去の内容と照らし合わせて新たな通達情報が掲載されていないか否かを定期的に確認する必要がある。しなしながら、このような確認作業は多大な労力及び時間を要する問題があった。
【0005】
このような問題を解決するための方法として、差分検出などの仕組みを利用してWebサイトの更新を検出する技術が利用される。
【0006】
例えば、特許文献1には、非定期に更新され、かつハイパーテキスト構造をもつ文書の更新を効率的に検出して通知することができる技術が開示され、特許文献2には、文書の変更とその変更の目的及び理由とを確実に対応付けた変更履歴を作成する技術が開示されている。また特許文献3には、文書の更新内容を容易に把握することができる技術が開示されている。さらに非特許文献1には、2つの文書の差分を検出するためのアルゴリズムに関する技術が開示されている。
【先行技術文献】
【特許文献】
【0007】
特開平10‐143418号公報
特開2009‐251666号公報
特開2005‐25620号公報
【非特許文献】
【0008】
Investigating Myers` diff algorithm:Part1of2、[2023年9月6日検索]、インターネット<URL:https://www.codeproject.com/Articles/42279/Investigating-Myers-diff-algorithm-Part-1-of-2>
【発明の概要】
【発明が解決しようとする課題】
【0009】
特許文献1に開示された技術を用いることによって、階層的な構造をもつ文書群に対して、利用者の作業量を増加させることなく、その更新を効果的に監視することができる。しかしながら、特許文献1に開示された技術では、文書にハイパーテキストが追加された場合の更新を検出できるのみであり、文書のハイパーテキスト以外の部分をも含めた更新箇所の把握や更新履歴の表示、及び、任意の版間での比較を行うことができないという問題がある。
【0010】
また特許文献2に開示された技術によれば、文書の更新履歴の作成が可能であるものの、インターネット上の文書に対しては対応できず、この種の文書の更新履歴の作成には人が更新情報を入力する必要がある。
(【0011】以降は省略されています)
この特許をJ-PlatPat(特許庁公式サイト)で参照する
関連特許
個人
詐欺保険
22日前
個人
縁伊達ポイン
22日前
個人
RFタグシート
9日前
個人
地球保全システム
1か月前
個人
QRコードの彩色
26日前
個人
ペルソナ認証方式
6日前
個人
情報処理装置
1日前
個人
自動調理装置
8日前
個人
農作物用途分配システム
21日前
個人
残土処理システム
28日前
個人
表変換編集支援システム
1か月前
個人
タッチパネル操作指代替具
15日前
個人
知的財産出願支援システム
29日前
個人
インターネットの利用構造
5日前
個人
パスワード管理支援システム
1か月前
個人
携帯端末障害問合せシステム
14日前
個人
行動時間管理システム
1か月前
個人
スケジュール調整プログラム
14日前
個人
エリアガイドナビAIシステム
6日前
株式会社キーエンス
受発注システム
1か月前
個人
海外支援型農作物活用システム
1か月前
個人
AIキャラクター制御システム
1か月前
個人
食品レシピ生成システム
1か月前
株式会社キーエンス
受発注システム
1か月前
個人
システム及びプログラム
1か月前
株式会社キーエンス
受発注システム
1か月前
個人
音声対話型帳票生成支援システム
1か月前
個人
音声・通知・再配達UX制御構造
29日前
個人
SaaS型勤務調整支援システム
1か月前
株式会社ワコム
電子ペン
今日
個人
帳票自動生成型SaaSシステム
29日前
大同特殊鋼株式会社
疵判定方法
1か月前
株式会社ワコム
電子ペン
今日
キヤノン株式会社
印刷システム
14日前
個人
未来型家系図構築システム
1か月前
個人
社会還元・施設向け供給支援構造
1か月前
続きを見る
他の特許を見る