TOP
|
特許
|
意匠
|
商標
特許ウォッチ
Twitter
他の特許を見る
10個以上の画像は省略されています。
公開番号
2025140670
公報種別
公開特許公報(A)
公開日
2025-09-29
出願番号
2024040203
出願日
2024-03-14
発明の名称
電力変換器およびインバータ装置
出願人
株式会社日立製作所
代理人
弁理士法人筒井国際特許事務所
主分類
H02M
1/08 20060101AFI20250919BHJP(電力の発電,変換,配電)
要約
【課題】既存の駆動回路からの駆動信号を用いつつ、自律的な同期整流を実現できる電力変換器およびインバータ装置を提供する。
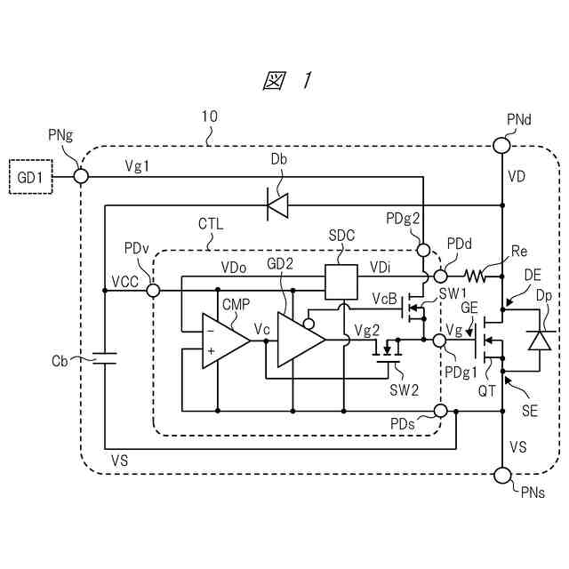
【解決手段】制御回路CTLは、駆動入力端子PDg2と、駆動出力端子PDg1と、ゲートドライバGD2と、スイッチSW1と、を有する。駆動入力端子PDg2は、外部に設けられるゲートドライバGD1からの信号であるゲート電圧信号Vg1を入力する。駆動出力端子PDg1は、スイッチング素子QTのゲート電極GEに接続され、ゲート電極GEにオン/オフ駆動信号を出力する。ゲートドライバGD2は、スイッチング素子QTをオンに駆動するための信号であるゲート電圧信号Vg2を生成する。スイッチSW1は、駆動入力端子PDg2と駆動出力端子PDg1とを接続し、ゲート電圧信号Vg2が生成されている期間でオフに制御される。
【選択図】図1
特許請求の範囲
【請求項1】
制御電極と、第1の電極および第2の電極と、を有し、前記第1の電極および前記第2の電極を介して電力を伝送するスイッチング素子と、
前記スイッチング素子のオン/オフを制御する制御回路と、
を備え、
前記制御回路は、
前記スイッチング素子をオンまたはオフに駆動するための信号であり、外部に設けられる第1の駆動回路からの信号である第1の駆動信号を入力する駆動入力端子と、
前記スイッチング素子の前記制御電極に接続され、前記制御電極にオン/オフ駆動信号を出力する駆動出力端子と、
前記スイッチング素子をオンに駆動するための信号である第2の駆動信号を生成する第2の駆動回路と、
前記駆動入力端子と前記駆動出力端子とを接続し、前記第2の駆動信号が生成されている期間でオフに制御される第1のスイッチと、
を有する、
電力変換器。
続きを表示(約 2,000 文字)
【請求項2】
請求項1に記載の電力変換器において、
前記制御回路は、さらに、
前記スイッチング素子の前記第1の電極および前記第2の電極にそれぞれ接続される第1の端子および第2の端子と、
前記第1の電極に印加される第1の電圧と、前記第2の電極に印加される第2の電圧とを、前記第1の端子および前記第2の端子を介して入力および比較し、前記第1の電圧と前記第2の電圧との大小関係に基づいて前記第1のスイッチを制御する判定回路と、
を有する、
電力変換器。
【請求項3】
請求項2に記載の電力変換器において、
前記制御回路は、さらに、前記第2の駆動回路と前記駆動出力端子との間を接続し、前記第1のスイッチとは相補的にオン/オフが制御される第2のスイッチを有する、
電力変換器。
【請求項4】
請求項2に記載の電力変換器において、
前記第1の電極は、ソース電極またはエミッタ電極であり、
前記第2の電極は、ドレイン電極またはコレクタ電極であり、
前記判定回路は、前記第2の電圧よりも前記第1の電圧の方が高い場合、前記第1のスイッチをオフに制御し、前記第2の電圧よりも前記第1の電圧の方が低い場合、前記第1のスイッチをオンに制御する、
電力変換器。
【請求項5】
請求項2に記載の電力変換器において、
前記第1のスイッチは、MOSFETで構成されている、
電力変換器。
【請求項6】
請求項1に記載の電力変換器において、
前記スイッチング素子は、SiC-MOSFETで構成されている、
電力変換器。
【請求項7】
請求項1に記載の電力変換器において、
前記第1の電極は、ソース電極またはエミッタ電極であり、
前記第2の電極は、ドレイン電極またはコレクタ電極であり、
前記スイッチング素子は、第1の半導体チップに形成され、
前記制御回路は、第2の半導体チップに形成され、前記第1の半導体チップと共に、1個のパッケージ内に封止されており、
前記パッケージは、前記制御電極、前記第1の電極および前記第2の電極をそれぞれ前記パッケージの外部に引き出すための引き出し制御電極、第1の引き出し電極および第2の引き出し電極を有し、
前記第2の半導体チップは、前記第1の引き出し電極に搭載されている、
電力変換器。
【請求項8】
請求項1に記載の電力変換器において、
前記スイッチング素子および前記制御回路は、2セット設けられており、
前記2セットにそれぞれ含まれる2個の前記スイッチング素子は、前記第1の電極が共通に接続されているか、または、前記第2の電極が共通に接続されている、
電力変換器。
【請求項9】
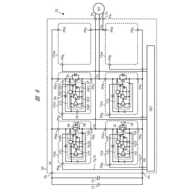
所定相の上アームおよび下アームをそれぞれ構成する複数の電力変換器と、
前記複数の電力変換器を駆動する第1の駆動回路と、
を備え、
前記複数の電力変換器のそれぞれは、
制御電極と、第1の電極および第2の電極と、を有し、前記第1の電極および前記第2の電極を介して電力を伝送するスイッチング素子と、
前記スイッチング素子のオン/オフを制御する制御回路と、
を有し、
前記制御回路は、
前記スイッチング素子をオンまたはオフに駆動するための信号であり、前記第1の駆動回路からの信号である第1の駆動信号を入力する駆動入力端子と、
前記スイッチング素子の前記制御電極に接続され、前記制御電極にオン/オフ駆動信号を出力する駆動出力端子と、
前記スイッチング素子をオンに駆動するための信号である第2の駆動信号を生成する第2の駆動回路と、
前記駆動入力端子と前記駆動出力端子とを接続し、前記第2の駆動信号が生成されている期間でオフに制御される第1のスイッチと、
を備える、
インバータ装置。
【請求項10】
請求項9に記載のインバータ装置において、
前記制御回路は、さらに、
前記スイッチング素子の前記第1の電極および前記第2の電極にそれぞれ接続される第1の端子および第2の端子と、
前記第1の電極に印加される第1の電圧と、前記第2の電極に印加される第2の電圧とを、前記第1の端子および前記第2の端子を介して入力および比較し、前記第1の電圧と前記第2の電圧との大小関係に基づいて前記第1のスイッチを制御する判定回路と、
を有する、
インバータ装置。
(【請求項11】以降は省略されています)
発明の詳細な説明
【技術分野】
【0001】
本発明は、電力変換器、および、それを用いたインバータ装置に関する。
続きを表示(約 2,000 文字)
【背景技術】
【0002】
特許文献1には、デッドタイムを短くできるインバータ装置が示される。当該インバータ装置は、スイッチング素子と、そのオン/オフを指示するための制御信号を出力する制御回路とに加えて、判定回路および駆動回路を備える。判定回路は、スイッチング素子の主端子間電圧に基づいて、スイッチング素子の状態を示す判定信号を出力する。駆動回路は、制御回路からの制御信号と判定回路からの判定信号とに基づいて、スイッチング素子のオン/オフを制御する。例えば、上アームに設けられる駆動回路は、制御回路からの制御信号をレベルシフトした信号と、判定信号とのオア演算によって、スイッチング素子のオン/オフを制御する。
【先行技術文献】
【特許文献】
【0003】
特開2018-207737号公報
【発明の概要】
【発明が解決しようとする課題】
【0004】
インバータ装置は、電源からの直流電力を交流電力に変換して負荷に供給する力行運転と、負荷からの交流電力を整流して電源に回生する回生運転とが可能な装置である。インバータ装置は、例えば、自動車、鉄道車両、産業機器等におけるモータ制御などで広く用いられている。インバータ装置では、通常、上下アームのそれぞれに、相数分の電力変換器が設けられる。電力変換器は、スイッチング素子と、それに並列接続される還流ダイオードとを備える。還流ダイオードには、スイッチング素子の寄生ダイオードも含まれ得る。インバータ装置は、上下アームのスイッチング素子のオン/オフを制御することで、力行運転または回生運転を行う。
【0005】
力行運転または回生運転では、一般的に、オフとなっているスイッチング素子の還流ダイオードに電流が流れる動作である整流動作が行われる。ただし、還流ダイオードに電流を流すと、還流ダイオードの順方向電圧降下によって、電力損失が生じ得る。さらに、スイッチング素子の寄生ダイオードに電流が流れることで、寄生ダイオードの特性が劣化する現象である通電劣化も生じ得る。このため、還流ダイオードの代わりにスイッチング素子に電流を流す方式である同期整流を用いることが有益となる。
【0006】
同期整流を用いる場合、通常、上下アームにおける同一相のスイッチング素子が同時にオンとならないように、制御信号のタイミング設定によってデッドタイムが設けられる。この場合、デッドタイムの期間では、還流ダイオードに電流が流れるため、デッドタイムを可能な限り短くすることが望まれる。このため、例えば、特許文献1に示されるような技術を用いることが考えられる。当該技術を用いると、制御信号のタイミング設定に依らずに自律的な同期整流を行うことで、デッドタイムを短縮できる。
【0007】
一方、例えば、インバータ装置を、既存の装置から新たな装置に置き換えるような場合を想定する。この場合、コスト低減等の観点から、既存の駆動回路、例えばゲートドライバからの駆動信号を流用して、その出力先となる電力変換器の部分のみを置き換えることが望まれる。しかしながら、特許文献1に示されるインバータ装置は、制御回路からの制御信号、詳細にはスイッチング素子のオン/オフを指示するためのロジック信号を入力する必要があった。このため、当該インバータ装置では、既存の駆動信号を流用することが困難となっていた。
【0008】
そこで、本発明の目的の一つは、既存の駆動回路からの駆動信号を用いつつ、自律的な同期整流を実現できる電力変換器およびインバータ装置を提供することにある。
【0009】
本発明の前記並びにその他の目的と新規な特徴は、本明細書の記述及び添付図面から明らかになるであろう。
【課題を解決するための手段】
【0010】
一実施の形態による電力変換器は、制御電極と、第1の電極および第2の電極と、を有し、第1の電極および第2の電極を介して電力を伝送するスイッチング素子と、スイッチング素子のオン/オフを制御する制御回路と、を備える。制御回路は、駆動入力端子と、駆動出力端子と、第2の駆動回路と、第1のスイッチと、を有する。駆動入力端子は、スイッチング素子をオンまたはオフに駆動するための信号であり、外部に設けられる第1の駆動回路からの信号である第1の駆動信号を入力する。駆動出力端子は、スイッチング素子の制御電極に接続され、制御電極にオン/オフ駆動信号を出力する。第2の駆動回路は、スイッチング素子をオンに駆動するための信号である第2の駆動信号を生成する。第1のスイッチは、駆動入力端子と駆動出力端子とを接続し、第2の駆動信号が生成されている期間でオフに制御される。
【発明の効果】
(【0011】以降は省略されています)
この特許をJ-PlatPat(特許庁公式サイト)で参照する
関連特許
株式会社日立製作所
鉄道車両
19日前
株式会社日立製作所
放射線モニタ
12日前
株式会社日立製作所
ガス分離システム
19日前
株式会社日立製作所
システム検証方法
今日
株式会社日立製作所
調停案提示システム
20日前
株式会社日立製作所
部品管理装置及び方法
26日前
株式会社日立製作所
店舗管理装置および方法
今日
株式会社日立製作所
検索システム及び検索方法
今日
株式会社日立製作所
署名照合システム及び方法
6日前
株式会社日立製作所
データ変換装置および方法
13日前
株式会社日立製作所
乗りかご及びエレベーター
1日前
株式会社日立製作所
飲食店提案装置および方法
今日
株式会社日立製作所
乗りかご及びエレベーター
今日
株式会社日立製作所
情報処理装置、情報処理方法
28日前
株式会社日立製作所
蒸発乾固装置および蒸発乾固方法
27日前
株式会社日立製作所
物体検出装置および物体検出方法
6日前
株式会社日立製作所
治療効果予測システムおよび方法
20日前
株式会社日立製作所
単体テスト装置及び単体テスト方法
1日前
株式会社日立製作所
情報処理方法及び情報処理システム
1日前
株式会社日立製作所
計算機システム及びデータ送信方法
7日前
株式会社日立製作所
情報処理システム、及び情報処理方法
26日前
株式会社日立製作所
計算機システム及び障害対処支援方法
20日前
株式会社日立製作所
情報処理システム、及び情報処理方法
28日前
株式会社日立製作所
圧延設定支援装置及び圧延設定支援方法
19日前
株式会社日立製作所
故障要因分析装置及び故障要因分析方法
27日前
株式会社日立製作所
説明情報生成装置及び説明情報生成方法
27日前
株式会社日立製作所
支援装置、支援方法、及び支援プログラム
7日前
株式会社日立製作所
燃料電池ブロックおよび燃料電池システム
20日前
株式会社日立製作所
対話型時系列分析システムおよびその方法
8日前
株式会社日立製作所
臨床試験計画装置および臨床試験計画方法
28日前
株式会社日立製作所
計算機システム及び予測モデルの学習方法
7日前
株式会社日立製作所
ファイル管理システム及びファイル管理方法
今日
株式会社日立製作所
ドア開閉装置、乗りかご、及びエレベーター
1日前
株式会社日立製作所
制御装置,移動体,制御システム及び制御方法
22日前
株式会社日立製作所
搬送装置を制御する制御システム及び制御方法
19日前
株式会社日立製作所
発電計画策定システム並びに発電計画策定方法
7日前
続きを見る
他の特許を見る