TOP
|
特許
|
意匠
|
商標
特許ウォッチ
Twitter
他の特許を見る
公開番号
2025163322
公報種別
公開特許公報(A)
公開日
2025-10-29
出願番号
2024066449
出願日
2024-04-17
発明の名称
発電計画策定システム並びに発電計画策定方法
出願人
株式会社日立製作所
代理人
ポレール弁理士法人
主分類
G06Q
50/06 20240101AFI20251022BHJP(計算;計数)
要約
【課題】多様な状況下における運転実績を計算に反映することで、運転員に対してプラント状態の変化や運用方法の変化を考慮した発電計画を得る。
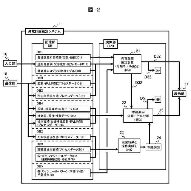
【解決手段】予め入力された条件とモデルを用いて発電プラントの発電計画を策定する発電計画策定計算部と、発電計画策定部で策定した発電計画に基づいて発電プラントを運転したときの操作実績を、発電計画と比較する操作実績比較部と、操作実績比較部での比較により乖離が生じている乖離要因について分析し、乖離要因を解消することができるスケジュールパターンを得る乖離要因分類モデル分析部と、少なくとも発電計画策定計算部で策定した発電計画と乖離要因分類モデル分析部で得たスケジュールパターンを提示する出力部を備えることを特徴とする発電計画策定システム。
【選択図】図2
特許請求の範囲
【請求項1】
予め入力された条件とモデルを用いて発電プラントの発電計画を策定する発電計画策定計算部と、前記発電計画策定計算部で策定した発電計画に基づいて発電プラントを運転したときの操作実績を、前記発電計画と比較する操作実績比較部と、前記操作実績比較部での比較により乖離が生じている乖離要因について分析し、乖離要因を解消することができるスケジュールパターンを得る乖離要因分類モデル分析部と、少なくとも前記発電計画策定計算部で策定した発電計画と乖離要因分類モデル分析部で得た前記スケジュールパターンを提示する出力部を備えることを特徴とする発電計画策定システム。
続きを表示(約 1,200 文字)
【請求項2】
請求項1に記載の発電計画策定システムであって、
前記発電計画策定計算部は、発電プラントの発電計画を策定するにあたり、前記乖離要因分類モデル分析部で得た前記スケジュールパターンについて今回発電計画策定時のプラント環境値と類似ケースを検索し、該当ケースがあれば登録したスケジュールパターンを使用して計算結果を発電プラントの発電計画として出力し、該当ケースがない場合には、予め入力された条件とモデルを用いて発電プラントの発電計画とすることを特徴とする発電計画策定システム。
【請求項3】
請求項1または請求項2に記載の発電計画策定システムであって、
予め入力された条件、モデルは、発電プラントの定数・カーブデータ、運転員要求、策定計算ロジックであることを特徴とする発電計画策定システム。
【請求項4】
請求項1に記載の発電計画策定システムであって、
前記操作実績比較部は、前記発電計画策定計算部の策定結果と、運転員操作実績として所内設備状態の現在値、及び運転員の操作による設備の起動・停止所要時間の実績を比較して乖離要因とすることを特徴とする発電計画策定システム。
【請求項5】
請求項1に記載の発電計画策定システムであって、
前記乖離要因分類モデル分析部は、前記乖離要因に対して、発電プラントの内部環境値、発電プラントの外部環境値、操作実績の情報を用いて乖離要因を解析・特定し、乖離要因毎に前記スケジュールパターンを作成することを特徴とする発電計画策定システム。
【請求項6】
請求項1に記載の発電計画策定システムであって、
発電計画策定システムは、発電プラントの状態値を取得する取得部と、起動・停止時刻,要求出力(発電電力量)を入力する入力部と、発電計画策定に要するプログラム、プラント設備状態値、操作実績、乖離要因分類モデルの解析用データと、スケジュールパターンとを格納する記憶部とを備えることを特徴とする発電計画策定システム。
【請求項7】
請求項6に記載の発電計画策定システムであって、
発電計画策定結果と実績結果とそれぞれのプラント状態とを比較して乖離発生のフェーズを特定し、特定したフェーズに対して乖離発生の要因を、分類モデル乖離分析用データを用いて分類モデルによる解析から推定を行うことを特徴とする発電計画策定システム。
【請求項8】
計算機を用いて実現される発電計画策定方法であって、
前記計算機は、予め入力された条件とモデルを用いて発電プラントの発電計画を策定し、前記策定した発電計画に基づいて発電プラントを運転したときの操作実績を、前記発電計画と比較し、前記比較により乖離が生じている乖離要因について分析し、乖離要因を解消することができるスケジュールパターンを得、少なくとも前記策定した発電計画と前記スケジュールパターンを前記計算機外に提示することを特徴とする発電計画策定方法。
発明の詳細な説明
【技術分野】
【0001】
本発明は、発電計画策定システム並びに発電計画策定方法に関する。
続きを表示(約 1,600 文字)
【背景技術】
【0002】
従来の発電プラントでは、発電計画策定システムから出力されたデータを元に運転員が設備の起動および停止操作を実施し、プラントの運用を行っている。
【0003】
発電計画策定システムとは、プラントにおける発電機および関連設備の起動タイミングを定める発電計画の策定用に用いられる装置および策定方法であり、これまでに策定精度の向上を目的として様々な発明がなされている。例えば特許文献1では、設備温度などの物理量を取得するための取得部を設け、取得したデータを元に個々の設備の起動条件を満たす時刻を予測し、発電プラントの起動・停止予定時刻を計算している。また、特許文献2では、プラントに存在する燃料基地における燃料在庫量の推移を予測し、結果に基づいて燃料在庫量の下限値を侵さない様に発電計画策定を実施する手法を提案している。
【先行技術文献】
【特許文献】
【0004】
特開2016-156306号公報
特開2018-063546号公報
【発明の概要】
【発明が解決しようとする課題】
【0005】
発電所では、発電計画策定システムにより出力された結果を元に運転員が操作を実施している。しかしながら、プラント内部環境値(設備寿命)の変化や、外部環境値(外気温度、天候)等によるプラント状態の変化や、プラント特有の運用方法の変化が原因で、策定結果を無視した操作を実行していることもあり、策定結果と操作実績の間で乖離があるのが実状である。
【0006】
加えて、今後は電力改革に伴い、発電計画策定方法には、そのような状況下でも高い精度で電力需要状況やプラント状態に応じた策定結果を出力可能になることが要求される。
【0007】
しかしながら、特許文献1、特許文献2のような予測による発電計画策定方法では、実操作と乖離が発生する可能性を包含していることから運用側の要求を局所的にしか満足することができず、状況に応じた柔軟な発電計画を策定できないことに加えて、策定結果に沿った操作を実行できないといった課題がある。
【課題を解決するための手段】
【0008】
以上のことから本発明においては。「予め入力された条件とモデルを用いて発電プラントの発電計画を策定する発電計画策定計算部と、発電計画策定部で策定した発電計画に基づいて発電プラントを運転したときの操作実績を、発電計画と比較する操作実績比較部と、操作実績比較部での比較により乖離が生じている乖離要因について分析し、乖離要因を解消することができるスケジュールパターンを得る乖離要因分類モデル分析部と、少なくとも発電計画策定計算部で策定した発電計画と乖離要因分類モデル分析部で得たスケジュールパターンを提示する出力部を備えることを特徴とする発電計画策定システム。」としたものである。
【0009】
また本発明においては。「計算機を用いて実現される発電計画策定方法であって、計算機は、予め入力された条件とモデルを用いて発電プラントの発電計画を策定し、策定した発電計画に基づいて発電プラントを運転したときの操作実績を、発電計画と比較し、比較により乖離が生じている乖離要因について分析し、乖離要因を解消することができるスケジュールパターンを得、少なくとも策定した発電計画とスケジュールパターンを計算機外に提示することを特徴とする発電計画策定方法。」としたものである。
【発明の効果】
【0010】
本発明における発電計画策定方法では、多様な状況下における運転実績を計算に反映することで、運転員に対してプラント状態の変化や運用方法の変化を考慮した発電計画を出力できる。
(【0011】以降は省略されています)
この特許をJ-PlatPat(特許庁公式サイト)で参照する
関連特許
株式会社日立製作所
鉄道車両
17日前
株式会社日立製作所
放射線モニタ
10日前
株式会社日立製作所
ガス分離システム
17日前
株式会社日立製作所
形状制御システム
1か月前
株式会社日立製作所
調停案提示システム
18日前
株式会社日立製作所
部品管理装置及び方法
24日前
株式会社日立製作所
ソフトウェア生成システム
27日前
株式会社日立製作所
署名照合システム及び方法
4日前
株式会社日立製作所
データ変換装置および方法
11日前
株式会社日立製作所
情報処理装置、情報処理方法
26日前
株式会社日立製作所
訓練システムおよび訓練方法
1か月前
株式会社日立製作所
管理システムおよび管理方法
1か月前
株式会社日立製作所
情報処理装置及び情報処理方法
1か月前
株式会社日立製作所
費用対効果算出方法および装置
1か月前
株式会社日立製作所
回転電機および電動機システム
1か月前
株式会社日立製作所
情報処理装置及び情報処理方法
1か月前
株式会社日立製作所
電力変換器およびインバータ装置
1か月前
株式会社日立製作所
情報処理システム、及び予測方法
1か月前
株式会社日立製作所
物体検出装置および物体検出方法
4日前
株式会社日立製作所
治療効果予測システムおよび方法
18日前
株式会社日立製作所
蒸発乾固装置および蒸発乾固方法
25日前
株式会社日立製作所
物流計画システム及び物流計画方法
1か月前
株式会社日立製作所
計算機システム及びデータ検索方法
1か月前
株式会社日立製作所
計算機システム及びデータ送信方法
5日前
株式会社日立製作所
昇降機システム及び昇降機制御方法
1か月前
株式会社日立製作所
データ出力装置およびデータ出力方法
1か月前
株式会社日立製作所
計算機システム及び障害対処支援方法
18日前
株式会社日立製作所
情報処理システム、及び情報処理方法
26日前
株式会社日立製作所
情報処理システム、及び情報処理方法
24日前
株式会社日立製作所
設計図書のチェックシステムおよび方法
1か月前
株式会社日立製作所
故障要因分析装置及び故障要因分析方法
25日前
株式会社日立製作所
圧延設定支援装置及び圧延設定支援方法
17日前
株式会社日立製作所
半導体装置および半導体装置の駆動方法
27日前
株式会社日立製作所
説明情報生成装置及び説明情報生成方法
25日前
株式会社日立製作所
仮想空間生成装置および仮想空間生成方法
1か月前
株式会社日立製作所
臨床試験計画装置および臨床試験計画方法
26日前
続きを見る
他の特許を見る