TOP
|
特許
|
意匠
|
商標
特許ウォッチ
Twitter
他の特許を見る
10個以上の画像は省略されています。
公開番号
2025147951
公報種別
公開特許公報(A)
公開日
2025-10-07
出願番号
2024048479
出願日
2024-03-25
発明の名称
半導体装置および半導体装置の駆動方法
出願人
株式会社日立製作所
代理人
弁理士法人第一国際特許事務所
主分類
H02M
1/00 20070101AFI20250930BHJP(電力の発電,変換,配電)
要約
【課題】半導体装置を構成するMOS制御ダイオード(MOSD)のゲート駆動に異常が発生した場合であっても、MOSDを含む半導体装置の損失を増加させることなく、この半導体装置の動作を安定化させる。
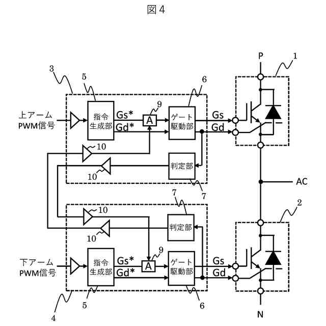
【解決手段】半導体装置として、第一のゲート信号が自らのゲート端子に印加されるスイッチング素子と、第二のゲート信号が自らのゲート端子に印加されスイッチング素子の主端子に自らのアノード端子を接続して当該スイッチング素子と直列に接続されるダイオードとから構成され、ダイオードは、第二のゲート信号が印加されることにより、当該ダイオード内部の電荷量が多く順方向電圧が小さい第一の状態と当該ダイオード内部の電荷量が少なく順方向電圧が大きい第二の状態とが切り替わる特性を有し、ダイオードのゲート端子の電圧状態に応じて第一のゲート信号によるスイッチング素子のスイッチングが制御される。
【選択図】図4
特許請求の範囲
【請求項1】
第一のゲート信号が自らのゲート端子に印加されるスイッチング素子と、
第二のゲート信号が自らのゲート端子に印加され、前記スイッチング素子の主端子に自らのアノード端子を接続して当該スイッチング素子と直列に接続されるダイオードとから構成され、
前記ダイオードは、前記第二のゲート信号が印加されることにより、当該ダイオード内部の電荷量が多く順方向電圧が小さい第一の状態と当該ダイオード内部の電荷量が少なく順方向電圧が大きい第二の状態とが切り替わる特性を有し、
前記ダイオードの前記ゲート端子の電圧状態に応じて前記第一のゲート信号による前記スイッチング素子のスイッチングが制御される
ことを特徴とする半導体装置。
続きを表示(約 1,400 文字)
【請求項2】
請求項1に記載の半導体装置であって、
前記ダイオードの前記ゲート端子の電圧状態は前記第二のゲート信号の生成に係る指令信号から推定される
ことを特徴とする半導体装置。
【請求項3】
請求項1または2に記載の半導体装置であって、
前記ダイオードの前記ゲート端子の電圧状態に応じて前記スイッチング素子のターンオンの可否が判定され、当該ターンオンの否の判定時には前記第一のゲート信号の立ち上がりが禁止される
ことを特徴とする半導体装置。
【請求項4】
請求項3に記載の半導体装置であって、
前記ダイオードの前記ゲート端子の電圧状態と前記第一のゲート信号または当該第一のゲート信号の生成に係る指令信号との論理演算により前記スイッチング素子のターンオンの可否が判定される
ことを特徴とする半導体装置。
【請求項5】
請求項1または2に記載の半導体装置を用いて、前記スイッチング素子を第二のスイッチング素子とし、前記ダイオードを第一のダイオードとし、
前記第二のスイッチング素子と同種の素子である第一のスイッチング素子に、前記第一のダイオードが逆並列に接続されて上アームが構成され、
前記第二のスイッチング素子に、前記第一のダイオードと同種の素子である第二のダイオードが逆並列に接続されて下アームが構成され、
前記上アームと前記下アームとが直列に接続された半導体装置。
【請求項6】
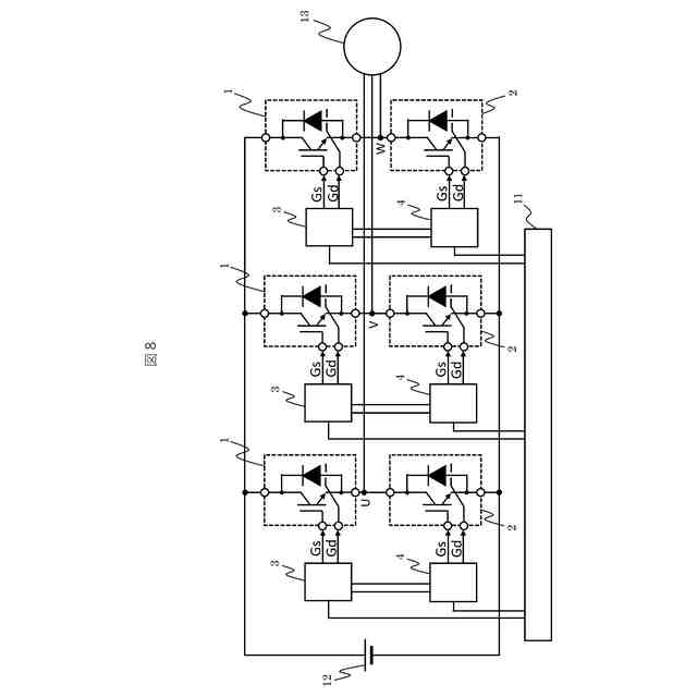
請求項5に記載の半導体装置を2列または3列にして並列に接続し、
前記2列または前記3列の前記上アームの正極側と前記下アームの負極側を直流側端子とし、
前記2列または前記3列の前記上アームと前記下アームとの接続点それぞれを交流側端子として電力変換を行う半導体装置。
【請求項7】
請求項6に記載の半導体装置を搭載した鉄道車両。
【請求項8】
第一のゲート信号が自らのゲート端子に印加されるスイッチング素子と、
第二のゲート信号が自らのゲート端子に印加され、前記スイッチング素子の主端子に自らのアノード端子を接続して当該スイッチング素子と直列に接続されるダイオードとから構成される半導体装置の駆動方法であって、
前記ダイオードの前記ゲート端子に前記第二のゲート信号を印加して、当該ダイオード内部の電荷量が多く順方向電圧が小さい第一の状態と当該ダイオード内部の電荷量が少なく順方向電圧が大きい第二の状態とを切り替え、
前記第一のゲート信号による前記スイッチング素子のスイッチングを、前記ダイオードの前記ゲート端子の電圧状態に応じて制御する
ことを特徴とする半導体装置の駆動方法。
【請求項9】
請求項8に記載の半導体装置の駆動方法であって、
前記ダイオードの前記ゲート端子の電圧状態を前記第二のゲート信号の生成に係る指令信号から推定する
ことを特徴とする半導体装置の駆動方法。
【請求項10】
請求項8または9に記載の半導体装置の駆動方法であって、
前記ダイオードの前記ゲート端子の電圧状態に応じて前記スイッチング素子のターンオンの可否を判定し、当該ターンオンの否を判定すると前記第一のゲート信号の立ち上がりを禁止する
ことを特徴とする半導体装置の駆動方法。
(【請求項11】以降は省略されています)
発明の詳細な説明
【技術分野】
【0001】
本発明は、半導体装置および半導体装置の駆動方法に関し、特に、パワー半導体素子を用いた半導体装置に好適である。
続きを表示(約 1,300 文字)
【背景技術】
【0002】
電力変換装置の高効率化のために,複数のゲートを持つマルチゲートのパワーデバイスの開発が進められ、また、同じく電力変換装置などのパワーエレクトロニクスに使用されるパワーデバイスとして、MOS(Metal-Oxide-Semiconductor)制御ダイオードが開発されている。
【0003】
このMOS制御ダイオード(以下、「MOSD」と略す)は、ダイオードに、MOS構造の絶縁ゲートを設け、このゲート電極(Gd)に電圧を印加することにより、内部の電荷量を制御できるようにしたデバイスである。
【0004】
また、MOSDは、ゲート電圧の制御により内部の電荷が多く導通損失が小さい導通モードと、内部の電荷が少なくリカバリ損失が小さいリカバリモードを切り替えることができ、低導通損失と低リカバリ損失を両立するデバイスである。
【0005】
特許文献1には、半導体装置を構成するスイッチングデバイスの主端子に直列に接続され、自らのゲート端子により内部の電荷量を制御するMOSDが示され、スイッチングデバイスのゲートGsとMOSDのゲートGdとはPWM信号によって所定の時間差を設けて制御される技術が開示されている。これにより、導通損失と逆回復(リカバリ)損失の双方の低減を図るものである。
【先行技術文献】
【特許文献】
【0006】
特開2015-204723号公報
【発明の概要】
【発明が解決しようとする課題】
【0007】
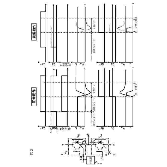
MOSDに関しては、自らのゲートGdがオンのときにリカバリすることでリカバリ損失を低減できるが、ゲートドライブ回路の異常等によりゲートGdがオフのときにリカバリ状態になると、損失増加と共に故障発生の懸念が生じるため、この状態を排除する必要がある。
【0008】
先の特許文献1には、対アーム同士でゲート端子の状態信号をやり取りすることの開示はなく、ゲートドライブ回路の異常等によりゲートGdが立ち上がらないことへの対応についてまでは示されていない。
【0009】
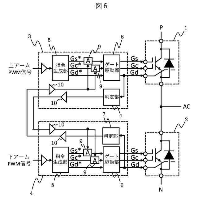
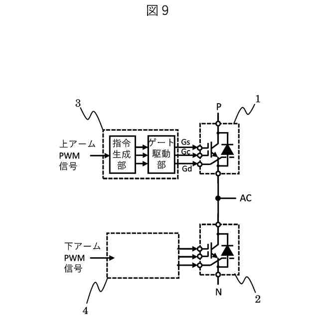
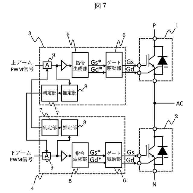
図9は、MOSDを逆並列に接続したデュアルゲートタイプのスイッチング素子を用いる対アーム(上アーム1および下アーム2)から成る半導体装置の現行のゲートドライブ手法を示す図である。
MOSDのゲートGdへのターンオン信号については、自アームのスイッチング素子のターンオフとそのデッドタイムから推定する。この手法では、ゲートドライブ回路(上アーム用3および下アーム用4)にPWM信号として入力する制御論理部(図示せず)からの信号の異常時やゲートドライブ回路自体の動作異常時には、MOSDのゲートGdにおける誤動作を回避することは困難である。
【0010】
そこで、本発明では、ゲートドライブ回路等の異常によりMOSDのゲートGdがオフの状態から立ち上がらない場合に、対アームのスイッチング素子のターンオンを禁止する技術を提供することを目的とする。
【課題を解決するための手段】
(【0011】以降は省略されています)
この特許をJ-PlatPat(特許庁公式サイト)で参照する
関連特許
株式会社日立製作所
形状制御システム
9日前
株式会社日立製作所
部品管理装置及び方法
今日
株式会社日立製作所
ソフトウェア生成システム
3日前
株式会社日立製作所
管理システムおよび管理方法
11日前
株式会社日立製作所
情報処理装置、情報処理方法
2日前
株式会社日立製作所
情報処理装置及び情報処理方法
7日前
株式会社日立製作所
費用対効果算出方法および装置
9日前
株式会社日立製作所
回転電機および電動機システム
7日前
株式会社日立製作所
情報処理システム、及び予測方法
8日前
株式会社日立製作所
蒸発乾固装置および蒸発乾固方法
1日前
株式会社日立製作所
電力変換器およびインバータ装置
11日前
株式会社日立製作所
物流計画システム及び物流計画方法
9日前
株式会社日立製作所
情報処理システム、及び情報処理方法
今日
株式会社日立製作所
データ出力装置およびデータ出力方法
11日前
株式会社日立製作所
情報処理システム、及び情報処理方法
2日前
株式会社日立製作所
設計図書のチェックシステムおよび方法
7日前
株式会社日立製作所
半導体装置および半導体装置の駆動方法
3日前
株式会社日立製作所
故障要因分析装置及び故障要因分析方法
1日前
株式会社日立製作所
説明情報生成装置及び説明情報生成方法
1日前
株式会社日立製作所
仮想空間生成装置および仮想空間生成方法
7日前
株式会社日立製作所
臨床試験計画装置および臨床試験計画方法
2日前
株式会社日立製作所
統合装置、統合方法、および統合プログラム
11日前
株式会社日立製作所
テスト支援システム、および、テスト支援方法
9日前
株式会社日立製作所
在室人数計測システムおよび在室人数計測方法
11日前
株式会社日立製作所
ノイズ低減方法、装置、電子機器及び可読媒体
8日前
株式会社日立製作所
制御設計支援方法、および、制御設計支援装置
3日前
株式会社日立製作所
二次電池用制御装置および二次電池の制御方法
11日前
株式会社日立製作所
ドキュメント生成装置、ドキュメント生成方法
11日前
株式会社日立製作所
仮想化システム及び仮想化システムの制御方法
9日前
株式会社日立製作所
仮想化システム及び仮想化システムの制御方法
9日前
株式会社日立製作所
システム障害監視装置及びシステム障害監視方法
8日前
株式会社日立製作所
エレベーター、操作盤、エレベーターの制御方法
7日前
株式会社日立製作所
クラウドデータベースシステム及びデータ管理方法
2日前
株式会社日立製作所
制御システム、制御仲介装置、および制御仲介方法
11日前
株式会社日立製作所
解析回避機能検出システム及び解析回避機能検出方法
8日前
株式会社日立製作所
速度異常検出装置、乗客コンベア及び速度異常検出方法
2日前
続きを見る
他の特許を見る