TOP
|
特許
|
意匠
|
商標
特許ウォッチ
Twitter
他の特許を見る
10個以上の画像は省略されています。
公開番号
2025163895
公報種別
公開特許公報(A)
公開日
2025-10-30
出願番号
2024067514
出願日
2024-04-18
発明の名称
設計支援装置、設計支援方法およびプログラム
出願人
株式会社日立製作所
代理人
弁理士法人湘洋特許事務所
主分類
G06F
30/10 20200101AFI20251023BHJP(計算;計数)
要約
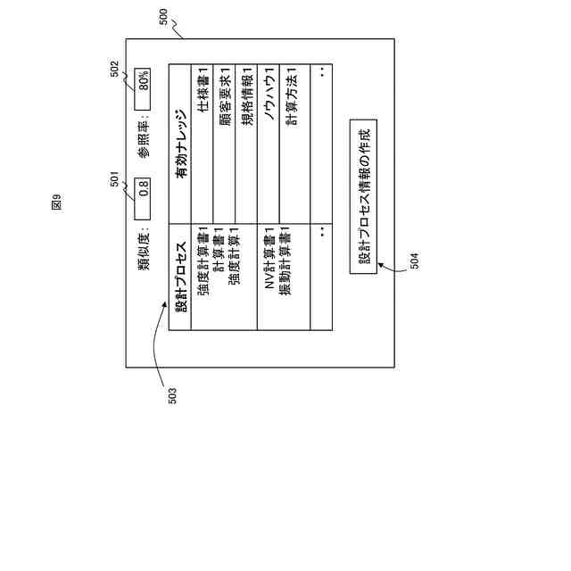
【課題】成果物の作成時に参照され得る有効なナレッジを設計時の設計者に提示することで、製品設計の時短化および高品質化を支援することができる。
【解決手段】 設計支援装置は、所定の類似度以上の成果物情報同士をグループ化することで、成果物情報の作成段階を示す設計プロセスを抽出し、前記類似度以上および成果物情報の作成時に参照した割合を示す所定の参照率以上の参照情報を成果物情報の作成時に参照され得る有効ナレッジとして設計プロセスに関連付け、設計プロセスを時系列順に並べた設計プロセス情報を作成し、設計プロセス情報と、成果物情報の操作履歴と、に基づいて、設計者による成果物情報の設計プロセスを推定し、推定された設計プロセスに関連付けられている有効ナレッジの表示指示を受け付ける画面情報を設計者が使用する端末装置に表示する。
【選択図】図1
特許請求の範囲
【請求項1】
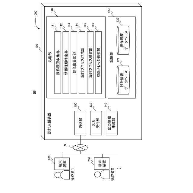
所定の類似度以上の成果物情報同士をグループ化することで、当該成果物情報の作成段階を示す設計プロセスを抽出し、前記類似度以上および前記成果物情報の作成時に参照した割合を示す所定の参照率以上の参照情報を前記成果物情報の作成時に参照され得る有効ナレッジとして前記設計プロセスに関連付け、当該設計プロセスを時系列順に並べた設計プロセス情報を作成する設計プロセス作成部と、
前記設計プロセス情報と、成果物情報の操作履歴と、に基づいて、設計者による前記成果物情報の設計プロセスを推定する設計プロセス推定部と、
推定された前記設計プロセスに関連付けられている前記有効ナレッジの表示指示を受け付ける画面情報を前記設計者が使用する端末装置に表示する出力情報生成部と、を備える
ことを特徴とする設計支援装置。
続きを表示(約 1,500 文字)
【請求項2】
請求項1に記載の設計支援装置であって、
前記設計者による前記有効ナレッジの表示指示を受け付けると、当該有効ナレッジに対応する情報をデータベースから検索する有効ナレッジ検索部をさらに備え、
前記出力情報生成部は、検索された前記有効ナレッジを前記端末装置に表示する
ことを特徴とする設計支援装置。
【請求項3】
請求項2に記載の設計支援装置であって、
前記有効ナレッジ検索部は、
前記設計プロセス情報を用いて、推定された前記設計プロセス、および、当該設計プロセスの次の設計プロセスに関連付けられている前記有効ナレッジを特定し、
前記出力情報生成部は、
特定された前記有効ナレッジの表示指示を受け付ける画面情報を前記端末装置に表示する
ことを特徴とする設計支援装置。
【請求項4】
請求項3に記載の設計支援装置であって、
前記有効ナレッジ検索部は、
推定された前記設計プロセスに関連付けられている前記有効ナレッジに類似する有効ナレッジを所定のデータベースから検索し、
前記出力情報生成部は、
前記有効ナレッジに類似する有効ナレッジの表示指示を受け付ける画面情報を生成し、前記端末装置に表示する
ことを特徴とする設計支援装置。
【請求項5】
請求項1に記載の設計支援装置であって、
設計者による操作対象情報への操作履歴を収集する操作履歴収集部と、
前記操作対象情報が更新可能か否かと、前記操作対象情報が開かれてから更新されるまでの期間と、に基づき、前記操作対象情報が前記成果物情報か前記参照情報かを分類する情報種類特定部と、をさらに備える
ことを特徴とする設計支援装置。
【請求項6】
請求項5に記載の設計支援装置であって、
前記操作履歴には、前記設計者の識別情報と、前記操作対象情報の識別情報と、前記操作対象情報を開いた日時と、前記操作対象情報の更新日時と、前記操作対象情報を閉じた日時と、が含まれる
ことを特徴とする設計支援装置。
【請求項7】
請求項5に記載の設計支援装置であって、
前記情報種類特定部は、
前記操作履歴を用いて、前記成果物情報の更新日時より手前の所定期間内に開かれていた前記参照情報を当該成果物情報に関連付ける
ことを特徴とする設計支援装置。
【請求項8】
請求項1に記載の設計支援装置であって、
tf-idf(Term Frequency-Inverse Document Frequency)に基づき前記成果物情報を数値ベクトル化し、得られた数値ベクトルを用いたコサイン類似度により、前記成果物情報同士の類似度を算出する類似度算出部をさらに備える
ことを特徴とする設計支援装置。
【請求項9】
請求項5に記載の設計支援装置であって、
前記出力情報生成部は、
前記操作対象情報が前記成果物情報か前記参照情報かを分類するための期間条件であって、前記操作対象情報を開いてから更新するまでの間隔日数の入力を受け付けるための画面情報を生成する
ことを特徴とする設計支援装置。
【請求項10】
請求項7に記載の設計支援装置であって、
前記出力情報生成部は、
前記成果物情報に関連付ける前記参照情報を特定するための期間条件であって、前記成果物情報の更新日時より手前の所定日数の入力を受け付けるための画面情報を生成する
ことを特徴とする設計支援装置。
(【請求項11】以降は省略されています)
発明の詳細な説明
【技術分野】
【0001】
本発明は、設計支援装置、設計支援方法およびプログラムに関する。
続きを表示(約 1,800 文字)
【背景技術】
【0002】
製品設計に係る成果物(例えば、計算書や図面など)の作成段階において、設計者は、参考にすべき資料(ナレッジ)を参照しながら成果物の作成を進める場合が多々ある。このような資料は、例えば、設計者自身が使用するコンピュータやファイルサーバなどに保存されているため、設計者は、これらの装置から目当ての資料を探して参照している。
【0003】
しかしながら、成果物に関連する有効なナレッジを検索するには相応の時間と労力がかかり、有効なナレッジがあっても最終的にそのナレッジに辿り着けない場合もある。設計プロセスの実施時には、有効なナレッジの検索について、このような課題がある。
【0004】
なお、特許文献1には、有効なナレッジを利用する装置に関し、過去の業務の処理手順と、利用したノウハウを蓄積し、それらを検索して利用する方法が開示されている。具体的には、特許文献1には、「本発明に係る緊急時対策業務支援装置1は、緊急対応の処理手順を文章化した業務ユニットを格納する業務フロー蓄積部11と、過去の緊急時の対応事例を文章化した業務ノウハウを格納する業務ノウハウ蓄積部12と、前記業務ユニット及び前記業務ノウハウの概念ベクトルを生成する概念ベクトル生成部22と、前記業務ノウハウの参照履歴を格納するログ蓄積部14と、前記概念ベクトルと前記参照履歴とに基づき、第1の業務ユニットに関連する第1の業務ノウハウを抽出する業務ノウハウ抽出部23と、前記第1の業務ノウハウからユーザが選択した業務ノウハウに関連する第2の業務ユニットを検索する業務ユニット検索部25と、を備える。」と記載されている。
【先行技術文献】
【特許文献】
【0005】
特開2012-190275号公報
【発明の概要】
【発明が解決しようとする課題】
【0006】
特許文献1の技術では、過去の業務フローとその業務で利用したノウハウを蓄積して概念ベクトル化し、概念ベクトルと参照履歴から関連するナレッジを抽出し、ユーザが選択した業務フローと関連する業務フローを抽出している。しかしながら、特許文献1の技術は、ユーザが選択した業務フローに関連する業務フローを抽出するものであり、設計の成果物を作成する際に参照される有効なナレッジをユーザに提示することは考慮されていない。そのため、特許文献1の技術では、上記の課題を解決することは難しいと考えられる。
【0007】
本発明は、上記課題に鑑みてなされたものであり、成果物の作成時に参照され得る有効なナレッジをユーザに提示することで、製品設計の時短化および高品質化を支援することを目的とする。
【課題を解決するための手段】
【0008】
本願は、上記課題の少なくとも一部を解決する手段を複数含んでいるが、その例を挙げるならば、以下のとおりである。上記の課題を解決する本発明の一態様に係る設計支援装置は、所定の類似度以上の成果物情報同士をグループ化することで、当該成果物情報の作成段階を示す設計プロセスを抽出し、前記類似度以上および前記成果物情報の作成時に参照した割合を示す所定の参照率以上の参照情報を前記成果物情報の作成時に参照され得る有効ナレッジとして前記設計プロセスに関連付け、当該設計プロセスを時系列順に並べた設計プロセス情報を作成する設計プロセス作成部と、前記設計プロセス情報と、成果物情報の操作履歴と、に基づいて、設計者による前記成果物情報の設計プロセスを推定する設計プロセス推定部と、推定された前記設計プロセスに関連付けられている前記有効ナレッジの表示指示を受け付ける画面情報を前記設計者が使用する端末装置に表示する出力情報生成部と、を備える。
【発明の効果】
【0009】
本発明によれば、成果物の作成時に参照され得る有効なナレッジを設計時の設計者に提示することで、製品設計の時短化および高品質化を支援することができる。
【0010】
なお、上記以外の課題、構成および効果は、以下の実施形態の説明により明らかにされる。
【図面の簡単な説明】
(【0011】以降は省略されています)
この特許をJ-PlatPat(特許庁公式サイト)で参照する
関連特許
他の特許を見る