TOP
|
特許
|
意匠
|
商標
特許ウォッチ
Twitter
他の特許を見る
10個以上の画像は省略されています。
公開番号
2025142891
公報種別
公開特許公報(A)
公開日
2025-10-01
出願番号
2024042493
出願日
2024-03-18
発明の名称
仮想化システム及び仮想化システムの制御方法
出願人
株式会社日立製作所
代理人
弁理士法人信友国際特許事務所
主分類
G06F
11/07 20060101AFI20250924BHJP(計算;計数)
要約
【課題】コンテナ型仮想化技術を用いた仮想化システムにおいて、アプリケーションで発生した異常への対応を迅速に行えるようにする。
【解決手段】本発明の一態様の仮想化システムが構築される制御サーバー100は、アプリ起動監視定義ファイルの記載内容に基づいて複数のアプリケーションApを起動させ、起動したアプリケーションApの異常終了時における対処を行うアプリケーション管理機構部12を備える。そして、アプリケーション管理機構部12は、アプリケーションApが実行されるアプリケーションコンテナ1の起動時にアプリケーションコンテナ1にマウントされ、アプリケーションコンテナ1のエントリポイントプロセスとして起動される。
【選択図】図1
特許請求の範囲
【請求項1】
複数のアプリケーションの起動に関する設定、及び、前記アプリケーションの異常終了時に取るべき対処内容が記載されたアプリ起動監視定義ファイルと、
前記アプリ起動監視定義ファイルの記載内容に基づいて複数の前記アプリケーションを起動させ、起動した前記アプリケーションの終了を検知し、前記アプリケーションの異常終了時における対処を行うアプリケーション管理機構部と、を備え、
前記アプリケーション管理機構部は、前記アプリケーションが実行されるアプリケーションコンテナが起動されることにより前記アプリケーションコンテナにマウントされ、前記アプリケーションコンテナのエントリポイントプロセスとして起動される
仮想化システム。
続きを表示(約 1,200 文字)
【請求項2】
複数の前記アプリケーションコンテナの監視を行う管理コンテナをさらに備え、
前記管理コンテナは、複数の前記アプリケーションコンテナを含むPodの起動時に前記Podにマウントされ、前記Podのエントリポイントプロセスとして起動される
請求項1に記載の仮想化システム。
【請求項3】
前記アプリケーションコンテナの異常終了時に取るべき対処内容が定義されたPod定義ファイルをさらに備え、
前記管理コンテナは、前記Pod定義ファイルに定義された対処内容に基づいて、前記アプリケーションコンテナの異常終了時の対処を行う
請求項2に記載の仮想化システム。
【請求項4】
前記アプリケーション管理機構部は、前記アプリケーションの異常終了をイベントとして前記管理コンテナに出力し、
前記管理コンテナは、前記イベントに記載された内容に基づいて、前記Pod定義ファイルを参照して、前記アプリケーションコンテナの異常終了時の対処を行う
請求項3に記載の仮想化システム。
【請求項5】
前記管理コンテナの監視、及び、前記管理コンテナから送信される前記イベントに記載された内容に基づいて、前記イベントに対する対処を行うサービス実行管理基盤部をさらに備え、
前記管理コンテナは、前記アプリケーション管理機構部から入力された前記イベントを前記サービス実行管理基盤部に転送する
請求項4に記載の仮想化システム。
【請求項6】
前記アプリケーションコンテナ、前記管理コンテナ及び前記Podが実行されるコンテナホストにおける異常発生の有無を監視して、検出した異常の内容を前記イベントとして前記サービス実行管理基盤部に出力するイベント監視部をさらに備える
請求項5に記載の仮想化システム。
【請求項7】
前記イベントは、前記イベントの識別子、前記イベントの種別の情報、及び、前記イベントの内容を示す文字列を含む
請求項6に記載の仮想化システム。
【請求項8】
前記イベントは、前記イベントに対する対処の緊急度を示すイベントレベルの情報をさらに含み、
前記サービス実行管理基盤部は、高い前記イベントレベルが付与された前記イベントに対する対処を優先的に行う
請求項7に記載の仮想化システム。
【請求項9】
前記アプリケーション管理機構部は、前記アプリケーションコンテナにマウントされる前において、前記コンテナホスト上に実行ファイルとして実装される
請求項8に記載の仮想化システム。
【請求項10】
前記管理コンテナは、前記Podにマウントされる前において、前記管理コンテナが起動するコンテナホスト上に実行ファイルとして実装される
請求項9に記載の仮想化システム。
(【請求項11】以降は省略されています)
発明の詳細な説明
【技術分野】
【0001】
本発明は、仮想化システム及び仮想化システムの制御方法に関する。
続きを表示(約 2,100 文字)
【背景技術】
【0002】
近年、複雑な要件を単一の(モノリシックな)アプリケーションで実現するのではなく、小さな機能ごとに独立した「マイクロサービス」の組み合わせによってシステムを実現する「マイクロサービスアーキテクチャ」が普及している。マイクロサービスアーキテクチャを採用することによって、マイクロサービス単位で新規機能の追加や変更が可能となるため、システムへの機能の追加や変更が容易に行えるようになる。したがって、マイクロサービスアーキテクチャを用いることにより、システムを段階的に拡張することも可能となる。
【0003】
マイクロサービスアーキテクチャは、例えば、コンテナ型仮想化技術によって実現できる。コンテナは、仮想化技術によってホストOS(Operating System)上に形成される独立した空間であるため、各独立空間において「マイクロサービス」として管理される各アプリケーションの実行環境を構築することができる。
【0004】
コンテナを用いて構築されたシステムにおける異常(障害)は、ポーリング等の手法を用いて検知が可能である。例えば、特許文献1には、異常検知部を備えた仮想化システム障害分離装が記載されている。特許文献1に記載の異常検知部は、ポーリングによって所定のコマンドをワーカーノードのPodに送信し、コマンドに応じてPodから返信されてくる応答結果により正常か異常かを判断する。
【先行技術文献】
【特許文献】
【0005】
国際公開第2023/275985号
【発明の概要】
【発明が解決しようとする課題】
【0006】
ところで、コンテナの技術を用いて仮想化されるシステムが、例えば産業インフラストラクチャ等における制御システムである場合、ポーリングによる異常検知手法では、異常検知に求められる要件が満たされない場合がある。産業インフラストラクチャ等において稼働する制御システムにおいては、異常の発生を即時に検知し、該異常への対策を迅速に行うことにより、利用者の安全を確保することが求められるためである。しかし、特許文献1には、ポーリング以外の異常検知手法については記載されていない。
【0007】
本発明は、上記の状況を考慮してなされたものであり、本発明の目的は、コンテナ型仮想化技術を用いた仮想化システムにおいて、アプリケーションで発生した異常への対応を迅速に行えるようにすることにある。
【課題を解決するための手段】
【0008】
本発明の一態様に係る仮想化システムは、複数のアプリケーションの起動に関する設定、及び、アプリケーションの異常終了時に取るべき対処内容が記載されたアプリ起動監視定義ファイルと、アプリ起動監視定義ファイルの記載内容に基づいて複数のアプリケーションを起動させ、起動したアプリケーションの終了を検知し、アプリケーションの異常終了時における対処を行うアプリケーション管理機構部と、を備える。そして、アプリケーション管理機構部は、アプリケーションが実行されるアプリケーションコンテナが起動されることによりアプリケーションコンテナにマウントされ、アプリケーションコンテナのエントリポイントプロセスとして起動される。
【発明の効果】
【0009】
本発明の少なくとも一態様によれば、コンテナ型仮想化技術を用いた仮想化システムにおいて、アプリケーションにおいて発生した異常への対応を迅速に行えるようになる。
上記した以外の課題、構成及び効果は、以下の実施形態の説明により明らかにされる。
【図面の簡単な説明】
【0010】
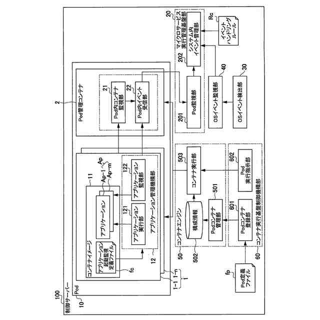
本発明の一実施形態に係る制御サーバーの機能構成例を示すブロック図である。
本発明の一実施形態に係る制御サーバーのハードウェア構成例を示すブロック図である。
本発明の一実施形態に係るアプリ起動監視定義ファイルにおけるアプリケーション起動順の設定が行われる設定画面の表示例を示す図である。
本発明の一実施形態に係るアプリ起動監視定義ファイルにおけるFBポリシーの設定が行われる設定画面の表示例を示す図である。
本発明の一実施形態に係るPod定義ファイルの設定が行われる設定画面の表示例を示す図である。
本発明の一実施形態に係るイベントハンドリングルールの設定が行われる設定画面の表示例を示す図である。
本発明の一実施形態に係るPod及びコンテナの起動時における制御処理の手順の例を示すフローチャートである。
本発明の一実施形態に係るアプリケーション管理機構部による制御処理の手順の例を示すフローチャートである。
本発明の一実施形態に係るPod管理コンテナによる制御処理の手順の例を示すフローチャートである。
本発明の一実施形態に係るマイクロサービス実行管理基盤部20による制御処理の手順の例を示すフローチャートである。
【発明を実施するための形態】
(【0011】以降は省略されています)
この特許をJ-PlatPat(特許庁公式サイト)で参照する
関連特許
株式会社日立製作所
鉄道車両
16日前
株式会社日立製作所
半導体装置
24日前
株式会社日立製作所
形状制御システム
10日前
株式会社日立製作所
ガス濃度測定装置
16日前
株式会社日立製作所
部品管理装置及び方法
1日前
株式会社日立製作所
欠陥知識循環システム
1か月前
株式会社日立製作所
計画装置および計画方法
22日前
株式会社日立製作所
ソフトウェア生成システム
4日前
株式会社日立製作所
訓練システムおよび訓練方法
12日前
株式会社日立製作所
管理システムおよび管理方法
12日前
株式会社日立製作所
情報処理装置、情報処理方法
3日前
株式会社日立製作所
費用対効果算出方法および装置
10日前
株式会社日立製作所
人物特性推定システム及び方法
1か月前
株式会社日立製作所
情報処理装置及び情報処理方法
12日前
株式会社日立製作所
情報処理装置及び情報処理方法
8日前
株式会社日立製作所
回転電機および電動機システム
8日前
株式会社日立製作所
状態検知装置及び状態検知方法
24日前
株式会社日立製作所
情報処理システム、及び予測方法
9日前
株式会社日立製作所
電力変換器およびインバータ装置
12日前
株式会社日立製作所
情報処理システム、情報処理方法
1か月前
株式会社日立製作所
電子機器および電子機器制御方法
24日前
株式会社日立製作所
再エネ調達手段選定支援システム
1か月前
株式会社日立製作所
蒸発乾固装置および蒸発乾固方法
2日前
株式会社日立製作所
建物管理システム及び建物管理方法
22日前
株式会社日立製作所
物流計画システム及び物流計画方法
10日前
株式会社日立製作所
計算機システム及びデータ検索方法
12日前
株式会社日立製作所
ログ抽出方法及びログ抽出システム
1か月前
株式会社日立製作所
昇降機システム及び昇降機制御方法
12日前
株式会社日立製作所
音声分析システム及び音声分析方法
16日前
株式会社日立製作所
Webページ更新管理装置及び方法
16日前
株式会社日立製作所
障害対応システム及び障害対応方法
1か月前
株式会社日立製作所
異常検知システム及び異常検知方法
22日前
株式会社日立製作所
図面整合システムおよび図面整合方法
1か月前
株式会社日立製作所
通貨管理システム、及び通貨管理方法
16日前
株式会社日立製作所
データ出力装置およびデータ出力方法
12日前
株式会社日立製作所
電力監視システムおよび電力監視方法
22日前
続きを見る
他の特許を見る